SIEの新型携帯ゲーム機と思われる特許
(19)【発行国】日本国特許庁(JP)
(12)【公報種別】公開特許公報(A)
(11)【公開番号】特開2017-37371(P2017-37371A)
(43)【公開日】平成29年2月16日(2017.2.16)
(54)【発明の名称】操作装置
(21)【出願番号】特願2015-156480(P2015-156480)
(22)【出願日】平成27年8月6日(2015.8.6)
(71)【出願人】
【識別番号】310021766
【氏名又は名称】株式会社ソニー・インタラクティブエンタテインメント
(12)【公報種別】公開特許公報(A)
(11)【公開番号】特開2017-37371(P2017-37371A)
(43)【公開日】平成29年2月16日(2017.2.16)
(54)【発明の名称】操作装置
(21)【出願番号】特願2015-156480(P2015-156480)
(22)【出願日】平成27年8月6日(2015.8.6)
(71)【出願人】
【識別番号】310021766
【氏名又は名称】株式会社ソニー・インタラクティブエンタテインメント
PlayStation Vita Wi-Fiモデル ブラック (PCH-2000ZA11)
posted with amazlet at 17.02.17
ソニー・コンピュータエンタテインメント (2013-10-10)
売り上げランキング: 59
売り上げランキング: 59











チョニーダム
行きます!
ゴミクズ.はちま起稿!(´・ω・`)
なんかダサくね
まあスイッチよりはましだと思うけどさあ
無慈悲やでー
ガチであるなこれは
攻めるなぁソニーwwww
まとめブログなんだったら発明の内容をよく読んで内容を書けよ
リモプ民としては早く発売してほしい
性能は月とスッポン
死ねふじょし
特許がそのまま本体デザインになるわけでもないし気長に待つか
やったぜ
なんかダサくね
スイッチ買った方がまし
楽しみだよな
(22)【出願日】平成27年8月6日(2015.8.6)
Switch 平成28年6月10日
なるほど、スイッチがパクりハードだったわけだww
性能軽視のクソギミックはいらないんだ
悪いな!(´・ω・`)
俺は野郎(男)だ!(´・ω・`)
テメーもいい年こいてゲームやってんなクズ!(´・ω・`)
親を悲しませるなクズ!(´・ω・`)
ちなみに、SCEによるこの構成の携帯機の出願はPSPのころから何例も出てるので、
本気でルーツをたどるならもっとずっと昔の話になるわw
廉価版Vitaかな
ははは、スイッチなんてゴミですら商品化してるんだからよっぽど希望あるよww
消費電力面でネックになりそうだが出来れば有機ELでオナシャス
スイッチは据え置きなんだろ?
そんなのDSでも割れるわw
ブヒーダム
逝きます!
情報待ちだな
そして出願日見てもSwitchの発表前だからSwitchのパクリでは無い。
いつもパクってばかりだなソニーはww
1度くらいオリジナルやってみろよ。任天堂のパクリ以外の事やってみろよww
特許申請するってことは、研究は継続しててやる気はあるってことだし。
実際に販売するかどうかは解らんけど。
携帯機の形なんてどう転んでも後はL2R2足したVitaみたいな形にしかならんのだし
こんなゴミハード誰も買わん
ボタン数も申し分ないし
ゴキブリホイホイに入れて供養したれ
何これwwwwwwwwww
とはいえ、この種の出願で用いる図面としては極端に具体的かつ整ったものだなあとは言える。
普通はもっとポンチ絵で済ますもんだよ。
具体的すぎると権利を主張できる範囲が逆に減っちゃうこともあるからね。
俺ははちまの最後の希望!(´・ω・`)
部品をある程度VITAと共用すれば安くなるだろうし
機能美こそが美しい
この図面だけ見ても、接続部の強度はSWITCH以上ってわかっちゃうんだよなあ・・・
クソニーの携帯機って勝ちハードになったこと一回もないけどな
3DSの後継機作ってないんでしょ?
あ、このままの図で出ると思ってんの?
NXの特許の図見てこいよw
エクスペリアでvitaOS動かしてなんちゃってvitaを作って
次世代機を専用機かスマホにするか決めるのにユーザーの反応を見るのか?
試しにNXの特許の絵を見てみたら笑えたw
その割にはVitaちゃんがいつまでも生きててWiiUと3DSが息してませんけど…w
3DSはモンハンとポケモン出るときだけソンビモードになるけどねww
普段から特許の図面見てるとさ、製品化前提のデザインと出願用の略図の違いって普通にわかっちゃうのよ
スマホにつけるんだろうけどスイッチみたいやね。PSP2早よ。
だってこれテレビに出力できないじゃん
周辺機器だったら取り外してる図やどうやって取り付けてるかの図とかもあるはずなんだよなぁ
それに本体部分にも色々書いてあるしね、コレ
スイッチより高性能、価格も安いとなるともうスイッチ終わるwww
でもこれはスマホに付けるコントローラーみたいに見える
本当はスイッチこういうふうに作りたかったんじゃね?
割とマジで
今じゃ考え直して出さないだろ
出力さえありゃ出来るでしょw
PSPでもできてたんだからw
(´・ω・`)つ>>35
Switchが
特許取得日見るとSwitchよりもだいぶ前なんですがそれは…
ここからきれいな形にまとめて携帯機出してほしいわ。グリップの握り込みボタンはL3R3の代用だろうな
全タイトルを対応させていくならすでに普及しているスマホでソフト出せばいいし考えたなあ
ようは、vitaみたいな通常の携帯機に持ちやすい
据え置きのDS4のグリップつけたような感じか・・・・・・・・
任天堂みたいな奇形ハードはやめてほしいな流石に
特許の出願書類は「仕様書」ではないんですよ
そもそも「テレビ出力できる」ってのは特許claimの対象にならない
10倍以上の差がある企業になんで勝てると思ったんだろう
Switchより前に登録して辞めたんだなつまり・・・
アジアは意外と携帯機需要あるんだっけ?
これは確かに携帯ハードだなぁ
スイッチには勝てないだろ。
18禁解禁して美少女が股をなめ合うレズゲーでも出したら?
正直ヴィータとかいうオカマ臭い名前が大嫌いだったから
PSP2が良いと思う人はgood押してくれ
小型モーターで効率的に振動を伝達させるために本体との接続部が特徴となってる。
このまま出ないでしょ
特許の絵から製品版が全然違うのは普通だしね
恐らくPSVRでも使うことを想定してる
豚ってVita=ギャルゲーとか言ってるけど
豚がギャルゲーしか興味なくて注目してないだけじゃねって前から思ってたわ・・
俺のVitaにギャルゲーなんて無えよ
だから言ったじゃん
「これまで誰もやってないアイディアを閃いたと思ったら注意しろ
そこには誰もやらなかった理由があるのだ」
って
このコントローラーなら快適に使えるだろう
http://jp.ign.com/nintendo-switch/5472/news/nx
持ちやすそうだけど
Switchはギャルゲー以前にソフトないじゃん・・
ろんちワンツーSwitchとゼルダだけだろww
というより3DSで闘神都市とかスクールデイズの続編だした任天堂が何言ってんだよ
ソフトなさすぎてエ,ロゲーメーカーさえ受け入れたこと豚はお忘れ??
アナログキノコについてる○の存在だなあ
もうこの時点からDS4のスティックにリング凹みがついた理由が示唆されてる
デザインは真似されやすいから簡略化して出すのに
そうか?
スピーカーの位置が縦に上下のスマホってのも珍しいが
変なボタンも縦の上下に一つづつついてるし
イヤホンジャックなんかも横に付いてるのも珍しいな
でもゲーム屋のVITA売り場は街角の風_俗情報館みたいになってんじゃんw
新型携帯機っぽいやつの別の特許で押し込みLR3はとってるよ
んで、次は携帯ハードの任天堂様見習ってマネしてきたわけかwwww
惨めなクソニーwwwwww
ゴキブリこれで歓喜してるとかほんと毎回惨めだよなwwww
今年来るか
ボロッチはぽーいw
昔のソニーならブヒッチ発売日直前で発表する嫌がらせしそうなもんだがw
まああの凹みはしょうじき
PSのアナログは使いにくくて箱○コンのステックが凹みあってフィット感あったから
そこを頂いたんだろな・・ッて感じだろ・・箱は糞だがパットだけは優秀だったし
SIEがスマホゲーム出すしそういう連携あっても良いかもな
そもそも豚じゃないから街角の風_俗情報館なんかに出入りしないから知らんわ
ていう感想でいいんだよね?
そもそもこの特許の出願内容は形に関するものじゃないしゲーム機そのものでもない
振動デバイスの実装例の説明図でしかない
Wiiのフィリップス裁判でソニーの特許見てパクったからフィリップス関係無いって
任天堂自身が公式に認めた事実だからパクリ癖はもう治らんのだろうな
てゆーかこれゲーム機の出願じゃねーです
ボタンは足りてるだろうし
解像度ちょいとあげて通信の品質上げてりゃ文句なし
特許の出願プロセス知らんのかおまいは
クソニー大勝利じゃん
やったぜ
パッと見今までのと違いすぎて拒否反応でるが持ってみるとしっくりきそう
まぁこのままの形では出ないだろうけどさ
こういうのが出る辺り携帯ゲーム機の研究もずっとやってるんだろう
問題はスイッチより高性能なPS携帯機をいつ出すかだ
それかもう完全にスマホかタブレットにコントローラー挟み込むスタイルにするのか?
ブーちゃんスイッチ殺してしまうわ、すまんな
スイッチ完全に死亡するパターンじゃないコレ
クソvr←死んでる
クソステ4←スイッチの登場で死ぬ
ゴキブリも首吊って死んどけ
スマホがある以上どう頑張ってもそちらに客取られるし
PSVR使ってたら画面見えないしどうやって使うの?DS4の代用ってこと?
特許出願したのはSwitch発表するよりも大分前なんですがね…
マフィア梶田がスイッチの携帯機モードをデカいPSVITAでしたって言ってたし
中身以外どれも大差ないやろ
つまり中国企業のパクリ?
そういうのだったら取り外している図があっても良さそうじゃない?
それに液晶ついてる方もなんかボタンとかついてるし
PSPの時はデザイン優先でアレだったし、このくらいの方がいいかもな
25D1は何?HDMI?
コントローラーは着脱、合体可能
まだありそうだな
勿論PS次世代携帯機も買うw
やっぱ俺PS系や性能も良いハードの方が好きなんだよね
ゲーム進化の為にまたPSハードを応援しよw
一応3DSも持ってるが酷かったもんなー
ちゃんとゲーム機を正当進化させていってるとこを応援しないとまた和ゲーが暗黒時代に戻ってしまう
の
パ
ク
リ
一つ言うと
PSの初代が出てから任天堂いちどもゲーム市場PSに勝ってたこと無いんやで
マリナーズうったりWiiuも即効で消えちまった任天堂が死にかけてるのは”現実”だけどさ
一回でもせめてPSNやストアにくらい勝とうぜ任天堂全体で
つかUMD復活させてくれ
アダルトUMD結構重宝してたんだよな
どこが?
どのように?
ボタン数で困ることはなさそうだ
出願Switchの前だよこれ
そんで出す気無えんだから
出ねえよ・・とりあえず出願にまでビビりすぎだろ
ネットでエ.ロ動画はいくらでもあるでしょ(´・ω・`)
このデザインで出すわけねーだろ
任天堂がパクったんだよ
Wiiの時みたいに
ゴキブリだけど
起源説主張とか恥ずかしいからやめて…
【出願日】平成27年8月6日(2015.8.6)
スマホにもタブレットにも上下に端子は付いてないよ
タブレットにもなる携帯機ならわかるが
アダルト機器のイメージ払拭するためUMD切ったのに意味なかったね
アイデアをパクったのがスイッチって事だな
このイン毛みたいな大量のキモイ矢印なんとかならんの??????????????????????
?
自分でゴキブリだよなんていう奴が
起源主張説とかやめてくれよw
据え置きとか面倒くさいねん
PS4買ったけど結局全然やってないし
ヤフー知恵袋で相談したら直接こちらで聞いた方が良いとアドバイス頂きました。
私の彼氏は「はちまの重鎮」とか「ザーク?」とかを名乗ってこちらのサイトに頻繁にコメントをしているみたいなのですが、内容がとても気持ち悪く精神的な病いなのかもと心配です。この前も直接本人にやめて欲しいとお願いしたら、「俺ははちまのエンターテイナーだから」とか訳のわからない事ばかり言います。2人でいる時も30分置きには「いちこめいちこめ…」とブツブツ言いスマホばかり気にしています。LINEでのやり取りも末尾に変な顔文字ばかり入れてきて、意味を聞いたら「癖だから」とか言います。とても恥ずかしくて友達にも相談できません。彼は過去に他県から転校して来た際に虐めにあったようで愛知に強い恨みを持っており、そのうち何か事件でも起こしそうです。何とか彼を救う事はできないでしょうか。夜も感じてる演技をするのも辛いし、もう彼と別れて長野の故郷に帰った方が良いのでしょうか。
撤退しろ
携帯機はE3でもうやんないんじゃねぇかなぁ
携帯機に力入れるなら日本とアジアに絞る感じにしてTGSで発表とかさ
任天堂や韓国の大嘘の起源主張じゃなくマジモンの起源だからなこれ
持ってるUMDが勿体無い
スイッチにつられたかぁ?
すぐ上に知恵遅れがいますねw
撤退してくれないとスイッチが死んじゃうから撤退してくださいってか?
仮に撤退したとしてもスイッチなんてゴミは箱に蹂躙されるわw
あるとしたらTGSか
今年のTGSには期待しとこ
だから
特許出願のデザインは実際のデザインと違うんだよ馬鹿
ワザワザ据え置きかって全然ヤってないやつとかww
そもそも据え置きでする時間やスタイルがないなら最初から買わねえだろ
嘘臭すぎて豚が臭うわ
流石にPS4のDL版動作ってのは無理かと
リモプ機能なら搭載されると思うが
だがデザインはブヒッチメントの方がかなり良いな
画面と直線的に結合してる方がスマートに見えるし安定性も良さそう
VITAの後継機じゃなくて新型タブレット出して対応させるのかもね
特許出願から一年半で自動公開されるんですよ
知恵遅れにはわからないかもしれないけど
特許出願は1年半後に公開されるものなんだからw
コンセプトデザインじゃなく、筐体の割り方なんかも線入ってるから試作までは行ってたんだろうね
2015年でここまでデザイン固まってるのに出てこないってことは、何らかの形式で販売されてもこれとは違ったデザインに成るだろうね
世界のキッズは据え置きでゲームやってると言うのにジャッ.プは知恵遅れかよ
リモプではたまにやってる
豚がどうだの発狂しすぎだろ据え置き厨
なんで君ら豚はすぐに無知晒すの?
恥ずかしくないの?
少しは自分の思考を疑って、疑問に思ったら調べろよ
VitaはエミュでPSPに完全対応してたしもんだいないだろ
これ専用のタブレットを出してタブレット部分だけ進化させていくとかはありそう
まあワリとそれはあるかも
シェアボタンあるし
それかPSNOW特化機めざしてたのかもしれん2015年だし
VitaはPSNOWするにも無線の規格のもんだいでダメだったし
スイッチがパクりなんやで・・・
パクったのは任天堂の方
Wiiリモコンの時と同じ
事実をねじ曲げないように
AIWA出身者にでも任せたの?
中身はスマホでいつでもアップグレード可能って事か・・w
そういう機能ついてたら真っ先に説明する図が有るだろw
ゴキちゃんアホだからもう少し泳がしとけよ
ストリーミングゲーで記録ストレージなしできる
NOW特化がた端末目指してたんだろコレ
家の中の決まった場所でテレビを付けないと出来ないハードとかそんな知恵遅れのような事したくないんで
射出成形機で作るの前提の割り方もはいってる図面だから、試作までは行ってると思う
よくあるポンチ絵とちがって、これ実機あるよ
ただ時間たっても出てこないってことはこのままじゃ出てこないだろうけど
公開されたばかりなのにどうやってパクルの?
Switchより前に出願されてるんで、なにがあろうとパクリにはならんよ
それ別にホリが作ってもいいよね
アプリ側がソニーのコントローラに対応する義理って何?
発明の目的を実現できそうな、振動を効率よく伝えられそうなデザインとして出した図面であって、
実際の製品に向けたデザインではない
もしそうなら英断かも
スマホとの連携強化は正しい
岩田氏の命日が2015年7月11日・・・
ソニーが新携帯ハードの特許出願日が2015年8月6日・・・
いつから設計始めてたんだろうなぁ~?
性能はスイッチの1.2倍ぐらいで価格は19980円。
名実ともにスイッチに死の宣告を与えるハードとなりそうだ。
記事にその情報無えからわかんねえだろ
というかなら解散じゃねえか馬鹿らし
UTA ミスリード記事書いてんじゃ無えよクソが
今度はハード選びを間違えないでほしい
出願されても未公開の特許をどうやって知るんですかね?
産業スパイでもいるのかと
つかAmazonで普通に売ってるしwダダ余りかよ!
PSPのUMDはシャーシャー五月蝿いし、直ぐにディスク周りに傷が付くから飽きて売ろうとしても売却無理って何度も言われたし、フラッシュメモリーカード式の方がいいわ
最強の携帯機であるスイッチが出たあとにはソニーの新型なんか買うやつは居ない
特許出願の部分が『それ』なんだよばーか
自動車部品の軸受の特許資料に軸受だけ書くわけねーだろ
他の部分との関連性なんかをちゃんと書くんだよ
まさかの一手だな
妙手ってやつだ
もうプロジェクトチーム解散してるよ
携帯ゲーム機はもう作らないってよ
これを出願したちょい後にフォースフィードバック付きの携帯機試作機が展示されてる
形はほぼVITA
すでにSWITCHのバッテリーが公式で3時間って発表してるレベルだし、もう携帯ゲームの性能の限界が来た。
正式発表前に特許図でデザインがわかるなんて事ないからなw
ソニー「新型携帯ゲーム機です!」
外国人「…イラネPS5出せ」
VITAやPS4の発表前にも同じようなこと言うやついっぱいいたね。
ソニーはもう後継機作ってないって言うやつが増えてきたら発表が近いってことでまちがいない。
デザインはもうちょっと何とかして欲しいw
スイッチってpspみたいな形してるな
動画(YouTuberやニコ動等)→見れません
書籍や漫画→読めません
バッテリー→2時間ちょいで空っぽです
ゲームソフト→WiiUの手抜き焼き直しかサードのSFCソフトリマスターばかりです
※これがニンテンドースイッチの正体です???
いや元々死んでたかw
無双のあれは戸惑ってたというより
もう既にマルチ開発してて
発表していいか聞いてただけだろうけどね
PSVRもコケて
VITAもコケて
PS4が出す利益を無駄にしないでくれます?
PSPと3DSで懲りたわ
ハードはPCとスマホだけで良い。ほかは滅びていいよ。存在価値がない
世界市場がほぼPCとスマホだけでゲーム市場が形成されてるのにはわけがあるよ。
スイッチ以上の性能は無いにしてもスイッチと同等の性能にパワーアップしたPSP2を18980円で出す可能性は高いと思う。
もうMH5は任天堂独占にはならないと思う。
妖怪ウォッチもな。
また4とvitaに対応タイトルみたいに微妙なグラのゲームでてきてほしくない
ps1、2、3、psp、vitaのソフトが遊べる
microSDカード使用可能
これが実現できれば発売日に買う
PS4もブーちゃんに絶対出ないハードってずっと言われてたんやで
流石チョニーwwwwww
VITAの後継機で攻略するのは簡単だろう。
特許というのは発明に対して申請したり権利が付与されたりする
発明にあたる部分が『操作装置』の部分だから出願資料は『操作装置』
その特許がどのように利用されるかを示した図がこの図
で、この図は何だ?って話だよ
PS4のゲームが動くんなら買う。
PS5も普通に出しますけどw
ちなみに、今の形のスイッチの特許出願日は2014年2月20日(Feb 20, 2014)
MH5とか妖怪とかドッチも要らねえwww
じゃSwitchは押し込みないの?
先に出せばウリジナルだもんねw
任天堂がハード事業をあきらめてPSに参入するまでは対抗ハードを出す必要がある。
イワッチメントみたいなほうが安心するけど見た目が悪いか...
まあ本当に後継機出すなら早くして
それらも全部黒字なんですけど
出願時のデザインなんて適当やろ
と思ってたけれどよくよく考えたらスマホ・タブレットを別に買うわけだし
スペックもある程度高くしないとイケないからメチャクチャ価格高くなるなw
グリップだけ取り外せるようなデザインなんだな
あの切れ目が何かな?と思ったら、携帯性を挙げるためにグリップはずせるように成ってるのか
スマホが代替品として取って代わったんだし必要とされてない
ソニーも据え置きやVRに一層注力して携帯機事業って膿は削ぎ落とすべき
VRとの抱き合わせ展開を狙ってるフシもあるぞよ
当たり前だよなぁwww
そんな人の需要を満たせるようにリモートプレイというものがあってね
パッド装着できるって感じなんだろうな
コントローラの接合部分大丈夫か落としたら割れそうな形状だけれども
あのホモガキそんなこと言ってんのか..(困惑)
いつまで続くのこの争い?
VRはPS4がないと動かないよ携帯機は先が短いんだし選ぶなら
据え置きが安定
ダッシュがスティック押し込みじゃないから
あとやっぱプロコン以外の操作は論外らしい
4Gも標準搭載でお願い
ワイルドアームズやアークザラッドみたいにスマホに出していくべき
任天堂も今の内にスイッチはやっぱり携帯機ですって言い直しておけよw
アップルやグーグルから手数料を分捕れ!
つべはそのうちアプリで対応するんやない?
どっちにしろplay storeやsimや電話使えないのはぐう無能。
一般人狙うならジョイコンじゃなくて携帯としての機能を強化すべきですやん。
ゲーム機持った腕が両横に座った隣の人にぶつかるのが嫌
こういう特許持ってますよ~ってアピールで相手を牽制できる意味もある
ほんにゾーンは特許とか見てからパクるなぁ、完全に手口化してるでしょこれ
これってエクスペリアにつけるやつやない?
bluetoothコンとかがたくさんある中で振動とかで差別化しようとしてるのかもな?
スイッチはsim入らない泥アプリ入らないで、専用機として勝負するらしいが..
せめてLRに振り分ければよかったのになダッシュw
よりにもよって対角線上にダッシュとジャンプ配置するとか
アホすぎてな
携帯機なんて既にオワコンだしスマホが圧倒的なんだから、そんな負債はさっさと切った方がいい
アジア市場にしか勢力がない携帯機に今後も社運を賭けられるか?
先ず今、主導権を握っているSIEAは良い顔をしないだろうな
出願日見ればswitchの方がパクりだったんだろ
これは操作装置の特許だからね
画面は適当よ
ps1初期のアナログコントローラーには凹みあったけど、その後なくなってるね。
なぜ無くしたんだろ…
VITA出せ言うたのはかつてのSCEAだがなw
間違いなくスイッチのスペック(据置モード)を超えてくるよな
持ってたけど操作しづらかった
Xperiaと完全に連携できるのはSIEだけだと思うんだが・・w
SIEの携帯機事業は社運かけてやるようなもんじゃないでしょ
スマホの性能向上がひと段落した今日、この辺で楔打っておくのもアリだと思うわ
スイッチに合わせたようなものにするってのは避けてもらいたいものだ。
タブレットに毛が生えたようなものではあまり意味がないし、縦使いができる分、タブレットやスマホの方が利があるわけで。
嘘ばっかだな
VITAのプロジェクトチームは国内だぞ
PS4は海外が中心
当時のインタビューでもプロジェクトチームは日本人が俺が背面付けたと偉そうに説明してる
ノンゲーマーの無能がよ
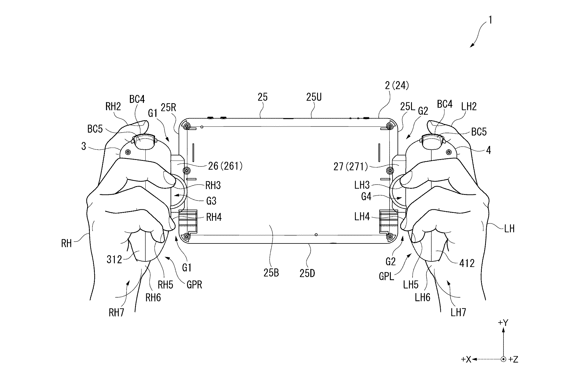
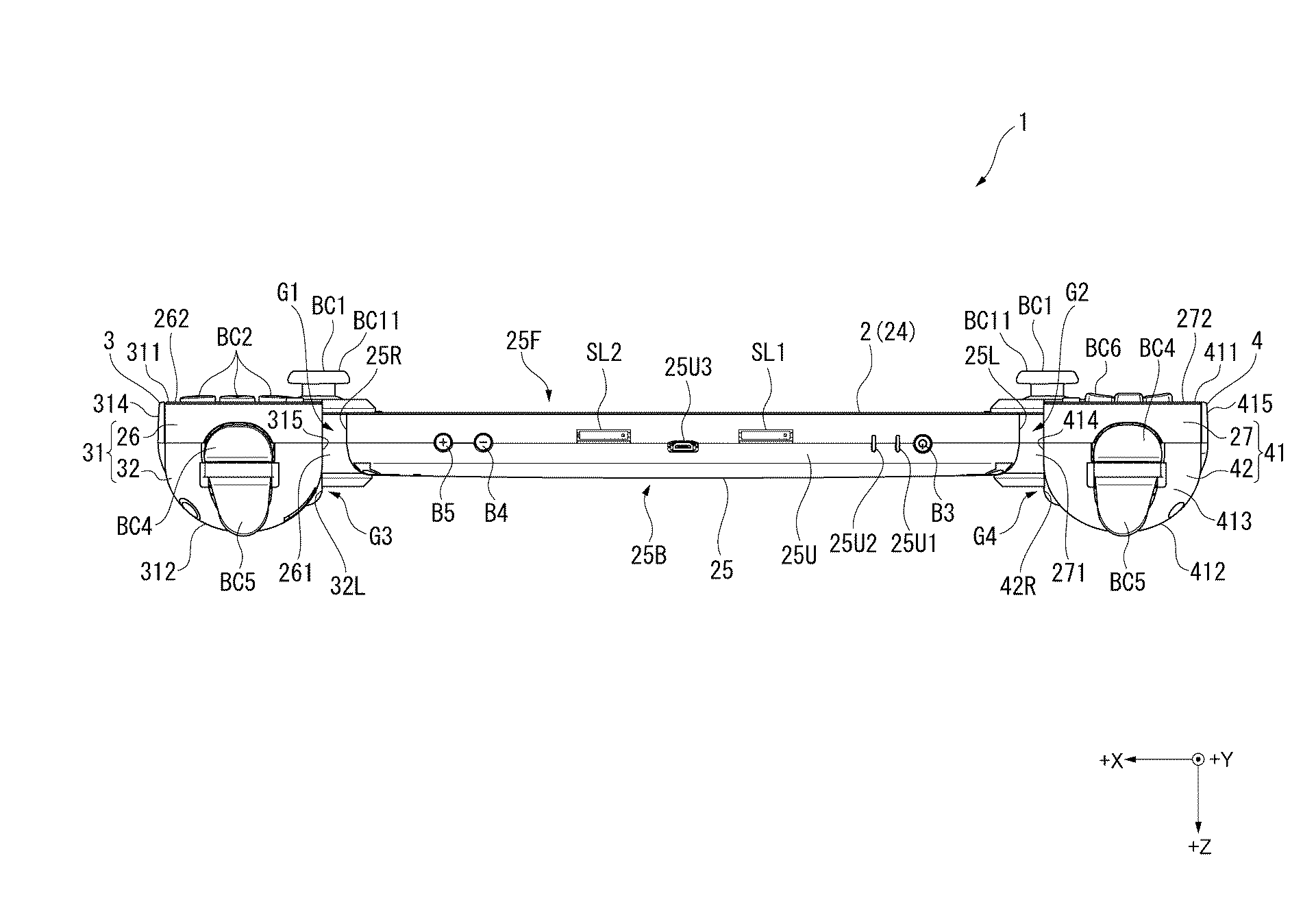
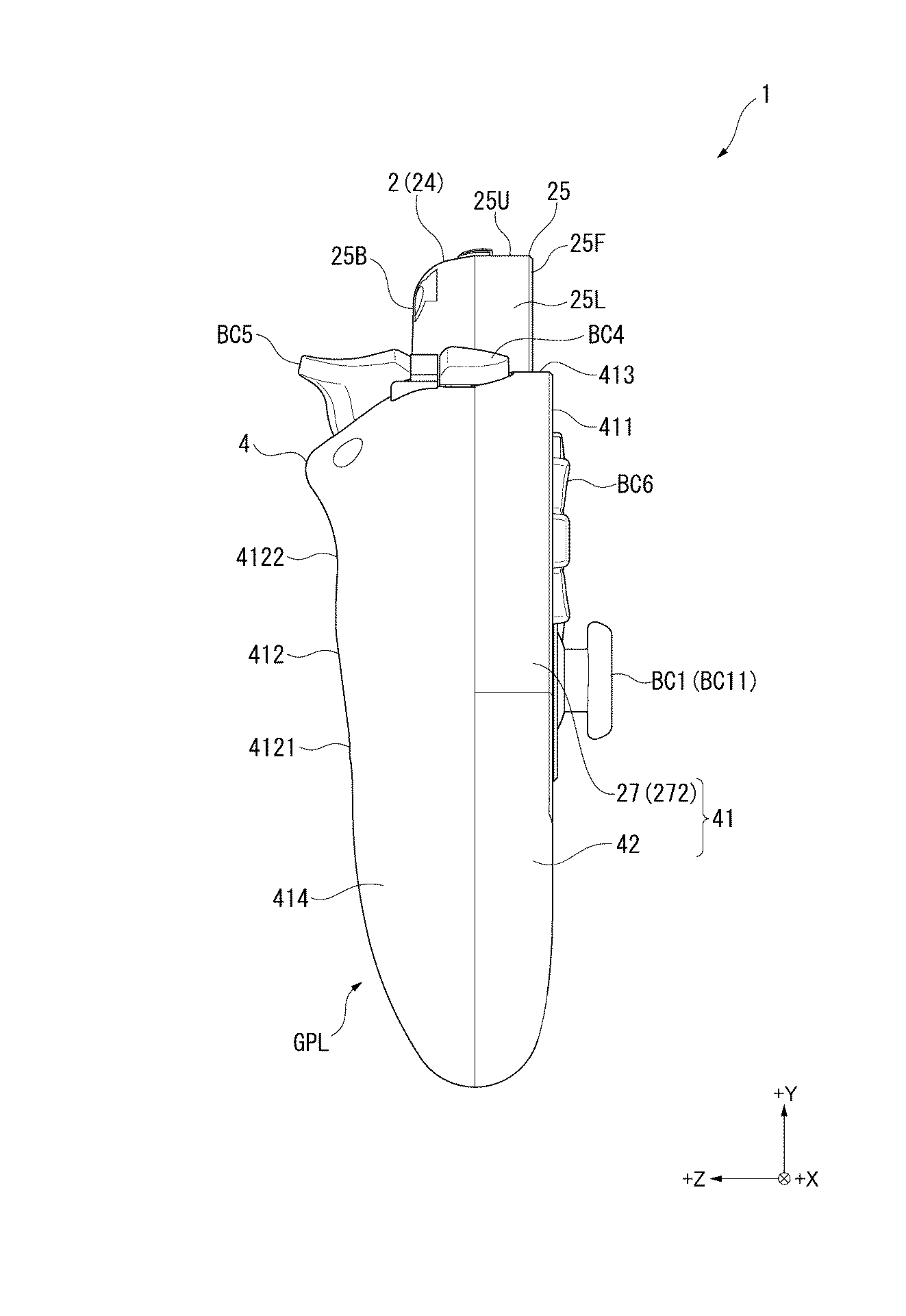
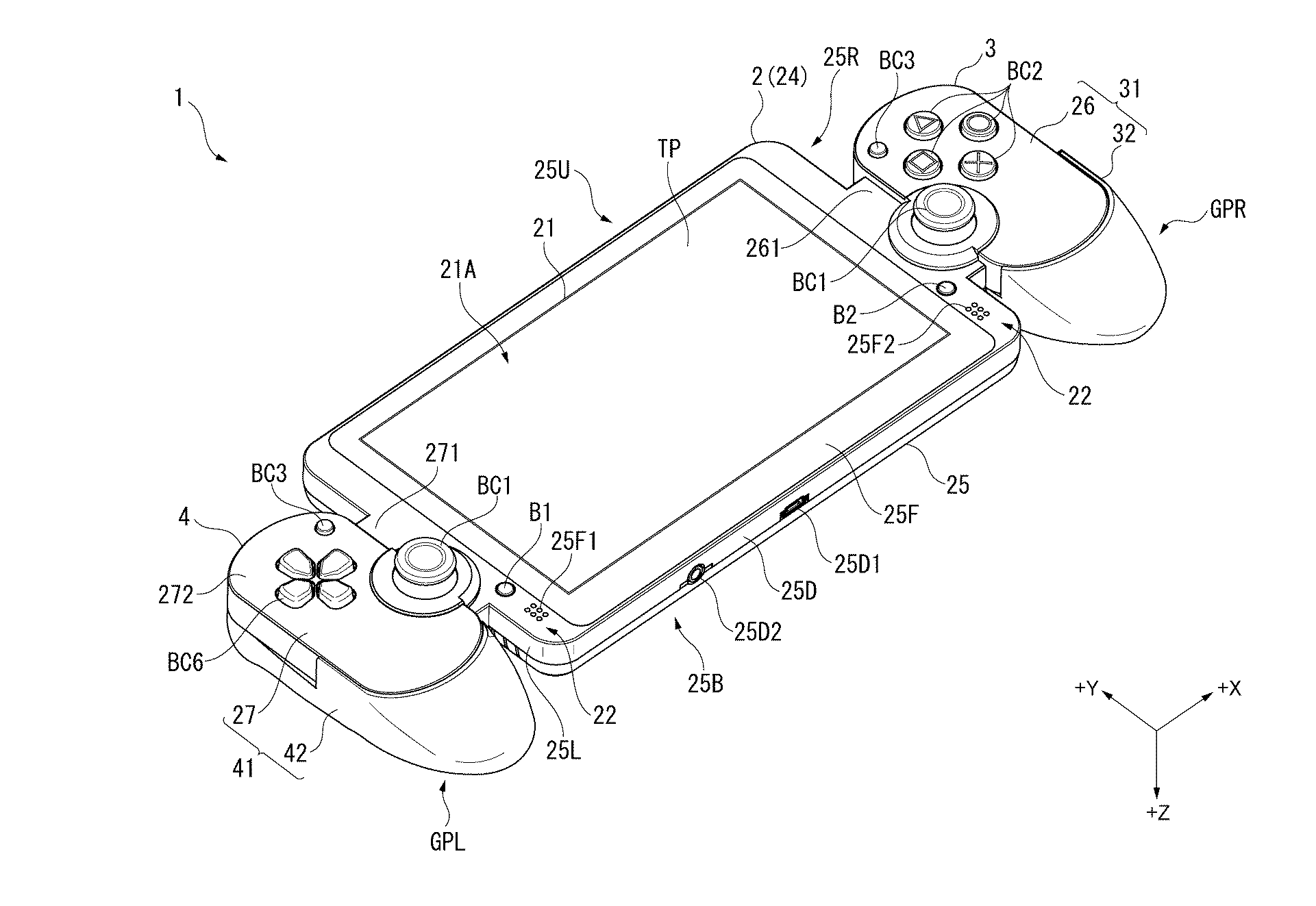
(54)【発明の名称】操作装置
(54)【発明の名称】操作装置
GKは現実を見ようw
新携帯ゲーム機というよりリモートプレイ用端末にも見えるし
それならスペックは必要無くてもいいのかな
Vita市場って負債なの?
それに社運ってw携帯機で社運とかどっかのスイッチじゃあるまいしw
SIE携帯機の特許出願
(22)【出願日】平成27年8月6日(2015.8.6)
switchの出願日はたしか…平成28年6月10日だったっけ??
外国人誰も知らんぞ
Vita見ればわかるようにロイヤリティ収入だけで利益出てるんだし
より正確に言うとVITAを早く出せとせっついたのがSCEA
SCEJはもうちょいPSPで商売したがってたんだがな
デザインの重要性を知らんのかな?
草
特許画像ってこんなもんだぞ
だから操作装置の特許だって言ってるじゃん
中央の画面は「他の装置とはこんな感じに連携します」っていうイメージ図
それは時代背景にPSPが強かったのがあったからだ。日本の携帯機の強さに目を付けてSIEAはVitaを出した
だが今はどうだ?その日本が世界に引けを取らないスマホゲー大国と化してしまった。これで続けるなら最早、道楽の類だな
余計なことして赤字になったらヤバイだろ
もう携帯ゲーム機は触れずにいこうよ
進化した携帯機は必要だよ
いらないと言ったところで和サードが携帯機で出したがるし
PS3のゲームと完全互換だったらまあまあだと思う
いつもいつもあとだしやな
この画像はエクスペリア用のアタッチメントだと思えば合点が行く。
泥スマホ用のスティックコンがいいな~
プレイステーション・エクスペリア
プレイステーション・ウォークマン
撤退する前にせめて名前だけでも譲ってやれや~
PSPはマルチメディアプレイヤーとしてバカ売れしてたからね >世界では
VITAはその後釜になることが求められてたが、まあ、スマホが全部掻っ攫ってしまったのは周知の通りやね
今新型を出すとしたら、当時のコンセプトの一部再現を狙うくらいかね
PS4がゲーミングPCの二番手を目指して成功したみたいにね
スイッチの方が早いんですけど
あとVitaで出来なかった外部出力でテレビに接続して遊べるといいな。
いらんやろ
PS5で十分
Vitaと言うより携帯機市場が右肩下がりで落ち目だしなぁ。負債っていうのはあながち間違ってはない
そう考えると任天堂はソニー以上に大変だろう
ゴキの相手なんかしてたら疲れるぞ
switchいつよ?
流石後追いのゴキやなwww
あまり儲からないけど無下にはできない事業を負債呼ばわりするのはどうかと思う
別にVita失敗したわけじゃないし売り方ちゃんと考えたらありだろう
(22)【出願日】平成27年8月6日(2015.8.6)
switchの出願日はたしか…平成28年6月10日だったっけ??
利益出てる市場が負債っすかww
じゃあ利益出てない市場は何て呼ぶのw
それやんならslimより安い据え置き機売った方が儲かる。
新しいコントローラーかもしれないけど、そこそこの性能の新型or廉価版ゲーム機かスマホアタッチメントが妥当やろ。
ニンテンドーゾーン
それが事実なら特許庁無能やな
出願はSIEだからな
スマのアタッチメントは無いと思う
あとは、出力機能があればよしだな
このままのデザインじゃないやろな
何にせよ楽しみやでぇ
そろそろ新型来て欲しい
話題にならなすぎじゃねw
何か問題でもあるのか?
キラータイトルがマイクラしかねえもん
でかPS4でも対応してほしいな
SIEは今後スマホに注力だよ?
別会社がな
それにVITAみたく携帯機なら、スイッチをまねるような取り外し機能なんてわざわざする必要ないし
なんでスイッチになぞるんだ?
馬鹿なの?
イイセンスだw
ニシ君かわいそw
もう少しデザインよくすればいい感じになりそう
持ち運びにくそうだが
MOVEもソニーが先で、GC即死でMOVEパクって無理やり作ったのがWii
スイッチもWiiUが死んじゃったから強引に発売って感じかな
また任天堂はパクリかよ
いつもパクってばかりだな任天堂はww
1度くらいオリジナルやってみろよ。他社のパクリ以外の事やってみろよww
うん。実にしっくりくるな。
発売当初は高スペックに感動したけど6年も経てばスペック不足が目に付くようになったからな
まさか、ネットにPlayStationを溶かすを本格的にやるのか?
あのなwww
スイッチの基本デザインはSONYの携帯機スタイル、コン外し意外ほぼスペック上げたPSPだろ
外しコントローラーは今主流のゲームタブの丸パクリ「よくある奴」
丸々スイッチなのが既に市場で売られてるだろ????ハード自体既にパクリじゃねーか
機能はPS4の機能ほとんど丸パクリ
全てが「何かしらのパクリ」で構成されてる任天堂スイッチがなんだって?????
既存のゲームタブの設計パクって、PS4の機能載っけただけのハードがなんだって????
つーかさw1から何か生み出すとか、任天堂にそんな技術あるわけねーだろ????
もう皆知ってるよそんな事www
昔出たパッド付きスマホ Xperia PLAYはps2とかpspくらいのゲームが限界だったけど、vitaが衰退するころにはps3や4のアーカイブも見えてくるだろうしスマホゲーム機も需要あると思うんやけどね~
どっちにしろスチームみたくアーカイブはしっかり残してほしい。これは重要。スイッチみたくテレビ接続も欲しいな。
スマホアーカイブもvitaに専念するために終了してしまうのはもったいなかった。
誰も幸せになれない
現行バージョンはもっとスタイリッシュだよ
ソニーが携帯機出さないとモンハンとかGEが死んじゃうからね
まぁ俺は死んでもいいけど、悲しむ人もいるでしょw
(22)【出願日】2016年6月8日
で今回のが
(22)【出願日】平成27年8月6日(2015.8.6)
Wiiリモコンもこの手口でソニーからパクったんだよな
センス感じなさ過ぎて草生えるwwwwwこれが天下のソニーさんですかwwwww
どうだっていいw
スイッチなんかじゃVITAが抱えていたサード受けれないし
モンハンやドラクエすら衰退するのに中小サードが生き残れる訳ないし
どう見てもスイッチのパクリなんだがw
着脱するならその図面無いとおかしいもの。
おまえのスマホとかガラゲーとか振動なくていいよな?
A.恐らくソニーが不振に喘いでいるのに世間の関心を集めている任天堂に嫉妬と恐れの感情があるんでしょうね〜
最近でもポケモンGOが大当たりしFEHが話題を掻っ攫うというショッキング笑な事件が起きてしまったので気が気でないんでしょう
追い詰められて後が無い状況だから必死に叩いて潰しておきたいんですよ……
(モンハンはswitch)
据え置き機に絞って展開するのがBESTな選択だろうww
本当どうか…どうか…高木様を始めとした開発者様方にお伝え願います(血涙土下座)
「閃乱カグラPeachBeachSplash」をVITAにも‼︎
PS4版の後でもいいので、どうかVITAでも出して欲しいという私のVITA愛とカグラ愛を伝えて下さい‼︎
うわ・・・・こいつガチのバカゴキだwwwwwwww
switchの特許出願は2015年6月(平成27年6月)だぞwwww
不幸になってんの任天堂だけだから問題無い
switchの特許出願は平成27年6月だぞ・・・
28年じゃ2016年に特許出願になるんだが・・・ゴキってやっぱバカだな
やめとけって、、、
またどこかに訴えられてソニーの携帯機をパクリました
って任天堂自らゲロるのがオチ
vita死んでますけど
ファアアアアアアアアアアアアwwwwwwwwwwwwwww
SIEは大赤字だぞwwww債務超過のたびに親会社のスネかじって成り立ってる会社がなにいってんだwwww
寧ろ任天堂がソニーの特許パクって慌てて先に出そうとしたからあんな据え置き機と携帯機の悪いとこ取りした糞ハード出す嵌めになったのでは?
特許出願
switch 平成27年6月
vita後継機 平成27年8月
涙拭けよwwwwwwww
スマホあるし携帯機専用タイトルはもういらないわ
平然と嘘付いてるとこ悪いが
任天堂が申請したのその1年後だからな?
ドラクエ同様モンハンが帰って来てps4マルチになれば売れそう
>>35
switchの特許出願は平成28年6月
バカですね。はい
平成28年は2016年ですよ・・・考えればわかることでしょ
正しくは、平成27年(2015年)6月です
その出願内容は、当時話題になった、画面にコントローラーがあり批判あびたものです
Vitaと引き換えに任天堂が死んだからイーブンですね
親のスネかじってるSIEwwwwwwww
MOVEのパクリだったリモコンながめて泣いたの?
それともWiiもってないかな?w
じゃー調べてみ?
おまえらが嘘ついてるのすぐばれるから
調べた上で嘘バレてんだよなぁ
ご乱心ですね
泣いてもいいのよ
VitaってWiiUの一年前に発売してるのにWiiUはもう死んじゃったね
もしかしたらスイッチの葬式にも出席できるかもよw
十字キーを無理やりパクり、アナログスティックをパクり、振動機能をパクってるよねソニーって
PS3「Wii、WiiUに続いてスイッチまで…また看取らないといけないのか…」
あれだけ持ち上げたリモコンがMOVEのパクリだったみたいなのがばれるのは超笑えるけどw
ブーちゃんビビってる?ヘイヘイヘ~イ!
関係ねーけど、何でスイッチは十キー捨てたんだろうなぁ
唯一といっていい任天堂の功績なのにあれアホだろ
息をするように嘘を吐く。
信者共々早くゲーム業界からもこの世界からも消えてほしい
どんだけ興味ないんだよスイッチにw
お前は早くPSP GOの葬式行ってやれって(笑)誰も弔ってなくて可哀想そうになるわ
ニシ君焦りすぎでおもしろくてw
しばらく煽りたおそうw
コメント欄がswitchとは違う!だの詭弁だらけの援護にまみれてたら笑う
おすそわけとしてプレイするのにはしょうがなかったんだろうな
ブヒッチ発売前にこの情報知ってよかったわwww
ブーちゃんごめんwwwwブヒッチ買うのやめるわ(´・ω・`)(´・ω・`)(´・ω・`)
任天堂も互換、ディスクロム、メモカ、配信、PS+、MOVE
等色々パクってますやん
どうだってえーねんw
またカプコンに頭下げて現金貢いで任天堂が死ぬって事実がおもしろいw
アレを実装すること考えた奴クビにしろ
それ、wiiリモコンはmoveのパクりぃ!って言ったゴキに言って(笑)
リモプ出来そうなのはいいけど
逆に考えてみろよ
Vitaの後継機が発表されたらスイッチのアンバサ値下げがくるかもしれないんだぜ
3DSの時みたいになwwww
出願日 2015.8.6
むしろswitchがぱくり
MorphusやAikunで検索してみろ、いっぱい出てくるから。
ホント任天堂が情弱商売なのが良く分かる事例だわ。
完全にSwitchやんw
ボタン数より
カメラワークが問題だってのにな
ほんまもんのスマホ+
ps4
でもスイッチはアンバサしたところで周辺機器で高くする商法だしなあ
いやw話の展開を整理しようぜw
MOVEの話はこの記事みてスイッチのパクリパクリいってるから持ち込まれてるだけやん
おまえだってパクリなんてどうでもいいんだろ?w
任天堂が死ぬのが怖くてたまらないが、突くとこがそれしかないからパクリしか言えんのだろ?w
既存タブレットの丸パクリですがなw
記憶力無いんか?
3DSの後継をこの携帯機が潰せば任天堂は終り、そこを焦点にして話したほうが建設的
奇形にして性能を上げたswitchでさえ1080pできないんだし、
1080pがレンダリング解像度になるゲーム機はすぐには出せないだろ。
Vitaの2倍ちょっとの1200×1980液晶に720pくらいのをスケーリングで表示するか、本体を小型化して解像度はVitaのままで行くかくらいだと思うぞ。
GPDの端末買おうぜ
任天堂はipadよりも前にタブレット端末を思いついていたらしいから平気平気
なお、何故か開発はしなかった模様
彼らは自滅するだけだから
一見取れそうだが、良く見るとちがうね
その情弱にスマホ用コントローラーの存在を教えて、ソフトゲー市場を広めていくのが任天堂の役目なんだよなぁ。
スイッチをスマホにしないってのも問題だと思うわ。
??
いつ任天堂が情弱さんにスマホ用のコントローラの存在を教えたの?
というか君の言う情弱はスイッチの存在すら知らないと思うんだけど
後継機でもVita新型でもいいからスペックアップ版を!!
ニシ君が慌てるのも分かるw
てかPS4並の性能がなきゃFHDレンダなんて無理っしょ
携帯機はそれなりのソースからの引き伸ばしで十分だよ
が、それとは別にFHDディスプレイは搭載すべきだと思うわ
リモプとかが捗るから
ごめんよ、文章がおかしかったわ。
任天堂がスマホ作って、コントローラーを標準搭載にして宣伝して売りさばけばライトゲーマーが増えて日本のソフトゲー市場にいい風が吹くんじゃないかって意味。
あの発色は魅力的だから、Vita初期型に劣る液晶に回帰はやめて欲しいな……
(ごめん、今の今まですっかり忘れてましたw)
の名に恥じないハード頼みますよソニーさん(´ω`)
ライトってのはゲームがやりたいんじゃなくてただ流行ってるものが好きなだけなんで
市場を作るってことはないのよ
DSからモバグリ、スマホとイナゴのように渡り歩くだけ、特に日本のライトはね
スマホはフラットで持ち運びやすいから広まったのであって、
コントローラ付きのスマホなんて任天堂が出そうがどこが出そうがオタ向けのガジェットで終わるよ
明らかにコントローラ部分を液晶本体に差し込んで使うようにしか見えないデザインなんだが
着脱しないのならなぜにPSP,VITAのように一体型の本体にしないのか謎
Vitaと競合しつつ、次世代Vitaが出てきたらそれの足も引っ張りつつ死ぬ
だから大人向けで仕様も意識してるし、乳搾りやら炎上商法で注目を集める事を重視
そんで焼け野原になった後で、Vitaより低性能な3DS後継機が2万以下で出てくるわけ
スマホとDSとの違いは1画面で高性能だから昔の作品も移植できるし、市場を形成するほどじゃなくてもハマる人があればいいんだけどな。専用機のスイッチにムダ金さくよりは全然いいと思うけど..
あと個人的にそういうハードがほしい。
DS、3DSは面白いソフトもあるけど解像度や画面数の関係で昔の良ゲーとかも移植しようがないからそこが残念。
いや、特許内容から考えて、わざと重心バランスを崩して効率よく振動させるようにしてるんだろ?
そこで取り外せたら意味無いじゃん。
部品の共有化をすればコストを下げられるでしょ
今の形にLR2つけてくれればそれでいーんだよぉ!
あとアナログスティックの押し込み
DS,3DS、昔の良ゲーってさ、ボタンを必要とし、かつ今やっても面白いアクションは少ないよね?
オウガとかマザーとかポケモンみたいのならスマホで十分できる
操作性が必要なゲームにはスペックも重要だとおもうんだ
だから3DSだとアクションが売れなかったりするわけ、そんな中途半端が今一番駄目なんじゃないかな
普通にスマホ用だろこれ
ファアアって何?
ディスクってUMDの事?
さすがに過去のソフトの為に余計な機能付けんでしょ
DL版PSPソフトやアーカイブスは動くわけだし、対応してたらUMDパスポートも使えたし
ゲームするときはコントロール付ける感じかねぇ…
まあでもそろそろ携帯機は世代交代のサイクルにはなってるな
そうすりゃスイッチも値下げで対抗するだろうし
どっちのユーザーにとってもWinWinや
やったら3DSの後継を潰すことになり、リストラの嵐だよ
両側のグリップが取り付く所の本体が出てるでしょこの時点で汎用じゃない事は明らか
簡易VR用の本体とそのVR用コントローラーに成るのは明らかだと思うわ
本格的な互換が欲しければvitaタブレットつきを買う
みたいな選択性がいいね
まだ出るまで数年は掛かるよ
スイッチだって何年かかったことか
これはヌンチャクだ
なんかスイッチそっくりで失敗しそうなデザインだな
楕円形の携帯機の特許が数年前にでてたよ
とりあえず今年はサイクル的に3DS後継のはずだったが
WiiUがたった2年で終了確定したんで敗戦処理投手がでてきただけ
3万もするスイッチで任天堂の売上げがもつわけないしw
真横からの図を見れば分かると思うけど
その飛び出てるところは本体じゃなく操作装置の一部やで
確かにね。
特にポケモンとかはCSに残しておくのがもったいないくらいのブランドだし、任天堂の支配を離れて自由に展開してほしいな。既に小学生もスマホもち始めてるし携帯機は要らんかもしれんな。
携帯機が無くなったとしても、スマホコントローラーだけでも売ってアーカイブやモンハンくらいは残してほしいと個人的に思うけどそうもいかないのかね。
あなた的には今後任天堂のスイッチと3dsの後継機のすみ分けについてどう思う?
報道規制・参加国総貧困化・労働環境悪化・支出増加・ビザ大幅緩和etc.話題そらし他工作世論誘導多数「TPPの21項目まとめ」「ラチェット規定」「TPP 法律より上位に位置する条約」等検索
俺が言いたいのはイワッチが正式に発表したのは何時だったかってことよ
それはコードネームすら出てないだろ
あと特許なんて何の当てにもならんぞ、この商品が未だに出てないことがいい例
スイッチの廉価版が3DS後継機なんじゃないの?シュリンク時期に今のスイッチを簡易小型化したものを使い
シュリンクした時性能アップしたものがNewスイッチになるという想定。
だけど結局はユーザー層が変わらない限り考えが甘いんじゃないかと。
この後継機にVitaの互換があって画質向上とかの付加価値があるなら買う
ないなら買わない
Vita互換は欲しいよね出るなら
PSPはもう切ってもいいから
No22が操作装置なら(スマホをグルッと囲むフレーム)分かるけどそれだったら特定のスマホしか付かないじゃんwそんなもの企画する段階でハネられるわw
それにお前の言ってるとおりならその出っ張りがどうやってスマホに固定できるのかとwお前馬鹿なんじゃね?
まあ3DSの死にっぷりからして
急いで出してくるんじゃね
スイッチは任天堂は本気じゃないと思ってるよ、WiiUみたくなっても赤字にならない価格で、かつ体感で一発狙ってる
本命はやっぱり3DSの後継、任天堂に安い子供向け携帯機がなくなったらやばいよ
任天堂の方がねw
Wiiリモコンと同じだねw
特許がどういうものか分かってないなら喋んないほうがいいと思うよ
まさかこれがそのまま商品になるとでも思ってるのか?
そしてホワイト・・・・
ありえるから怖いw
外部に漏れてる情報だけで考えないほうがいいとおもわれ、
半年前はNXなんて本当にでるの?って言ってたGKがたくさんいたが、3月までに絶対出る、と断言したよ
任天堂の売上げ見ればわかるんだよ、どんなものでも出さないと売るもんがない
俺見たいのでも任天堂ヤバイのわかるのに、任天堂の内部でわからないわけない
ましてスイッチで右肩上がりなんて、そんな子供の夢じゃないんだし、スイッチ爆死を見込んだ上で次のを
用意しとかないとこのまま売上げ真っ逆さまだよ
チョーーーーーーーンwww
デマだの煽りだの散々言って否定してたよな
もうフラグ立ってるじゃん
それが一番無難だと思う
スイッチは性能自体は悪くはない
足を引っ張ってるのは価格とギミックとサイズだからね
性能悪いだろ
据え置きのマルチは絶望的だぞ
排熱の問題が課題すぎる
たぶんモンハンもそこに行くんだろうけど、3dsの後継機はどんな感じなんやろうな~想像もつかん。
2DSみたく安さを追求するならスマホ互換はなしで、DSor3DSの互換を重視か..
2DSなんて1万切ってるし値段も気になりますね~
任天堂みたいなゲーム専門の企業がゲーム機一種だとそれが死んだときやばいよね
まぁ死んでくれていいんだけどねw
いくら任天堂が馬鹿でもそんなミスはしない
PSアイカーブをプレイするためのパッド付きエクスペリアも出てたしそれはわからんよ。
この特許からはvitaの後継機がスマホかゲーム機かどころか出るかすらわかんないのに、記事がいつものように煽りすぎなんですよね~
専門じゃないだろ。花札販売とラブホ経営やってる!
B1B2ボタンだと記載あるんだな
スマホのそんな位置にボタンないんだな
モンハンは早く据え置き展開してCODやディビジョンみたいにならないと先無いと思うよ
子供はポケモン、学生はスマホでコミュ
モンハンは携帯機かつアクションっていう特殊でニッチなヒットだから、3DS後継がまかり間違って爆死したらやばいよ、もうやばいけどさw
任天堂なんぞに囲われてぬくぬくやってると死ぬで
本業は花札屋だろ?
何を言ってるんだ
ラブホはファミコン以前らしいけど、資産余ってるし任天堂ホテルとか作れば?
中年やファミリー層向けでファミコンとかののカセット集めて使い放題にする........(´・_・`)?
シンプルなので良いのに。どっかのコントローラー分かれるやつみたいじゃないか、、、
意味不
何で既に商品化されてると思ったのか。特許でて製品出るまで3、4年とかあるし。
逆に聞きたいが出る出る言って出さないことはあれど急に出してきた事あったか?任天堂
それに「半年前はNXなんて本当にでるの?」って言われてたのは
会見があった2015年の3月から音沙汰がなくなったから
そもそも余裕が無いなら情報を出して株で資本集めすると思うよ任天堂は
そういう段階にもないってのが今の3DS後継機の現状だと思うが
まあスイッチのドック無しとかならすぐにでも出せそうではあるけどな
出てもよりニッチなハードで終了してそう(死にはしないが)
ゲーム記事に何言ってだこのウジ虫
スイッチ公開されてから本格的にパクリスタートしたってところだな
3DSもWiiUも急にPDFで発表されたんじゃなかったっけ
どうでもいいけどNXなんて出ないっていってた口でしょ?
音沙汰がないと出ないとか思っちゃうところがなんとやら、前述の説明したとおりなんだけど
翌月食う金がなくなると分かったら誰だって必死ぶっこいて働くでしょ
任天堂もヤバイだんだからドンドンハードだすよ、ドンドン他事業に手をだしてるのも一緒の理由(ちなみにスマホで株は買わせたよねw)、つまり、来年には売るもんないんだから作るしかないw
俺はVitaも出ると思ってて、出ない厨に色々説明してきたけどその時には何も分かってもらえないんだよなぁw
ってこれnageeeeee
珍天かよw
特にPS4の売れ行きが悪い日本では、PS4とVITA2で二分するより
PS4をいかに売っていくかを考えた方がいい
日本だけでいえばスイッチがPS4は確実に超えると思う
任天堂と据置と携帯機集結しただけで他のメーカーより上なのだから…
必死でやってこの体たらくなんでw
売るもの無くて必死にやった結果がWiiUのホワイトだぜw
出せるとすればスイッチのガワ変えたバージョンくらいだろw
スイッチがPS4越えはないだろ
2万ならワンチャンあった
ホワイトだろうが出すもんはだすだろ
任天堂にはそれしかねーんだから
スイッチも一辺の混じりもないホワイトだろうが、ちゃんと出ただろ
でるもんはでるよ、任天堂の社員食わせていく商売なんだからw
スマホもどきはいらない
携帯機モードでVita以上、据え置きモードでPS4以上ならよかったと思うが
結果どちらにも勝てなかった
正式な発表から2年後だけどなwスイッチ出たのは
別に出ないと言ってない、出ても当分先の話ってだけ
商品出せなくて社員食わすために株売ったんだろwまた別の資産を売るだけさw
今のスイッチって据え置きモードでVitaに対抗してるから笑えるよねw主に豚が
イワッチがDEnaと組んだ時のポロリ発表が2年前だろ
答えないけど君はNXなんてでるのーとか煽ってた口でしょ?
ねぇ、、、3月にNXでたでしょ?w
でるんだよ、色々あとからホワイトとか言い訳してるけどさ
予想をはずした自分の考え方を見直したほうがいいよ、どういう理屈で任天堂のハード事業が動いてるか学ばないと、、、
スライドまで用意してたのがポロリw
?普通に出ると思ってたよ
その思い込みはなんだ?w
NXの予想が出来てるなら3DSの後継がでると考えるのは当然の理論だけど・・・
今、考え方が至ってない人が
過去に至ってる確率は低いでしょ
つまり、学んでないから今出来ない
ついでにVRもよろしく
その思い込みが激しいのはどうにかしたほうがいいと思うよw
俺は出ないとは言ってないだがw
出るとしても数年後、またはスイッチを携帯機特化したものとずっと言ってるんだがw
マジで気持ち悪いw
こんなん外で出せるわけ無いじゃん
途中で人変わってるかも知れんけどね
666が基点なのね、つまり「スイッチを値下げしちゃうと3DS後継と競合するというお話」だから
いつか出る、と逃げの一手を撃つのはおかしいでしょう?
いつかでるならスイッチの値下げはしないでしょう?
そこでなぜ666に食いついたのかが疑問になってくる
コントローラー型でXPERIAに接続するとか
赤字増やすだけじゃえ
別に赤字は出てないぞ
>>666に対して>>669だからな?
いつか出る、と逃げの一手って言われても最初から言ってるんだがw
お前は日本語読めてるのか?
ハードなんてたいして変わらんわ
しいて言うならカートリッジ辞めて欲しいわ
分かってるよ、だから3DSの後継がいつか出るのにスイッチを値下げすんのかね?
どうなの?
後継でるなら値下げしない、出ないなら値下げもあるでしょ
君の答えをそのまま読むと、任天堂はその場その場でアホみたいにハードを決定してるってノリでしょ
(確かにその感じは否定せんけどねw)
いくら馬鹿でも、先々の事かんがえて、次の、その次のって考えてるよ、NXをちゃんと売上げ壊滅する前に出してきたでしょ
値下げじゃないかもしれんが値段は下がるだろ
そもそもスイッチと競合するという考えはあなたの考えであって任天堂の考えはない
現に任天堂はスイッチは据え置き、携帯機の後継機は別って言ってんだから
別に値下げしてきてもおかしくはないだろ判断するのは任天堂であってあなたではないんだから
3DSにソフトつけて売ったそのすぐ後にNew3DSを出してんだぜ(確かそうだったよね
スイッチを値下げして、後継機はその値段と同じでスイッチの携帯機モードよりも高性能とか言って
New3DSみたいに売ることも可能だろ
vitaだとアクションゲームやり難いんから
もしそうならスイッチがいきなり終わってしまう
可能だからやんのか?2万のハードを二つも?
だよねw、最後にはそうやって突っぱねてくるとは思ったが、マジですか、、、すごいね
NXをちゃんと出してきた、という事実を見ていながら
3DSの後継でまた同じことを言ってる
学びなよ
後継機の性能を
スイッチ(携帯機モード) < 3DS後継機 < スイッチ(据え置きモード)
これなら例えば5000円値下げしても競合ではなく選択肢として後継機を出すことも可能
そもそも後継機が出るからスイッチが値下げできないって考え自体がおかしい
いや、実際にやってるのが任天堂なんだがw
はい終了。
質問です
似たような価格ででる似たような性能の同じ会社の携帯機
どっちを選べばいいんですか
そんな無駄な選択させる会社あるんでしょうか?w
ネイティブゲーは720pからの引き伸ばしで構わんので
あるやんw任天堂がまさにw
???
3DSとスイッチは一応性能も違うし価格も違うやん
N3DSと3DS
それ1.2ほんソフトがちがうだけで基本同じもの
3DSは生産止めてるしユーザーも迷ってない
ゼルダもメインのDLCって年末だろ
買うならそのときやな
スイッチはあれって据え置きなんだぜ(どう見ても携帯機だがw
それとも3DSの後継機はスイッチのようにどっちつかずになるの?
いうとんのやから、2DSとかバージョン違いだすのはちがうやろ
そろそろ逝くね(´・ω・`)
そうじゃないとゴキちゃんがゴミ認定するし。
値下げも可能だって例を出しただけなんだがなw
アホなのか
んなもん作ったら爆発四散するわ
ないしは持つ手が燃える
ゲームに限らず理論的には大概のことは可能やん
そこにコストや市場がからんでくるからこの世界にはある程度秩序があるとおもわれ
同じようなゲーム機を同じ会社で2つ出す?って質問にバージョン違いだしてる時点でもう無理言ってるのがばれてるんよ
で苦しくなった任天堂はいつものように値下げか実質値下げ(新作ソフト付き)すると思う
特許出願日がスイッチ発表より前だけど?
その頃はソフトメーカーですらスイッチは謎のハードだったんだが。
そもそもどっちつかずのスイッチと3DS後継機を同じようなゲーム機と言ってる事が違和感
携帯機にもなって据え置きにもなるの?>後継機
値下げしないとどうしようもないだろw
パクられるから発表しないっ!て任天堂の言い分が正しいことになる
まあVitaの後継機でるならVita互換とアーカイブス2にも対応できるだけの性能は乗っけて欲しいね
落ち着け
他でとっくに商品化されてて任天堂がパクってるんだ
いやswitchが笑われてるのは既にあるスマホ用のをパクッたのが任天堂だから
勝ち目ゼロ
お前キショイな
任天堂スイッチみたいな付け外しの手間もない、コントローラー無くしました〜もない、コントローラー片方電池切れてます〜もない
任天堂よ、これです
お前が好きなジャンルじゃねぇかよ
これの出願日確認した方が良いぞ
とりあえず続報に期待やな
ソニー派だけどこれは似すぎ。
色んな所がうるさいから、このデザインだけはやめてほしいわ
今の任天堂に見習うとこってあるか?
そもそもこれ、操作装置の特許だからな
画面はほとんど関係ない
バカの一つ覚えみたいにパクりパクりうるせぇぞ
いや、お前が首吊って死んでくれ!
つか携帯にアナコン付けたのSONYが先だし
今回のはグリップを持たせるデザインのテスト仕様だろ
その特大のブーメランがお前の頭に刺さるんだな
携帯には不向きなデザインに見えるし、
よくあるフェイク特許では?
特許部分は操作装置のみやね
水に浮かべて遊べそう
ゲームによるとしか言えないけど基本携帯機はもういらんよなぁ・・・
うるせぇよ知恵遅れ
スマホは100%ないだろう
なぜなら特許に
上記操作手段を構成するボタンB1,B2が配設されている他、内部に設けられた音声出力部22のスピーカーからの音声を外部に出力する開口部25F1,25F2が形成されている。
とあるから
スマホはB1,2の位置にボタンなんてついてないから
もう時間の問題だからな
でもこれだとなおさら勝ち目ないと思うけど
据え置きじゃないのか?
だがL2R2あるならこれでPSO2が完全な状態で出来るなw
まあ流石にこのまま出ることは無いだろうけど
バッテリーも発熱も操作系も解決できんがな
だがまあ、携帯ゲームやるぶんには今の性能でちょうどよかったりはする
スイッチがVitaの13倍近い処理なんでそれ以上のを2万5千円で出せばシェア取れると思う
メモカはVitaの流用して安く出来ないかね
うるせぇよウンコ野郎!!
もう携帯ゲーム機はいらないかも
任天堂信者も必死だよ
据え置きモードの性能と比べてどうする
まあ心情的にはそれぐらいやってもらいたい気持ちはあるけどな
SMACHが自称800GFlopsなんだけど、あれ本当なのかね?
実際その半分も性能が出てれば
Vita2もSwitch据え置きモード越えは不可能ではないと思われる
専用のエクスペアを持ってくるかもしれんしなぁ。
この特許が使われる以前にvitaの後継機ができるかすらわからんから、スレたってるけど
あんまり期待しないほうが..
e3での公式発表を待ちましょう。
まぁ良い感じにしてくれることに期待
TV出力もドックなしで可能、PS4とも連携できるとか。
短い命だったな、スイッチ。
後追いする気まんまんやんけ
真っ赤やでwwwwww
海外ではハードとして認知されず見通しがよくないって幹部が言うたがな。
今後は質の高いソフトの開発に注力してくんだと。トリコとかグラビティデイズとか質の高いソフトをな。
1つ言うと任天堂が今の有様なのは任天堂がただ単に自滅してるからであって
Vitaに責任転嫁しても何も現実は変わらないよぶーちゃん
PC、据え置き、スマホの間に割って入る余地が今はないわ
任天堂確実に倒産やなww
海外じゃ携帯機は話にならんし国内じゃ性能関係ないようなゲームしか出ないし
PCの二番手にPS4がついたように、スマホの二番手にPSP3?がつく余地は十分あると思うなぁ・・・
携帯で任天堂には勝てないから諦めろ
vitaにびびってアンバサしたら大赤字になった3DSには笑ったわw
任天堂に大打撃をあたえたvitaの次世代もほんと楽しみw
ほんと馬鹿だねw Vita後継でれば任天堂が潰れるからだすんだよw
PSPでDSおいつめたからVitaが出る前に赤字はいてPSのソフト囲い込んだ
そこから任天堂は坂道を転げ落ちるように転落
ゲハは面白いw
3DSには後継機が噂されていたことを
つまり・・・・
任天堂ハードはサード売れないから
うわあああああああああああああああああああああああああああああああああああああああああああ
これには期待
ここまで隠してたからこのタイミングは露骨すぎるなw
ポケモン出すならスイッチが勝つと思うけど
ニンテンがスイッチの他に3ds後継機だしたらわからない
出した場合はスイッチが死産
振動パックを手に巻くタイプなら有効
俺のvitaはグリップ装着しっ放し
予想通り馬鹿な虫がムキになってるわ(苦笑)
ねえ、糞虫くん。いつPSPとVitaがDSと3DSを追いつめた?てかどこの時代から来た?
PSPはモンハンで持ったようなもんだし、その後継機のVitaなんて目も当てられない惨状じゃん
PSP以上に売れなかったのものにさらに後継機出せば任天堂潰せるとか流石にネタでも笑えねーわ
稚拙な文章といい、クソガキなんだろうけどこんなクソアフィからにわか知識つける前にママから買ってもらったスマホで少しは調べたら?
ソニーのタブレット端末にコントローラーを追加してゲーム遊べるようにするアタッチメントだろ
だから中央の画面らしき部分は別で、コントローラー部分だけを販売するんだろ
つまりPSNow用の周辺機器だろ
PS4 Portable(仮)として、PS4のソフト資産を生かす方向になるんだろう
> 本実施形態に係る情報処理装置1は、外部機器と通信し、入力操作に
> 応じた操作情報を送信する操作装置としての機能を有する他、
> 入力操作に応じてゲーム等のアプリケーションを独立して実行する機能を有する。
> 入力操作に応じてゲーム等のアプリケーションを独立して実行する機能を有する。
任天堂大敗北
あらら
PSPDS時代の後期覚えてないの?日本のランキングすらPSPとPS3に占領されてあんなに泣いてたやん
晩年はPSPがソフト250本、DSが50本とかそんなんだったんだよ
当たり前だけど市場において最後に立ってるハードにこそ本当の力があるんだよ
だって二度とDSはPSPを抜けないじゃないですか
だからスイッチと同じで負けハードのDSから先に後継をだしたわけ、モンハンを奪う性能と金だけ用意してねw
その結果が俺の予想通り万年赤字、もっかいやったら死ぬでー
小さいと目が痛い
お前頭大丈夫か?絶対特許内容見てないだろ
PS3以上、PS4未満の性能ってとこか、PS4寄りの性能だったらいいな
最後にレスすりゃ勝ち、みたいな馬鹿理論だな
そのソフト250本()もホントに全て世に出たか怪しいうえに、モンハン金で奪ったとかまだ迷信してんの?
何が勝ちかっつったら普通は利益だろボケ
糞ニートは社会出て一般常識身につけた方がいいよ
昔、Vitaが値下げすれば3DSに勝てる(キリッ)ってここに恥ずかしげもなく書いてた馬鹿いたけど、お前と同レベルの願望垂れ流しで呆れるよ
モンハンは金で買ったっつーか、まあ、任天堂の買い取り枠が専用で用意されてるだけだな
最低でも400万本売れるように保障されている(3DSでのモンハンの出荷数見ると超ウケる)
あと利益の話はあまりしない方が良いと思うぞ
WiiDSは任天堂を大いに潤したが、3DSとWiiUはその分をガッツリと削り落としたからな
3DSは2.5万で売りまくるつもりだったのに某メーカーの某ハードの発表に焦ってアンバサかます始末だし
WiiUに至ってはロンチで生産した分で生涯セールス分まかなえちゃったみたいだし(倉庫代とか想像するのも恐ろしい)
iPodTouch6くらいの性能は欲しいかなぁ
性能も似たようなもんだし
その分チップに割けるコスト減っちゃうけど
128GB程度じゃ全く足りんのでは
解像度上がるからコンテンツ容量も一気に増えるよ間違いなく(Switchで既にその兆候が出てる)
と言ってもゲームカードはコスト高いし専用メモカは叩かれるしSDカードは性能バラバラ過ぎてイマイチ
本体のROM増やすしか手がないような
いっそのことSSD(M2.2 2280規格)に対応してくれんかなーとは思う
256GBあたりならマイクロSDよりも安いくらいなので
PSPもVitaも潤すほどの利益なんか出てねえけどな
ホントゲーム興味ないやつが聞きかじりだけで書いてるってわかるわはちまDMMは
しつこいぞ
グリップだけではなく本体だけでなく本体の方も特許に記載されてる
PSPはマルチメディアプレイヤーとして全世界でバカ売れしたよ
その後続を狙ったVITAのセールスはけちょんけちょんだったがねw(言うまでもなくスマホに全部取られた)
今のVITAは事業としての旨味は確かにない(和サードの延命とアジア市場の開拓に役立ったくらい)
が、そこに置いておくだけで競合他社を痛めつけることができたのは良かったと思うわ
VITAの次が出るとしたら、これは予測だが、PS4の成功に倣ってスマホの二番手を目指す形になる
もしそれが成功しなかったとしても、VITA同様に某競合他社をグチョグチョには出来ると思うわ(あとは和サードの延命とアジア市場のさらなる開拓も)
もう、その食いつき方やめとけって、今までもお前みたいなのいっぱいいたけど最後にはビービー泣くだけから
勝ちハードが市場奪われるなんてありえないでしょ
20年の中で任天堂がPSに勝ったのなんてあの一発芸が受けたあの2.3年だけ、
それに一発芸が沈んだ後、今は利益がろくにでてないじゃないw
利益なんかでゲームを考えてるから先が読めないんだよ
それとVitaはモンハン奪われた時点で負けね、そのかわりカプコンと任天堂は沈むってちゃんと言ってきた
まだまだMHはDQと同じく10年は囲われるよw
逆にMHをPSに奪われちゃったらまたPSPとDSの二の舞だからね
だから出すのさw 任天堂はVitaの後継があるだけで死ぬんだよ
任天堂1000億の営業利益が突然消えた年を見てみなよ、Vita発売とMHを囲い込んだ年だから
つかそんなに泣くなよw
元々おもちゃ屋に勝ち目なんて無いんだから
薬やって幻覚でもみてんのか?
失敗してビービー泣く羽目になったのはVitaだろw
そんで確かに置いとくだけでSCEの利益の脅威になってたなw
牽制どころか逆にPS3の足引っ張る糞ニートぶりったら見てられねえよ。お前のようにさw
あとなんでモンハンを囲むと営業利益が減るの?
営業利益って稼ぎであって貯金じゃねえぞボケ
マジでお前外出て働け
あまりにも世間知らずすぎて笑えねーわ
PS3の足引っ張る、ってなんの話じゃ?
普通言論に負けてから最後にリアルがどうこういうもんだけどさw
訂正するわ、最初からニートとか出してる時点でもうビービー泣いてるね
どうせリアル比べる?って言うといつも逃げちゃう人でしょ君?w
Vitaが負けようが、SIEは絶好調じゃないですか、任天堂はどうですかぁ?w
将棋だって戦争だって、あえて搦め手や挟み撃ちに人手を使うんだよ
>あとなんでモンハンを囲むと営業利益が減るの?
任天堂がモンハンに巨額の資金を払ったってもうメディアにもすっぱ抜かれてますやん
ねぇ、利益がすべてのあなたならわかるでしょ、任天堂から利益が消えたのは何年ですかぁ?w
最初からリアルだしてくるとか
飛ばしてるね、このニシ君
GKを恨まずに考えの浅い自分を恨んでねw
「任天堂らしい利益水準を達成する」ために「3DSを2.5万で売り出した」のに「競合他社が発表した同価格のハード」にビビって「1万円も値下げ」したんじゃないか
そこで減った分はどこに跳ね返ったんだ?
指折って計算して見たらどうだ。おたくの手が豚のヒズメじゃねーならできるだろ、多分
おかげで進化が遅れたんだから
あれを皮切りに今の任天堂の凋落が始まったとゆーのに
お前らがVITAを憎む理由すら忘れちゃいかんだろ、さすがに
売れたら任天堂の利益で良いやん
売れなかった赤字分はモチ任天堂持ちだな
これも売れなさそうだ
ねえ虫くん。お前らホントに糞ニートなの?
営業利益は稼ぎであって貯金じゃねえっつったよな?
モンハン囲ってなんで営業利益が減るんだよ?営業利益からカプコンに金渡したって言いてえの?バカじゃねーのマジで
で、Vitaが負けたって自覚しててなんで後継機が勝てると思ってるの?
主張がコロッコロ変わってるけど要点まとめろよ
>>913
お前も前後のやり取り見て。下のバカはモンハンを囲ったら営業利益が減ったとか頓珍漢なことぬかしててそこを突っ込んでるんだから
お前が虫頭じゃねえならコメントの番号を指折って計算して見たらどうだ。
「モンハン囲ったから営業利益が減った!」
これ見て社会人だと思えって無理だろ
お、いるのか、偉い偉いwだからさwリアルの話は最初から飛ばしすぎだって(顔真っ赤の気持ちは分かるけどw)
リアル比べますかぁ?w その後でニートかどうか結論付ければえーやん
>で、Vitaが負けたって自覚しててなんで後継機が勝てると思ってるの?
まだ分かってないんだね、Vita後継が勝つ必要なんてないんだよ、そこに「角」が存在してるだけで任天堂は死ぬんだから
んで、仮にMHがVita後継に帰ってきても任天堂は死ぬのねw どっちでも死ぬのw
913を擁護してやると、アンバサとMH含むPSソフト囲いはセットだよ、だってあのままだったら負けてたもんVita発表時はカプコンも登壇してMH試遊してたのね、あの時はニシ君完全に負けを覚悟してたよw
ねぇねぇ、、、、いつまでも答えないけどさ、いつから任天堂の利益がなくなったんですかぁ?w
減りましたやん、利益が減ったのはいつからですかぁ?
現実見ない人の台詞がニートがー、ニートがー、困ったもんだw
DS後期50本
PSP後期250本
なんで勝ちハードにソフトがなくなるんですか?
チョニステオワッタな
ああ。すべてはこれからだ。
お前誰と勘違いしてんの?お前みたいなアホとは初対面だよ
んで、Vitaは角すら立たずに国内、海外でも3DSが売れただけなんだけど、なんで後継機でそれができると思ってんのっつってんだよ
勝たなくてもっつーけど、利益出ないんじゃお荷物にしかならないんだけど会社をなんだと思ってんの?
ついでにカプコンって売れる方に出すだけだから売れもしないVitaに出すわけねーじゃん
Vitaの前に3Gがあったのに何いってんだろうかこの馬鹿
ブーメランが頭にグッサリ刺さってるぞwwww
他の人も言ってるが専用ソフトが出る携帯ゲーム機というよりコントローラー付きのタブレットって感じだと思う。もちろんリモプも出来てPSNowにも対応するやつ。あとはアーカイブがどうなるか
モンハン囲った=営業利益が減った
ここが意味不明だっつってんの。
根本的に勘違いしてるだろうからこの4つの違い説明してみ
・売上
・営業利益
・経常利益
・純利益
これだわ。スイッチが急造なのも納得
あ、やっぱリアルから逃げんのか、自信ないならリアルなんて持ち出すなよ・・・
>角すら立たずに国内~
そのVitaがでただけで任天堂壊滅してますやん
いまやメディア、一般人に至るまで任天堂は負け組みって答えるでしょ、あればイーんよ勝手にカプコンに土下座外交はじめるんだからw
>利益でないお荷物
そんなん任天堂だって抱えてるのにスイッチだしたやん、3DSの後継だって出るでしょ
利益でないのにぃw
カプコンだって馬鹿じゃない、30年もゲームやってんだぜ、どのゲーム機にユーザーがいるって分かってるよ、任天堂に独占したらバイオみたく死ぬことは過去の歴史からあきらか
巨額がいくらか知らんけど1000億の利益が3年も赤字になるような投資だったのかもねーw
売上げだか
経費や給料などふくめ本業による利益
株なんかの利益を加え
税金なんかをいれる、、、ってとこでしょ
MHの開発費や、宣伝費を任天堂が出すとすれば、本業からの捻出でしょ
あとDL版の売上にも含めやすいね
中身の検証難しいし
PS携帯の存在が任天堂を追い詰めてんさ
リアル馬鹿は、本質が分かってないから最初のレスからビービー泣くんよ
さっきからお前の脳内だけで話が進んでるんだけど、壊滅ってなんだよ?何がいつどうやって壊滅したの?
ただあるだけならVitaで充分だろ?
つーかお前らが散々、海外で携帯機は売れないっつってたのにまた同じ徹踏むの?
そんで出せば勝手にカプコンが後継機に出してくれると思ってんの?
>MHの開発費や、宣伝費を任天堂が出すとすれば、本業からの捻出でしょ
全然ちげえよ馬鹿。なんで任天堂の本業の利益から出すんだよ
利益ってゲイツのポケットマネーとは違うぞ。
お前が言ってる投資って資産のことだろ?
営業利益を資産扱いしてるから指摘してやったんだけど、社会人を自称してなんでこんなことがわかんねえの?
3DSは岩田も言ってたけど、ゲーム機史上最高のロンチなのね
つまりPS2なんかよりもすごいレパートリーだったんよ、それがVitaにすらソフト数で負ける始末
勝ちハードPS2より金かけて、Vitaにすら手こずってる、、、、利益もポケモンGOでやっと確保したのかなw
WiiUはごらんの通り、ついにはGC時代を下回り売上げ4000億すら危うい、、、壊滅してますやーんw、負け組みですヤーン
経費でしょ、ソニーが下請けの給料払って物つくらせたら本業あつかいでしょ
経費がかさんで赤字になった、そんだけですやん
カプからロイヤリティーもらえなかったら収入へりますやん、利益減りますやん
で、リアルはいつ比べるのかなぁ?w
3DS向けのタイトルは吸い込んだし、PS3-WiiUマルチされるはずのタイトルもVITAマルチとして吸い込んだ
が、Switchの頭を押さえるって観点からいうとさすがに弱い
今後数年のことを見据えるなら、この辺で更新かけておくのは悪い判断ではない
そのレスでガキがどうとかリアルを持ち込んだからな
それが途中から営業利益にこだわってるのはそこでしか逃げる出口が見えないから
任天堂の投資の方法なんてしらねぇよw
巨額の投資があったのは状況証拠から明らか、
さらにマスコミにもすっぱ抜かれてるのと、その年から赤字まみれ
この事実が任天堂の狼狽ぶりを証明してんねんw
今やスマホがでてきてどうしようもない。
リークした情報を流してやらかしただろ・・・
現段階のそれだけの情報ではまだなんとも言えないけど
ソニーの新型携帯機が出るとしたら
PS4と連動するレベルのスペックを要するから本体価格は高くなりそうw
やったら任天堂みたくなっちゃうからソニーはやらないと思うけどねw
iPodTouch6程度の性能とFHDディスプレイがついてりゃ十分かな
本体で遊ぶ時は720pからの引き伸ばし、リモプ時にはネイティブ1080pで、って感じで
>勝ちハードPS2より金かけて
全く聞いたことがねえわソースよろ。
で、お前の論って売上が下がった、赤字になったから壊滅とか言ってんの?w
やっすい理論だな。そんならSCEは何回壊滅してんの?w
>カプコンからロイヤリティ
これもどこソースよ?
なんかさあ、フィリップスの2000億の件で倒産倒産騒いでキャッキャしてた馬鹿とかわんねーな
利益が出るかどうかもわからねー携帯機出せば牽制になるとか甘っちょろいことぬかすし、やたらリアル()にこだわるし、ガキか糞ニートじゃなきゃなんなんだっての
3DSのカンファレンスとかでググってみ、動画あるか分からんが岩田がドヤ顔で史上最強のロンチって言ってるから
最強のロンチをそろえられて、ハードも売れたのに、サードはその後離散、カプコンだけが一人3DSでソフトだしてる
サードが選択して選んだ勝ちハードがそのもくろみどおり売れたのなら、サードが離れる理屈がたたない
投資の方法なんてしらねぇ、っつってんだろ、営業営業馬鹿なのかな?w
本質はVita登場で任天堂が壊滅したってことだよ、MH囲った日本だけなんとか生き残ってるよねw
ちなみにはちまにも東洋経済に任天堂がカプコンのモンハンを囲い込んだって記事あったよ、結構有名だとおもうが
突然リアルにこだわり始めたのは君だよぉ、、、じゃあリアルでやるかい?
って聞くとだんまりになるから面白くていじってるだけですw
VitaですでにPS4と連動してるんですが・・・その程度のことをドヤ顔でこれは据え置き機です。3万ですってやってるのがスイッチだよ
Switch向けのマルチは根こそぎにできるだろうし、牽制役としても十分
もしVita後継が出ちゃったらソニーもニートって扱いになっちゃう
Vita後継の影がちらついてきて相当焦ってんのかねw
人を説得したいなら数字を積み上げるだけで良いのにね
なんかこう、ほわほわとした任天堂勝ち組説を振りかざしてくるからおもちゃにされる
>ほんと馬鹿だねw Vita後継でれば任天堂が潰れるからだすんだよw
お前意気揚々とこんなことほざいて、後から勝つ必要がないってブレブレなことほざいてんだけど、角が立たなかったVitaがいつなにを壊滅させたの?俺ルールの脳内ソースもいい加減にしてくんね?
>カプコン一人
きみサードの意味分かってる?別にサードって専属じゃねーし、カプコン以外にも出してるんだけど
>突然リアルにこだわり始めたのは君だよぉ
いや、お前だろ馬鹿。やるかい?ってお前一人でやってろよw
あと俺の言うガキって精神年齢も含んでるからさ。そのまま捉えてリアルガーって発狂してんのはお前だよ
ほわほわした脳内ソースでVita後継機勝ち組説振りかざす馬鹿に言われたくねーわ
全然ぶれてないけど、現に負けハードVitaが勝ってないのに任天堂を追い込んでますやんw
>カプコン一人
出してるのは子供向けでしょ、そんなん最初から任天堂が正解じゃん、そんなもの一緒にしてるから物の本質がみえないのさ
無双、テイルズ、SF,バイオ2本、ミク、Gジェネ、DOA、鉄拳もっとあるけどなぜ初年度にこれだけ売れた勝ちハードに次のをださないのかね、金くれないからが、合理的でしょう?
>いや、お前だろ馬鹿。やるかい?ってお前一人でやってろよw
え、比べられないの?じゃあ君は君のいうガキ以下ってことが証明されちゃうけども・・・・
自信ないなら中途半端なこと言わないでー、頼むわw
脳内ちゃうやん、ソースググってきなよw
カプコンに巨額投資っていう推測は、当初はお前みたいな馬鹿が顔真っ赤にして否定してたんよ
でもついにマスコミにもでるようになった。
合理的に考えられないから先が見えない
Vita後継でちゃったらソニーもニートですねぇ、こりゃたいへんだぁw
>現に負けハードVitaが勝ってないのに任天堂を追い込んでますやんw
だからソースもなしに言わないでマジで
何を追い込んでんだよ?お前の頭ん中でか?
>え、比べられないの?
あのよ。何がしてえのお前
何比べるっての?図星突かれてリアルガーリアルガーってみっともなくわめいてるだけじゃん
だから調べておいでーな、任天堂が赤字まみれになった年
俺レッドアンバサだからよーく覚えてるんだよね、買った2週間後に100万のユーザーを憤慨させるような値下げ、そっからMH2本発表、そして赤字
もしかして3DSすら持ってないからそんなふわふわしたこと言えるんじゃないのー?w
何がしたい、ってガキじゃないってことを証明したいけどさ、
いいだしっぺの君と比べないと証明する意味いみないじゃん、はよしよーやw
君は俺はガキ扱いして言論の上に立ちたい、その薄っぺらさを逆手にとって煽ってるんだよ
君のやってることがすべての起因なんやで~、このままだとニートガキ認定しちゃうよぉ?w
散々な結果だったVitaの後継機が任天堂を潰せるってソースどこ?
>ほんと馬鹿だねw Vita後継でれば任天堂が潰れるからだすんだよw
これお前が言った言葉だよ。
別に誰も勝つとは言ってねーだろw
中小和サードの助けになる、アジア市場開拓の助けになる、Switchの妨害の役にたつくらいは言ったがさw
なに、アンバサダー程度で追い込んだとかほざいてんの?w
3DSはマリオ3Dとセットでブルーを買ったんだけど、アンバサダー知ってんなら手痛い赤字を出したけどその後逆ざや解消して持ち直したってのも知ってるはずだよな?
Newも出て、常に週間売上はずっとVitaより上だよね。で、これのどこが追い込んでんの?
Vitaなんかマイクラ以外全然パッとしねえんだけど、なんでこれで後継機が潰せるとかほざいちゃったの?
で、何を証明すんの?ニートって言われたのがそんなに悔しいか坊や
VitaにMH取っちゃえばほとんどのサードはPSPの時のように流れるし、MH取らなくてVita相手に赤字吐きまくってる事実は否定できない
まぁその気になればコンテンツでも売りさばいて生きていけるだろうが
ボッコボコにして、死に体にしちまえば二度とCSの覇権とろうなんて思わないだろ、正直ゲームの邪魔なんだよ
俺はそれでえーねんw
なんかもう言葉尻だけ取りあげた極論に走ってるんよ君
だからやめとけっていったのに、、、、最後にはビービー泣くって予言してやってるだろ?w
任天堂のようなソフト資産がねえ上にスマホの台頭で携帯機自体が売れなくなってきてんに、開拓なんてできるわけねーだろ
だから甘っちょろいっつってんだよ
でもスイッチ携帯機としては性能かなり頑張ったからな
スイッチより格段に高性能な携帯機作るのは当分無理そうだから、VITA2は差別化難しいだろうな
えっと、今年の4ー6期は営業赤字だったはずだが、、、
ポケモンGO発売した後から黒字ね、ほんとに3DSが持ち直してるのー?
たとえ赤字はいて立ち上げたハードが少しの利益で喜んでもしゃーないやろw
ふふwもっかいリセットしたらまた赤字かなぁ?w
>で、何を証明すんの?ニートって言われたのがそんなに悔しいか坊や
そうなんだよ、だから証明したいのに、言いだしっぺがだんまり、逃げの一手
「殴られ損」ならだれだって悔しいだろ?w 俺はニートじゃないやい!って証明したいと思うのは人である以上当然の理屈w
言葉尻じゃなくて、お前のレスに突っ込みどころが満載なだけ
Vitaには既にフロンティアってのが出てんだろ?
それと、任天堂に言ったカプコンに恨み言吐き出して、モンハンの売上落ちたことに散々、狂喜してたくせに今さらまたモンハンか
都合がいいなオイ
追い込んだだの潰せるだの言ってるやつがゲーマー気取らないでくんね?
ソフト資産言うけどさ、大したことないよ
おそらくだけどハード事業やめたらスクエニ以下かもw
その程度でハード事業やれるなんてやれんだよ
PS4みたいに凝ったゲームを小画面でやる意味がない。低価格でタッチできて気軽にやれる携帯ゲーム機が売れる。
だから携帯ゲーム機はスマホのせいで本当に詰んだ。(・-・)
なんか認識嚙み合わねーんだよなー
そもそも任天堂はアジアにまともな販路持ってないでしょ
SIEはPS4やらVITAやらでちまちま販路広げてたけどさ(中小の決算でもアジアでの売上増加が報告されるようになって久しい)
台湾とかはすでにPS4一色らしいが、まあ、あれと比べるとVITAは性能的に見劣りするからね
せめて最新スマホと遜色ない携帯機が必要なわけよ、単純な商材としても
まあもちろん、PS4一本で攻めに攻めても良いんだけどねぇ
突っ込みどころがないから、言葉尻とかガキとかニートとか本質飛ばして顔真っ赤にしてるんでしょ
いつまで経ってもソース調べてこないし、リアル比べることもできない
参った参ったw
Vitaが発売されたときから任天堂は嘘みたいに負け組み化したって数字が語ってるんだものw
それはだれにも否定できねーさ
ちなみにモンハン潰れたら日本のゲームの夜明けだとおもってるw
海外じゃ任天堂みたいなガキ向けニッチ市場にゲーム独占させて半減させるとこなんて存在しないから
クリーンな競争こそ面白いゲームを生み出すと思ってる
PS4はPCの2番手を目指して大成功したからなー
スマホの2番手(例えばゲーム用途に絞って)を目指すってのはそれなりに有効かもしれん
まあ、その需要がどれほどあるかは不明だがw
はやくリアル比べようや
それでリアル君は逃げて終り
それ、3DSじゃなくて任天堂全体の業績だろ?
そもそも3DSでてから何年経ってるよ?
3DSに限らず全体的に失速してんのに、Vita無視して3DSだけあげつらっても馬鹿としか言いようがねえんだよ
木を見て森を見ずって言葉が似合う典型的な馬鹿だねお前
横だけど
なんで「ニート」に関する問いかけはスルーするわけ?
スマホと変わりねえなら尚更、据え置きのPS4でいいやってなるだけだろ
どうやっても携帯機は据え置きの性能越えられねえのに、なんで台頭できると思ってんだコイツは
>Vitaが発売されたときから任天堂は嘘みたいに負け組み化したって数字が語ってるんだものw
だからさあ、追い込んだといい、これを裏付ける確固たるソースはなんだっつってんだよ
あとめんどくさいなら消えてくんね。こっちも脳内ソースで喋る馬鹿相手にするのもうんざりするよ
そうだね、任天堂は魔法使いじゃない、だから3DSに労力や金注いだら、次のWiiUには注げない
残念だけどこの世界はゲームのように金を生み出せるわけじゃないんや
つまり、「飛車角(Vita)」を急所にうたれたら「王(任天堂)」も身動きできない
そういう理屈でシェアや覇権を争ってる
全体?はぁ?
ソニーは失速してないよw Vitaもしっかり任天堂の首根っこ押さえてる
やばいなこいつ、森みてますかー?www
やだよ、殴られ損は悔しいやん
殴ったら殴り返される、薄っぺらいこというと人間は追い詰められる
それを君に教えるために比べるか比べないかはっきりするまで付き合ってあげるw
それともビービー泣きますか?
だから誰も台頭なんて言ってねーだろ、勝手に言葉付け足してんじゃねーよこのウスラバカがw
ねえマジでお前ってどこの世界からやって来てんの?
むしろVitaって3DSに踏みつけられてる立場なんだけどw
古くせえ将棋の例えとかさぁ、Vitaがいつシェア取ったよ?
マルチのせいでPS3の邪魔になってただけだろ
散々、言ってるけどVitaが勝ち組だって裏付けるソース出せよ
>>978
うん、じゃ一人で目の前の画面殴って独り言ブツブツ言ってなよ
殴りたい顔がお前の目の前にあるぞ
まぁまぁ落ち着いて、うまい追い込み方は、相手から暴言とかニート発言を引き出してから苛めるんだよ
被害者が圧倒的に有利なんやでぇ
ま、コイツは端から暴言やニート発言してるかなりの低レベルだからいいかなぁ・・・
シェアなんてとらんでいいっていつまでたってもわからんのかな、角が自ら王の首とらなくたって勝てるんだよ
確かにVitaは3DSには負けたこれは全然みとめるぜーw
んで、良く見てみてよ
3DS後継をVita後継が潰すなんて一言も言ってない、任天堂が潰れるんだよ
その証拠にも6年経った今、任天堂全体で4-6月には赤字はいてますやん
>殴りたい顔がお前の目の前にあるぞ
あ、こんどは容姿をたたくのかなぁ?、、、、まったく、、、すぐに君は本質から逃げるね
どうなの?比べるの比べないの?自分の発言に責任もたんかいw
持てないなら今後軽はずみにネットでニートとか言っちゃ駄目だよ、また苛めるからねw
1.PS4がゲーミングPCに劣っていてもPS4は売れた(潜在的な二番手需要があったから)
2.PS4-VITAマルチでも国内・アジアではそこそこ売れてる(ライフスタイル的にCSゲームを携帯機で遊びたいという需要があるから。でも最近はVITAが足を引っ張り気味)
3.VITA専用ソフトは国内・アジアでもそこそこ売れてる(VITAでしか遊べないから。ライフスタイル的にCSゲームを携帯機で遊びたいという需要があるから。でも最近はPS4-VITAマルチ主流だよね)
4.VITA2を出すとSwitchは困る(これは確実。PS4-Switchマルチが画策されているだろうが、それを全てぶち壊しにできる)
5.VITA2が(出るかどうかは別として)最新スマホに劣っていても実はそれはあまり関係がない(スマホではCSゲーを遊べないので)
まあ、「携帯機が台頭」とかいう意味不明なお前の願望を満たすためには、上記の条件以外の特別な潜在需要が必要なわけだがな
だが安心してもらって良い。そんなもんがあるとは俺も別に思ってないw
同じことだろ馬鹿
ついでにVita以上に悲惨になりそうなもんに開拓なんてできないと言っとくわw
>>981
被害者ヅラしてる馬鹿が勝手に勝利宣言たあめでてえ頭してんなw
自分の理解できない範疇を切り捨てるのは楽でいいよな
突然ニート扱いしたら名誉毀損で訴えられるかもれないやん?
訴えられなくても名誉回復したいから証明したいやん?
ねぇ?俺、被害者やんw
被害者が名誉を回復させて欲しいって言ってるんだから付き合ってよw
逃げるなら逃げるって言えばいいのに・・・なんで上から目線で語るやつがいざとなったら逃げるのよ
シェア取れないのになんでVita後継機が任天堂を潰せるんですかねえ?
赤字つっても負債はないし、IR見てから言ってくんない?
>責任持たんかいw
お前が勝手に発狂してるだけで俺は一言も比べるなんて言っちゃいねえけどな
そんで俺は勝手にやってろって言っただけだけど、お前こそ人のレスちゃんと読んでね
貯金が減ってるから数年後に倒産っつってた馬鹿ゴキじゃねえんだからさ
いやいや全然違うってw
理由は箇条書きにしてやったから俺が言いたいことをしっかり汲み取ってくれw
あと「和メーカー」のアジア市場開拓は現在進行形で進んでいて、その時のプラットフォームが据置になるか携帯機になるかは大した問題じゃないんだよ(向こうでは和コンテンツ自体が貴重であるため)
ただ、VITAは昨今の情勢的に役者不足になっていて、和メーカーの足を微妙に足引っ張っている
そのあたりの微妙さを改善するためだけにVITA2的なものは必要だし、あって悪くないと思ってるよw 「スマホを蹴散らして台頭する」かは知らんがなw
アジアでそこそこじゃそれこそ駄目だろうが
欧州が一番シェア取ってんのにアジア狙って勝てる気でいんの?底無しの馬鹿だなオイ
それときみ台頭を辞書で引いた方がいいよ
日本人なのか疑わしいほど、日本語通じてねえからさ
????
意味わからんわ
北米でも欧州でもアジアでも勝ってるってだけだろ?
マジで何言ってんの?
うん、任天堂3DSとWiiUにはソフトでてませんやん
おそらくCSからはろくに利益もでてませんやん
ご自慢の1000億の営業利益がもう6年出ていない、もう手足もがれてるやん、後一回やったらヤバイんじゃね?って話だよ
ガッツあっていいねぇ君w
俺はね、安易な発言してる馬鹿をいじめてるんよw
比べることからずっと逃げてる君の生活のレベルも知れちゃうってことを、暗にここ読んでる人に知らせてる意味もある
だから俺以外にもなんで逃げてるのか聞かれてるだろ?
言論で勝ちたいならそれなりの裏づけがないと誰も君を信用することできないのね
逃げてるかぎり、君は俺以外にもそういう目で見られてるってこと
そのことが、任天堂万歳の薄っぺらさをも露呈してるんよ
お前がなにほざいてんの?
Vita2のアジア開拓のこといってんだろ?
アジアだけでなんで任天堂を潰せるなんてほざいちゃったわけ?
Switchは実行性能クソ低そうだから、あれにゲーム出されてもビミョーなのよね、実際
いや、全部一体になってる話だから
つか任天堂が潰れるかどうかは別にどうでも良いし、そっち方向の話に加担するつもりも特にないよ
和ゲーや洋ゲーの邪魔さえしてくれなきゃそれで良いw
現にVita後継の確率が上がってきてるのに
それを予測できてたGKに対して予測出来てない奴からニートがどうのこうの
ソニーはニートなんだよぉおおおおw
PS4発売前のはちまに来た気分だよ
てかまだ生きてたんだ、こういう気分の人。
今の私にはそれが驚きだわ。
後一回やったらって何をやんの?主語がねえからわかんねえや。
裏付けがないのにVita後継機が任天堂を潰せるとか安易で薄っぺらい発言をしてるよね。
アジア開拓ごときで潰せるとか皮算用してさw
ちなみ累計でVitaはPSPより遥かに下回る1300万だってな
3DSはその5倍以上。で、開拓がなんだって?
日本市場のためにも
いや、こんなVita関連の記事で、ソニーをニート扱いしてる君がおもしろすぎていろんな奴が流入してんのよw
いろんな意見あってもいいじゃない?
アジアに関しては俺はしらんわ、赤字運営しなければ小さな市場でも十分やっていけるとおもうけどねー
ネットやDL版の普及は小さなものに光を当てることができるすばらしい発明
>ほんと馬鹿だねw Vita後継でれば任天堂が潰れるからだすんだよw
これ読もうか。そんで、任天堂を二度とCSに出させないようにした方がいいみたいな恨み言言っときながらホントコロコロ変わるねお前
1000なら任天堂倒産
VITAでも散々いじられたし、Switchでもいじられまくってるし
アンバサとかカプコンに巨額の投資(でソースは調べてきたのかね?w)
アジアはおれちゃう
CSから利益ないじゃない、ポケモンGO発売前まで赤字ぶっこいたじゃない
いい加減にしようよw
3DSを1300万うって、利益はでてない、、、どうしてだろうねぇwどこに使ったのかなぁw
なんでリアルから逃げるのに鼻息だけは荒く食って掛かってくるのぉ?
君はニート以下の糞ニートかも、、、、ってみんなが思ってるんだよ
だから君を誰も信用しない
開拓は私の方やね。その人とは別。
というかそれくらい描き方で悟ろう。
あと単純な事実として、VITA-PS4によって切り開かれたアジア市場は相当なもんだよ
セガの某主力タイトルとかは日本で失った分をアジア市場で丸々補填できてるからね(つかアジア以外での販売拡大も進んでるけど)
・・・・俺ちゃうよw
Vita後継の可能性のある記事でVita後継出すソニーはニートなんだよぉおおお
馬鹿だから突っ込まれてるんだよ
大変だねぇw
だからそうそう簡単に倒産なんかしないからIR見てから言ってボケナス
アンバサは二度としないだろうし、したらこっちだって見限るわ
赤字ぶっこいてるから、Vita後継機出せば潰せるって?なにその皮算用
そんで3DS1300万ってどっから出てきたの?お前唐突で意味わかんねーんだよ
でさあ、お前死ぬまでリアルリアル喚いてんの?w
オウムみてえだなお前
おもしれーから今から外出てでかい声でリアルリアル叫んでこいよ。もちろんダッシュでな
MSや任天堂はその辺よわっちい
こういうことも加味して考えた方がゲハ論争は面白くなる(現状起きてることが理解しやすくなる)
ああ、そりゃすまんかった。VITA-PS4っつっても割合としちゃ、PS4の方が上だろう
アンバサってかね、ハードを赤字で出す可能性は十分あるでしょ
携帯機って柱が無くなったら社員食わせていけないから、とりあえずシェアが欲しくてね
さぁ、ソニーがカウンターに安いハードにカプコン抱きこんで先に出しちゃったらどうなるだろうw
ソニーはそんな馬鹿じゃないからやらないと思うけどさ、君みたいなのが顔真っ赤になって面白そうだよねw
1300万はごめん、Vitaの数字を3DSの1年と勘違いしちゃった。俺はちゃんと謝れる子なんでw
>オウム
いいねぇw 煽ってるつもりかな、ニートニート大声あげて人を馬鹿にしてるやつが、いざ証明を迫られたら逃げる、うすら寒いねぇ
そんな最底辺の馬鹿まちがいない人間がいくらほざいても、鼻息がすこしでてクスっとなるだけですw
VITA-PS4マルチがメインだからユーザーは好きな方で買うだけやね
まあ、どちらにしようとSwitchが入っていける市場でもないからな、SIEの思惑で好きに販拡するだけだわ
SIEの柱はPS4とオンラインでVitaじゃねえよw
>さぁ、ソニーがカウンターに安いハード
Wiiより先に特許を出したmoveもそんなこと言ってて結果は推して然るべきになったよな
VRも今んとこソフト全然出てないけどどうすんだろうなあ?
>鼻先でクスッと
うん、必死こいて名誉毀損ガーリアルリアル、比べる比べると馬鹿みてえに書き込んでると思うとお子様ってほほえましいなと思うよ^^
ムーブって突然どうしたwそんなもんソニーからしたらWiiへの「飛車角」だろ
売れなくたって問題ないよ。VRは未来への投資
苦しくなって違うものもちだすのもよくないよー、任天堂はVita発売から利益が出てない、PSPのソフト奪ったのにろくにソフトもでてない、その本質で語らなきゃw
だからほれw
比べるの、比べないの、Vitaと同じや、俺はどっちだっていいんやでぇw 口だけなのかなぁ?
はっきり次で名言しないなら、ニート以下のクソニートって呼ぶから
反証できない、意思がないなら、コレは確定だから否定したりしないでねw
クソニートの発言でニートは馬鹿みたいにいってたやん
お前馬鹿なのぉ?
何いってんだこいつ飛車どころか歩にすらなってねえよw
発売したきり、話題もなく消えたのにどんだけお高く見てんだよ
苦しくなるもそのお三方諸氏共々どれもパッとしないまんまだろうがw
Vitaの後継機が潰せるってほざきながら任天堂の利益ガーに擦り変わっちゃってんだけど、お前の本質であるVita後継機様はどうすりゃ任天堂を潰せんだよw
それと奪ったとか、サードは誰のもんでもないよ。自分のもののように扱うとかあつかましいよお前
お、クソニート
クソニートが最初の方で言ってた
ニートは妄想かかえてる馬鹿なんだってさw
だとするとクソニートとは話す価値なんてあるのかなぁ
ねぇあるのー?w あるのか無いのか答えたらちゃんと返答してやるよ
現実でも同じ
飛車角とか偉そうに言ってるけど北米で爆死してる時点でもう負けてんの
そのくせして唯一の拠り所が業績持ち出してきてんだからなぁ。Vita関係ねえじゃん。
そんで売れなくてもいいなら出す必要ねえじゃん。
ソニーは巨大企業だけど利益にならないこといつまでも続けねえよ
ついには安価もつけられないクソニート君
俺はニートとは話す価値ないと思ってるからあとはクソニートを煽るだけだね
オウムがー、ガキガー、俺の予想した通り逃げて逃げてビービーないとるでw
そのブーメランがささってるだけなのに、「個人攻撃に走ったかあ。さすがガキだなw」
ちゃうちゃう、さいしょからココがクソニート君との議論の終着点w
クソニート君の発言をクソニート君にぶつけるのが目的なんよ
>いつまで経ってもソース調べてこないVitaがどう勝ったのか、その数字のソースも出さないくせに何いってんだかよ。
否定してねーのは世間知らずのお前だけだわ
>ちなみにモンハン潰れたら日本のゲームの夜明けだとおもってるw
それなのに、Vita後継機にモンハンが出れば任天堂を潰せるのかw都合のいいなあこいつ
ホントはVita後継機ごときじゃ勝てると思ってねーだろw
Vita勝ってませんやん、そんなこと一言も言ってない
Vita出したら任天堂が死んだw
何が起こったんだろうねー、って任天堂の売上げとかカプコンへ巨額の投資なんつー記事を用いて話してるだけー
ってくそニート君?他人?
くそニート君なら君の個人攻撃した発言ぶつるだけっす、引用してぶつけていい?w
ソニーはVitaがやった功績をどうみてるかなんてわからないやん
少なくとも後継の存在がありそう、って記事なんだからVitaが存在したことになんらかの評価をしてんだよ
2011年 売上げ 10143 利益 1711
2012年 売上げ 6477 利益 ▲373 (Vita発売アンバサ、モンハン囲い込み)
2011年以前は一度も赤字をだしたことはありません
2012年以降、赤字続きでCSではほとんど利益が出ていません
ちなみに2012年にはPS4の影も形もありません、Vita発売したらこうなった
後継機が出れば任天堂が潰れるってバカなこと言ってるのをからかってるだけw
ついでに任天堂はwiiDSバブルで岩田の調子乗りでコケただけで普通に生きてる
元々GCまでの売上に戻っただけ
というかソニー自身見通しがよくないって言ってたからスマホに食われてる今出してどうすんの
WiiDSの売上で図体太らせ、その上でGCの売上まで下がってんだがな
単純に上がり下がりしただけではない
これ25000円ってバカな価格設定したせいで従来より全然売れなくて逆ざやして3DSが勝手にコケただけだろ
まあVitaの発売に慌てたのは確かだろうけど、別にVitaの功績じゃない
はい、1023
明暗はっきりくっきり、潰せるってのは色々あるからなぁ
俺はね、CSに手出しできなくなるんじゃないかと思ってるんよw
現実にこの結果が元でWiiUにテコいれできなかったでしょう?初年度だけで3DSにろくにソフトでないでしょう?
確かにコンテンツ企業としては優秀だから遊園地でも
スマホでも言ってガチャやって生きていけばいいやん
関係ない企業になるからどうでもいいのよ
(バカな、数字の存在を認めた、だと?!)
てかそれはさておきだな
VITAを殺すために値下げしたに決まってんだろ、こんなもん
なんで頑なにVITAとの因果を切りたがるわけさ?
Vita発売に慌てたからフレアレッドだして二週間で1万値下げなんてことやったんでしょう
モンハンに巨額の投資ってのもメディアにすっぱ抜かれてかなり現実味を帯びてる
↓ココ大事よ↓
そもそもVitaを恐れてなけりゃ値下げもモンハン囲いもする必要がないじゃないですか
任天堂のコンテンツはそれだけでガキにうれるんだから、値下げするにしてもユーザー軽視のあんな無茶なやり方は必要ないのよ
DSのソフトが50本くらいまで減って、PSPは250本で、右肩あがりだった
つまりVitaが普及してしまったらDSPSPの末期が続く可能性があったからあれだけの大鉈を振った
これは噂だけどカプコンに300万台の販売を条件にだされたとも、言われている
イワッチはその毒饅頭を食らったと考えるとアンバサの筋が通る
こんな状態で他のサードが3DSに本気タイトルぶち込む訳がない
妄想クソニートだからw
なんでも何もなにを頑なにVitaの功績にしたがるのさ?
そっちの方が不思議でたまらんよこっちは
1023みればそう考えるのが一番合理的で筋が通ってるからだよ
アンバサの直前、
当事の3DSはPSPにも週版でまけ、MHP3は500万本を記録、後継のVitaが25000という衝撃の価格だった
Vitaの功績というよりはPSPの功績っていうのが一番しっくりくるかもだけどねw
いや、自然な流れだろ? VITA殺すために値下げして、VITA殺すためにモンハン抱えこんで販売数保障までつけてさ
これでVITAの影響薄いとか一体何考えてんのかまるでわからんわ
ついでだからカプコンのミリオン自慢ページ(公式)でも引用してみようか
MHP2G(PSP) 販売数 380万本
MH4(3DS) 販売数 410万本
MH4G(3DS) 販売数 410万本
MHX(3DS) 販売数 420万本
もうすごいよね3DSでのMHの安定っぷり
次出るMHXX?もきっちり400万本売れちゃうねこれは!(棒
PSPのは実売で400、500行ってたけど
いや、カプコンが売れた言ってるんだから誰かに売れたんでしょ
誰かは知らんけど(棒
PSの場合後継がでてもしばらく前世代が頑張るからPS3が最初コケていても実はPS2が頑張っていて
任天堂据え置きに売上げで負けたのはたったの1年だけ
DSがいかにPSPに押されて売れなくなっていたかわかる数字
ソース提示してやってんのにソースに触れようとしない馬鹿にはこっちから貼るしかないのか
さっさと1023貼っとけば妄想クソニートもすぐにいつものニート生活にもどったのかもね
豚はソース探せるし数字も読める。形勢不利とみたら逃げもする
こいつは豚並みの仕事もできないただのbakaだわ
必死にネガティブ入れてないでVitaとPSPの因果関係もなくなぜあんな危険な値下げをやったか
その理屈を合理的に説明してみなよ
監視してるのに人格否定すらできずに、泣きながらbadいれるだけ
ニートの限界やな、だから最初にやめとけって言ったのにねw
bakaはDMMに足を向けて寝れんぞw
はちまにこのシステム入れさせたのDMMだからなw
これだけ付き合った俺も馬鹿だけどw
今までのニシ君ってこういう風に揚げ足とられたり、リアルで追い詰めたり、ソースで追い詰めたりすると
すぐ逃げてたんだけど
ニシ君にも過去の現実をしらない子供世代の新種が現れてるのかねぇ
新種ポケモン爆誕やなw
単に携帯機市場が死んだから任天堂が必死にvitaを邪魔しても無駄な努力になっただけだろ
市場が死んでるならどれだけ力を入れても意味ないんだから
Vitaが任天堂を潰すとか直接苦境においやったとは思わないけど
アンバサする強い理由の一つはVitaではあっただろうね
そしてVita2が出るのと出ないの、どっちが任天堂が困るかって言ったら出るほうが困るだろうな
おそらく予定されてるだろう小型携帯専用Switchと直接の競合になるし
携帯機の主戦場は国内になるしVita2は国内ではそれなり以上の存在感を示すのは間違いない
PS4とのマルチ開発環境を魅力に感じない国内サードはいないだろうしな
更に発売タイミングによっては先行される形になるから、先行逃げ切り型の任天堂にはかなりやっかいだろう
アニメゲーの居場所すら無くなって来てんだろ
PS4とのマルチももう限界だ
てかHDMI接続は標準にしてよ携帯機も
あと理由あるとしたらモンハンのためにさっさと売り上げの下地を作りたかったってところか
図星突かれたクソガキがリアル比べる?とかガキの背比べレベルのクソニート丸出しのクソ寒い論理で突っかかってるだけなんだもん
もう一人の馬鹿も数字を認めた?とか当たり前のことで突っかかってるし、世間知らずのガキが来てるだけ
普通に調べりゃVitaなんて産廃に力なんてねえし、こんなところでガキの背比べしても意味ないんだよね
働いてりゃこんな言葉出てこねえって
自分の発言に責任持たず軽々しく上から目線になっててgoodbadでキャッキャしてるような馬鹿がいるようじゃここも終わりだな
リアル比べる?と言いながらビービー泣くガキw
ホント頭わりーよなこいつw
Vita程度が飛車角とかどんな教育してたらこんな浅い考えが浮かぶんだろうか
PSP唯一のキラーソフトが文字通り奪われたからvitaが死産してんのに、任天堂を追い詰めたw笑わせんなボケ
未来への投資?ドブに捨てたの間違いだろw
利益がでないものを投資とはいわねーよカス
>反証できない、意思がないなら、コレは確定だから否定したりしないでね
お前みたいなクソニートよりワンランク上の生活してるよゴミ野郎
散々言ってるけど任天堂に勝てないから出す意味ないっつってんのに出したら牽制になるとか社会舐めてんなこの馬鹿
図星突かれてビービー泣いてるガキのお前が馬鹿ダヨ^^
実際、利益が出そうにないものを売れなくてもいいから出せば任天堂を追い詰めるとか経営をなめたこと抜かしてるボケが社会人とか恥もいいとこなんだよね
お前なんざに価値なんかねーよ
自分の発言に責任持たず軽々しく上から目線になるからこうやって揚げ足とられて相手にされてなくなる
現実でも同じ
すげえw見事なブーメラン
人をクソニート呼ばわりして、テメーの都合だけであることないこと喚いてる無責任なガキが社会人だってよwふざけんなバカヤローが
>オウムがー、ガキガー、俺の予想した通り逃げて逃げてビービーないとるでw
図星突かれたテメーがか?w
社会人なら利益度外視で売れなくてもいいから軽々しく商品出すなんて言わねーよボケ
クソニートじゃねーならスルーできる案件にネチネチ噛みついてきてるからどう考えてもクソニートなんだよなぁ
>ちゃうちゃう、さいしょからココがクソニート君との議論の終着点w
クソニート君の発言をクソニート君にぶつけるのが目的なんよ
テメーでテメーにぶつけてどうすんだクソニート
利益でなくてもいい?馬鹿か死ねよ
>Vita出したら任天堂が死んだw
は??????
マジでどこの世界線から来てんの??
死んでんのはお前の頭だろ
これは3DSの逆ざやであってvitaが潰したってわけじゃねーんだよぁ
言うなれば任天堂のただの自爆なんだけど、クソニートの糞の詰まった頭だとvitaが潰したという因果に持ってけるんだからお花畑もいいとこだわ
はぁ…
色々もねえよ。潰すは潰す以外の意味しかねーだろ
>自分の発言に責任持たず
ブーメランじゃんこいつ
WiiUのは性能がPS3と変わらないからっつってソフトが揃わなかっただけなんだけど
時系列も理解してないうえにテメーの都合で因果関係を無理くり付け替えてんのがホント腹立つわ
心配しなくても資産1兆無借金の企業が早々潰れたりしねーよ
売れなくてもいいから出せば任天堂を潰せるとか勘違いしてる社会知らないクソニートにゃ一生わかんねーだろうがな
そもそも値段同じでもvitaは売れねーと思うがな
携帯機で25000円が高すぎるから売れなかっただけの話。
VRが投資とか軽々しく言っちゃったり、売れなくてもいいから出せば任天堂を潰せるとか、お前がなに考えてんのかわからねーよ
お前があまりにも日本語の理解できない馬鹿だから
ついでにクソニートはお前
単に売上が落ちただけでPSPは関係ない。
新ハード発売前は前ハードが落ちるのは当たり前
わかってねえのはお前みたいなクソニートだけ
ついでにSCE単体で見りゃ債務超過になってたんだから何年も負けてる計算になるよボケ
クソニートに対してリアル比べる?とかヤンキーのようなクソみてーな理論で返したつもりになってるbaka
Vitaの因果につながらないものがソース?馬鹿だろこいつ
クソニートの生活してんのはテメーだろw
はよ働けクズ
お前は社会の役にも立たないゴミだなw
普通の人は働けるし、働く意思もある。
お前は人並みの仕事もできずにこんなゴミ溜めでキャッキャしてるただのBakaだわw
因果関係を示せてねーのはテメーだろw
岩田が言ってたようにこのままじゃ売れないから値下げ
それ以上でもそれ以下でもねーよクソニート
なに言っても屁理屈で正論をねじ曲げる社会のゴミに辟易しただけですわw
正論を正論で返せないのはクソニートの限界だなw
だいたいクソニート言われてムキになる、やつなんざクソニートしかいねーよバーカ
ピーピー言ってんのはテメーだろクソニートw
そもそもBakaってなんだよw日本語で馬鹿とすら書けねえのか?頭悪そうだもんなお前
文明社会に生きてて、会社の利益損得も理解できない馬鹿は確かに新種だわw
クソニートだから平気で売れなくてもいいなんて言っちゃうんだろうな
俺が上司ならテメーのような無責任な発言する馬鹿はぶん殴るわ
バッカじゃねーのこいつ(lll´Д`)
Vitaなんざがいつ任天堂の首根っこ抑えたよ…
売上でも終始負けっぱなしだろうが
ホント馬鹿すぎて腹立つわ
飛車?捨て駒の間違いだろ
やばいなこいつ…GK見てるかー?この馬鹿引き取れよ
この馬鹿にも言っとくか
アジア圏だけで成功しても他で失敗してりゃハードとしては駄目だろ
んなことしてたら利益にはなっても、新ハードが逆に売れないジレンマが出てくんだけど
理知ぶってるけど利己主義になってる時点で木を見て森を見れないよ馬鹿
>だから証明したいのに、言いだしっぺがだんまり、逃げの一手
「殴られ損」ならだれだって悔しいだろ?w
知ったこっちゃねーよんなこと。ガキかこいつ
テメーからさっさとやりゃいいのになにをお伺いたててんだ
ガキ以外のなにものでもねえだろ馬鹿がw
社会人の立派な大人がリアル比べる?なんてこだわるかよ?
投資の意味わかってねえのになんで営業利益が関係ねえんだ
お前ぶん殴るぞマジで
あまりにも支離滅裂すぎて社会人だと思えないだけ
クソニートじゃねえならスルーすりゃいいのに、リアル比べる(ブサイク面)?とか言っちゃうから余計怪しいだろ
働いてないお前のどこに名誉があんだよ
クソニートじゃねえならさっさと証拠をテメーから提示すりゃいいのに、俺に聞く必要ねえだろうが
>なんで上から目線で語るやつがいざとなったら逃げるのよ
テメーだろ馬鹿。テメーから殴って被害者だ?いい加減にしろよクソニート
スイッチ「え?」