一部抜粋
特開2016-7345 | 知財ポータル「IP Force」
http://ipforce.jp/patent-jp-A-2016-7345
(19)【発行国】日本国特許庁(JP)
(12)【公報種別】公開特許公報(A)
(11)【公開番号】特開2016-7345(P2016-7345A)
(43)【公開日】2016年1月18日
(54)【発明の名称】ゲームシステム
(51)【国際特許分類】
略
(21)【出願番号】特願2014-129599(P2014-129599)
(22)【出願日】2014年6月24日
(71)【出願人】
【識別番号】310021766
【氏名又は名称】株式会社ソニー・コンピュータエンタテインメント
【住所又は居所】東京都港区港南1丁目7番1号
【氏名又は名称】青木 武司
(72)【発明者】
【氏名】鷹啄 信之
【住所又は居所】東京都港区港南1丁目7番1号 株式会社ソニー・コンピュータエンタテインメント内
(72)【発明者】
【氏名】伊藤 和将
【住所又は居所】東京都港区港南1丁目7番1号 株式会社ソニー・コンピュータエンタテインメント内
【要約】
【課題】操作部に負荷を効果的に付与する技術を提供する。
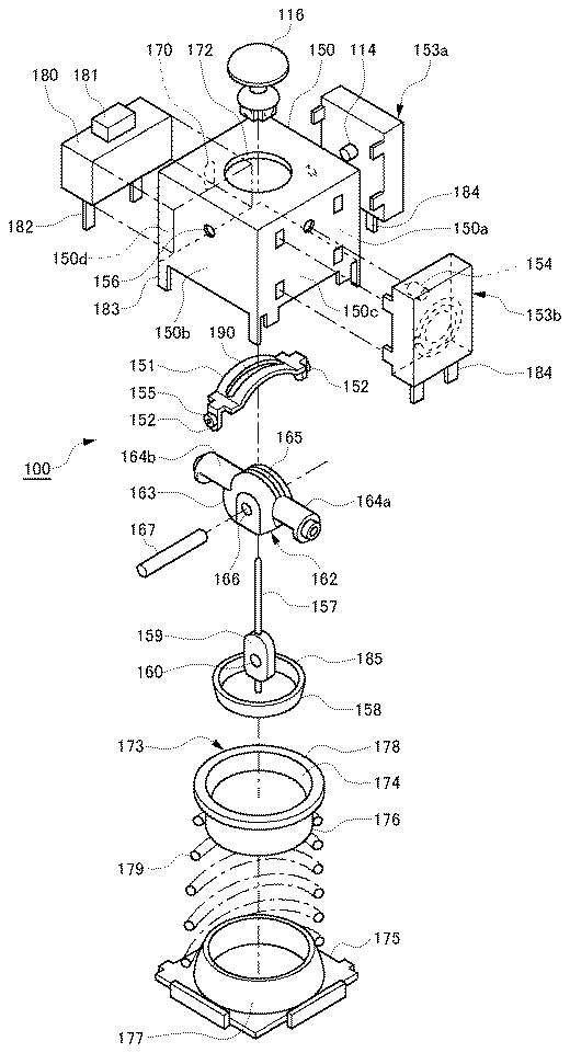
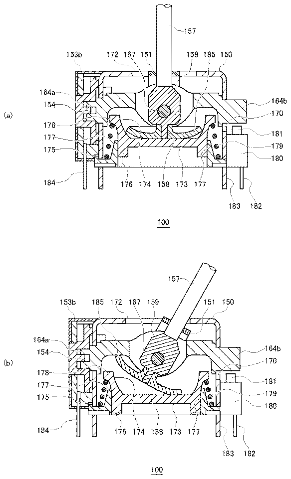
【解決手段】負荷情報取得部206は、ゲームアプリケーションから、ユーザにより選択されたオブジェクトに対応する負荷情報を取得する。駆動制御部208 は、取得した負荷情報にしたがって、第1アクチュエータ94aおよび第2アクチュエータ94bを駆動し、操作軸157を含むアナログスティックに負荷を付 与する。この負荷は、アナログスティックの傾動方向に沿った方向に付与され、傾動方向と逆向きであってもよく、また同じ向きであってもよい。
デュアルショックのアナログスティックは押し込みボタン機能(R3、L3ボタン)がある
SCEの携帯機にも同じ機能が・・・?


使われてる図はどう見てもPSVitaですね
L2R2、L3R3が付いたリモプ特化のPSVitaほしい


PlayStation Vita Wi-Fiモデル ブラック (PCH-2000ZA11)posted with amazlet at 16.01.22ソニー・コンピュータエンタテインメント (2013-10-10)
売り上げランキング: 36
PlayStation Vita Wi-Fiモデル アクア・ブルー(PCH-2000ZA23)posted with amazlet at 16.01.22ソニー・コンピュータエンタテインメント (2015-09-17)
売り上げランキング: 67









買い換えたいからはよ
何はともあれ何か来そうだな、楽しみだ
出願は2014年
これは2016年1月18日に特許が通った
スティックの特許だからだよ。
よく考えたら普通だろ?
特許だから形は何でもいい
分厚くなってもいいからL2R2を強引につけたほうがいいと思う
PS4の為にもVitaも本体テコ入れしたい所だろうし何かやるだろうな
特許出願してるのに特許じゃないって馬鹿なの?
モンハン専用機じゃねぇよw
ピリンかわいい
任天堂パクんなよ?
取れねぇなこりゃ。
馬鹿でもわかる事w
特許でもないものを特許する鬼畜なSONY
適当に付けりゃあいいわけではないし
次世代機の研究は常にしてる訳で、これもその一つよぶーちゃん。
Uンコの話はしてない
L2R2L3R3追加したヤツ
でも造形的に特殊だし、コスト高くなりそう
スティックだって大変だったらしいよ
どんまいぶーちゃん
縦マルチやらPS3からの移植やらPS2アーカイブスやら
据え置き同等の操作ができるようにする必要性はより高くなるんですよね
お前はアホかよ。
まだ出願中だろw
取得じゃないだろw
特許取得になるまでは、特許とは言わねぇw
携帯機で押し込むスティックは普通じゃなくね
NX死にました
はちまの言うとおりL2R2もつけてくれ。多少ごつくなってもいいぞ
デュアルショックでも壊れやすい部位なのに
すでに言ってる人がいるけどL2R2もあればかなり快適
適当に付けたといえばNew3DS、あれは人間工学的にもないわ
3DSよりマシだろ
「公開特許公報」とは、出願中の特許案件の内、原則的に出願日から1年6ヶ月が経過し、特許化可能な状態にある案件を公開する公報のことを指す
wwwwwwwwwwwバーカwwwwwwwwwwwwwwww
3000への布石かな?
Vi撤退さんコレどう答えんの?
してんじゃねーよカス
ファミ通の記事読んでこいよ
背面タッチで騒いでるのは任天堂陣営だけだろ
Wikipediaからの転載乙w
Vitaの後継機なのか3000なのか解らないけど
これとR2L2ボタンもつけて完璧な据え置きとの
互換機を目指してるはず。
豚が騒げば騒ぐほどPSに良いものが来るわwww
ついでにL2R2もどうにかしてつけてくれ
液晶を有機ELに戻してくれたらなおのこといい
あれに騙されるのは情弱だけだ
スラパもPSPからパクってたし
最低のパクリ企業任天堂
イカそれしか無いからなぁ
やる物無く他と比べられんしなw
いやもう、この際ソフトよりもゲーム機以外の使い勝手があればそれでもいいぞww
もうソフトに期待してねえしな
|ノ-O-O-ヽ| /3DS愛\
| . : )'e'( : . | |ノ-O-O-ヽ|
ヽ____ノ | . : )'e'( : . | /WiiU愛\
f´ ,.} ヽ____ノ |ノ-O-O-ヽ|
,ム ィ´_}._.小. ノ .` `ヽ .| . : )'e'( : . |
Y.ゝ‐´ |. ∨ーfト. __ . 、 廴}| ヽ____ノ 任豚軍団出動!我らの任天堂愛を示すのだ!
:| ヽ ゚ .ノ!゙1 ノ:| ト._リ ,。-" ~ヽ
.弋._ノ`{: | 弋リ f、 。 | ノ }
}、.ノ ! ` 、_ .ノ! | {_ .-、 f: メ.
{. リ ‘. :|'__ノ l / 三! . ノ|´ l
彡 ⌒ ミ
(´・ω・`) ウチのNXにも
暇そうだなw
2000買おうとしている人は待つのもありかな?
そうしないと京都の玩具屋が露骨にパクるから
やることがわかりやすいだけマイクラより売れる可能性大よ
スプラ、マリメ、妖怪、モンスト、モンハン、ポケモン、マイクラにたむろってるゲームキッズが全部流れてくるかもしれん
次の新しいムーブメントゲームの潮流になり得る懐古にもウケるだろうしこれはミリオン確実か
海外のものを日本人向けにチューニングする堀井の才能を改めて感じさせる会心の一作だわ
君島愛
検索するとA.V女優が引っ掛かるんだよなぁ
面白いけど短すぎィ!
いわゆるスティック押し込みボタンが無いのが
致命的だったからねぇ
3000番台なのか後継機なのか
どちらにしてもいい傾向
携帯機にスティックは任天堂パクルだろうな
スライドパッドWiiU3DSさんには関係ないですけどw
新型VITAで十分
体験版はそもそも時間的に作れるかどうかって感じだったから
まぁそこはいいだろ
もうついてるやん
クッソ使いにくいけど
結構滑るんだよね
Vitaも3000で進化するかもな
あっ3DSはスライドパッドでしたね^^
当分撤退は無さそうだw
今の形状じゃ、どこに付けてくるか検討できないが
複数台持ち便利だぜ、色々捗る、自分は出たら3台持ちするわ
ソニーの特許回避しまくってゴミ性能になったWiiリモコンの悪夢を忘れたのか
マジかよ
マーブルマッドネスとサイバリオンがやりたいぜ
あくまでスティック押し込みに関する特許だよ
ま、どう考えても次作る気満々だわなw
大衆に受けるカジュアルなキャラクターコンテンツ増やさないと無意味なのに
いつまでハードにとらわれてるんだか
10年前で進化が止まってるんじゃない?
現在のvitaじゃできないソフト出てくるのかね
さすがに背面タッチパッドじゃ辛い
これ以上煽られるゴキブリは見たく無い
平和でいいなw
キネクソでもやってろよ
それVITA TV
この特許後継機に載せるつもりだぞ
ガワは一例で旧型VITAにしてるだけだし
直子「特許だけ取って出す気が無いのにまだまだ続きますみたいな雰囲気を出してサードとユーザーを囲い込み、小売りにも撤退という行為を感づかせないための工作。そもそもこういった特許は業界に還元されるべきで使わない特許を取って他社を妨害する行為は任天堂のためにならないのでソニーは詳細な設計情報とチップ構成を任天堂に無償で提供する義務がある!!何よりも悪徳なのは最初から出来るものをわざわざ分割してさも新技術かのように装ってユーザーに買い替えを強制する行為はプラットフォーマーとしてあるまじき行為!!NXがユーザーに受け入れられないとすればそれはソニーが悪いと断言する」
みたいな糖質駄文
スマホでできるようにせんか!!!
現行の携帯機にボタンやら追加するのは、PSPのときに否定してるからな
おそらく次世代機だよ
3DS?裸眼立体視というスマホにない付加価値があるだろ
本スレが愚痴だらけだった
やっぱ来るんじゃんVita-3000
どう見ても次世代機用の特許
新規のハンドヘルドでも考えてそう
どうなんですかね
その頃にはNXが爆死してるから気にするな
年末かな
横だが需要はあるとおもうぞ?
vitatvじゃ縦シューティングの画面回転できんだろーて
負荷の間違いだろ
それが撤退ってことでは?w
新型が出るとか言ったら買い控え起こるやん
君の本スレってどこよ
免許更新の時、面倒くさくなるなぁ
そんな極稀なもんは需要と呼ばんぞ
のテーマ流れた時ゾワッとしたわ
だよな
3DSみたいに小学生に援.交を迫れる機能は必須だよな
★★★★★309件の評価
馬鹿には理解できないからほっといた方がいい
今時携帯機????
音質がーほざいてウォークマンも持ち歩いてるオーオタと同じく気持ち悪い
あっ!同じくゴキブリ製品だったね
納得
流出とか馬鹿か?
で?
同じソフト同じハードで操作が違うってのは制作側からは面倒だからなぁ
ただTVみたいにパネル無しではないから死んでるボタンが出るだけで対応できそうな気もするし・・・
なによりPSPの時の急激な移行の反省でVitaは緩やかに移行されるだろうから
ビルダーズ本スレは好評ばっかりだが
数人のニシ豚が必死にネガキャン連投してる以外は
ぶーちゃんはどのへんがダメだと思ったの?具体的に
じゃあなんでpspgoちゃんは対応してんのよ?
PS2ソフトで必要なのは押し込みのR3L3よりも普通のR2L2なんだよね・・・
背面で対応?うーん・・・誤操作がなあ・・・
新型出すなら出すと発表してくれ
i:::::::::::::::\:::::::/:::::::::::::::::iイライライライライライライライライライライライラ
|:::ノ::::r⌒ヽ:::::r⌒ヽ:::::\::| イライライライライライライライライライライライラ
|ノ:::::::ヽ_ノ::::ヽ_ノ:::::::: | イライライライライライライライライライライライラ
.i⌒|::::::::::::::::(.o o,)::::: |⌒i イライライライライライライライライライライラ
.、_ノ:::::::::::::::i::∠ニゝ i. ・ |、_ノイライライライライライライライライライライライラ
!::::::::::ノ::::`ー ' \・ ・ | イライライライライライライライライライライライラ
ヽ:::::::::: ── _ ノ イライライライライライライライライライライライラ
単純に厳しいからVITAの後継機はないとはならないんだよ
注文の多い幼女の微妙な畜生ぶりとしれっと人の寝床奪うオッサンで虜になった
押し込みより
アナログスティックにフィードバックが働くほうだろ、無能がww
同じくw
はちまや刃でずーっとネガってるガイジだからシカトしとけw
でwwwwwwwwwwwwwwwww
特許って技術を公にするものなんだがw
めっちゃおもろいよな
早くオデン消化せねば
別に押し込みスティックのついた新型VITA出そうって話じゃないと思う
NXがしれっと採用して起源主張しないように予防してるだけだと
これはNowやリモプをターゲットにしてるね
特にカメラ
デジカメ黎明期より酷い画質とかはじめて見たわ
背面タッチ廃止でLR2ボタンも付けてくれりゃ完璧
キノコのてっぺんだけ不満だわ
DS3までの形が良いんじゃあ、やりこむとつるつるになっちゃうのも良い(´・ω・`)
明らかに次世代機用だよな
新型とか喚いてる馬鹿はもう少し中身見とけ
デジカメ黎明期は320*240画質とかあったが
ソニーはアニメのキャラの名前使うのやめてくれる?
なのはファンに失礼だから
他は大丈夫なのにスティックだけがいかれるってことがけっこうある
携帯機だから気楽に買い替えるってこともできんしそこんとこしっかり作ってほしいな
3000か後継機かは知らんが普通に作ってるだろ
背面タッチは無いと困るってことがまずないからな・・・
ブラウジングするとき便利だけど
悩むわぁビルダーズ
体験版のおかげでスルー出来て助かったわ
キミどっちも買わないでしょ( ´,_ゝ`)プッ
キャンセルすることにした
少なくとも任天堂がL/R3ボタンつける事はこれで不可能になりました
i:::::::::::::::\:::::::/:::::::::::::::::iイライライライライライライライライライライライラ
|:::ノ::::r⌒ヽ:::::r⌒ヽ:::::\::| イライライライライライライライライライライライラ
|ノ:::::::ヽ_ノ::::ヽ_ノ:::::::: | イライライライライライライライライライライライラ
.i⌒|::::::::::::::::(.o o,)::::: |⌒i イライライライライライライライライライライラ
.、_ノ:::::::::::::::i::∠ニゝ i. ・ |、_ノイライライライライライライライライライライライラ
!::::::::::ノ::::`ー ' \・ ・ | イライライライライライライライライライライライラ
ヽ:::::::::: ── _ ノ イライライライライライライライライライライライラ
おまえいつもすべってるなw
現時点でも引っ張られてないよ
3DSと違って
そこだよね
聞いたことねーな、どこの球団?
オレはフリプのPSP版俺屍をはじめようとしていた
ゲハでは自演潰され
現実では撤退の妄想潰されて
あ、まだぶたばが残ってたっけwwwwww
や る ゲ ー ム が 無 い V u t a
は撤退してるも同然
スティックがへたって何もしてなくても傾くようになったことはあるなぁ
あーゆーのも押し込みが原因なんだろうか?
オデンもDQBもできないなんて
何するの?将棋?(´・ω・`)
L2R2に関しては上越電子のグリップカバーで何とかなってるし
ドラゴン倒せないぞ
どうやって倒すんだアレ
距離見るのに凄く便利だった
ソニーの場合、利便性を高めるためにギミックを入れる
そういう盲信はやめろよ
足を引っ張られてないわけないだろ
いちいち3DSみたいなゴミを引き合いにだすな
次で大きくなると良いがね
セレスタは2000ぐらいで良いけど
もうNXいらないじゃん
ゴキブリ。答えろよ。
いや、足引っ張られてるよ確実に
3DSがそれ以下のゴミなのは間違いないけど
今電撃オンラインチャンネルでハメ技披露中やで
VITAの先のことは考えてるってことが明らかになったね
なんだまだこういうの居るのか
PS4ベースで作ればVitaマルチは影響ないと何度言われてることか
(´・ω・`)コメ乞食かな?
悔しい?
悲しいなぁ・・・
実装させるために作ったヤツよ
SCEが携帯機の技術研究し続けてるってのはよくわかるね
いや、後継機に付ける奴どけどとりあえずの装着例でVITAの外観を載せた?
気になりますね~
携帯ゲーム機なのに操作が複雑、煩雑なせいだと思う
ソニーはゲーム屋としての魂を売った。
何言ってんのゴキは
最大瞬間風速だけ自慢のすぐ消えていく台風、それが任天ハードの実態
もう多少厚みを出してでも据え置き機のゲームパッドみたいな形状にしていいんじゃないかな
今更ゲーム機に薄さを求めるようなのはスマホゲーに行ってるだろう
次の携帯機を出すとしたらディスプレイサイズは6インチ弱は欲しいところ
でなきゃ大型スマホに迫力で負ける
Vita2000から削除されたモバイル通信もLTE-Advanced対応で復活させるべき
当時と違って今はMVNOで実用的で安価なサービスがある
携帯機だと丸ごと買い替えになるから強度的に心配だな。
これ付けるならスティック部分だけ買い替えられる仕組みも欲しい。
携帯機にソウルシリーズこねーかな
画面を付けてる気持ち悪い特許あったやん
あれがNXとして出たら俺は笑い死ぬかもしれない
ワロタwwwwwwwwwwwwwwww
任天堂信者が発狂してるwww
ワンパターンだからすぐ見破ることが出来るぞ!
2011年(全88タイトル)
2012年(全109タイトル)
2013年(全119タイトル)
2014年(全100タイトル)
2015年(全85タイトル)
2016年(15タイトル予定) ※4月30日発売タイトルまで
もうちょい待つか
やっとか、という感じ
これはだめだろう
そもそも2000版の外見でもないから見た目は内緒って事ですね
悪いが何を言ってるのかサッパリ分からんわ
ビルダーズおもしれえな、これは売れるで
据え置きはPS4、携帯は3DSでいいのに
叩きがいがあって嬉しいわw
みたいとか言ってないで体験版やれば?
無いものは書けないでしょ
Vitaは良いハード。やっぱりゲーム機はこうじゃなきゃね。
さすがゲームボーイアドバンスの正統後継機だわ。
だから言ったろ偽マイクラが来て本当に嬉しいのかって
職安さえ行ってくれたらそれでいいw
好評で悔しかったのかw
DQB神ゲーで悔しいですかぁ?wwwwwwwwwwwwwww
滅茶苦茶好評なんだけど…
それは無理w
l:l ',二ミヽ、:::::::;'ニミ、:::::::::::::::::ヾ::l 洋ゲーが 和ゲーが 中小のゲームが
l:l======f' ゙t;i==if' 〇 ヽ=======l::l すべてのゲームがすべてのソニーユーザーが憎い・・・
r-iリ' ヽ=zシィ l, l ゝェェ='^::::::::::::::::::ヾi-、
|〈f'rt、 ・ :(.o o,) ・:::::::::::::::::::::lK},l ああそうだ全部ネガキャンだ
ゝ(i, ・ ・ `^::^ ・ ・::::::::::::::ノュ ハ ナリスマシ幻影陣デマ捏造ネタバレ煽りで・・・
tミl! :::. _,.ィ竺'ュ、, ::::::::::::::::::::::::::F'f } すべてのゲームをあらゆる手段で貶めてやる・・・
`ーt、::: ´ `ー:::::‐'"`::::::::::::::::::: ,!'" ,ノ すべてのソニーユーザーを不愉快にしてやる・・・・
もうめぼしいソフトないわ
任天堂信者が必死でドラゴンクエストビルダーズをネガキャンしてるということは
ドラゴンクエストビルダーズは良いゲーだったんだね
VITA発売前のVITAに関する特許だとPSPにスティックと背面タッチパッド付けたような画像で説明してる。
【ドラゴンクエストビルダーズ】体験版、評価感想まとめ!面白すぎる時間泥棒w、カメラの速度以外不満点無し【DQB】
で検索したら分かるが
むしろやばいくらい評判いいよ
ずいぶん昔から入りっぱなしやで
このまま続けても無条件降服からの撤退が待っているだけ
それなら任天堂の下請けとして生きるほうがいいだろう
貴様らにとっても悪い話では無いと思うが?
本スレ(強制IP表示)好評価続出
ゲハの豚スレ(IP非表示)自演ネガキャンぶひぶひいいいいいいいいいい
おい豚www
超嬉しい(´・ω・`)
消化は3割弱。決して良くはないけれども、週末に動く可能性は残されている…!!
Newニンテンドー3DSLL ハイラル エディション【Amazoncojp限定】 オリジナル携帯クリーナー (イヤフォンジャック型) 付
(そういや出てたな)
そいつらはマジで狂ってますので、触ったらいけません
幻影陣ご苦労様です
出しても爆死するだろ、豚に煽りの道具を与えるだけ
使っていないだけで。
故障すると基盤全部交換になるから高くつくんだよな。
後付けのCスティックしょぼくて残念だったねw
本スレで自演出来なくなったんかw
ほんとこれ時間泥棒だねw 体験版なのにw
画面タップで代用してるゲームを遊んでみたけど、別にL1R1の後ろにボタン無くても何とかなるから、設計次第では搭載出来ると思うんだけどな。
レベルアップの音がなくて寂しいんだけど
へ~
じゃあ押し込みボタン搭載は後継機ですね~
してないだろ
っていうか俺のは初期型だけどしてないと思うんだけど
予約キャンセルするわ
グラビティ切るとか何考えてんだ
マイクラ、ビルダーズでいい流れ来てんにのに
今はストロークが短いのにふにゃふにゃだから力の加減で横に入れたつもりが上や下に入ったりする。FPSのエイムも細かな狙いが難しい。たのむぜ
みなさん、これが平然と捏造してネガキャンする任天堂信者です
その前に龍もあるんやで豚ちゃん
████
████
████
◥██████◤
◥███◤
◥◤
拠点レベルを上げるといつものレベルアップ音が鳴る
NEW3DSみたいに横並びみたいなアホな配はやめて欲しい
オレは1割の日本人だがね
四六時中ネガキャンするくらいだからヒキニートで買うお金がないんだろ…。
どうせだからメモリも足してCPUやGPUも強化しちゃいなよ
かわいそうに
今年の9月の国内SCEJAカンファレスで発表かな??
時代遲れの糞ゲー
ゴミ。イラネ(笑)
個人的にはリモプ時の解像度向上、有機EL使用、VITA単体でのリモートプレイ安定向上させてPS4との結び付きを強めたニッチなVITAが欲しいなぁ(箱一のXbox Eliteみたいなもん?)、ただの妄想だけどね。
いちよ鳴ったりはするのか
ありがと
はいはい、お薬飲んでね(´・ω・`)
壁に向かってブツブツ言っててもゲームはできないのよぶーちゃん
一気に終わりまでいっちまうのが恐ろしかったからなw
おっさん仲間にして村に連れてきてから本能的にそうしたw
こりゃあ
NXも発売してすぐに
旧世代のポンコツになるわw
[PSV]艦これ改(通常版) - 192pt
[PSV]ドラゴンクエストビルダーズ アレフガルドを復活せよ - 83pt
[PSV]艦これ改(限定版) - 83pt
[PS4]ドラゴンクエストビルダーズ アレフガルドを復活せよ - 55pt
[3DS]真・女神転生 IV FINAL - 46pt
[PS4]DARK SOULS III ダークソウル3 - 38pt
[3DS]ドラゴンクエストモンスターズ ジョーカー3 - 30pt
[PS4]NARUTO-ナルト- 疾風伝 ナルティメットストーム4 - 30pt
[PSV]サモンナイト6 失われた境界たち サモンナイト15周年記念豪華パック - 25pt
[WiiU]マリオテニス ウルトラスマッシュ - 24pt
背面はどっちでもいいがコスト嵩むなら排除で
あとは時代にあった性能にしてくれれば文句なし
任豚オールブターズ
龍 極の方が不満が多いからそっち叩きまくれや
NVIDIA SHIELDやタブコンチックになるとどう頑張っても野暮ったくなるのがな。
せめて鞄に入れて邪魔にならない程度じゃないと。
LR2は背面タッチパッドをDS4のようにクリック感のある押し込み式にすれば解決しそう。
どちらにせよ、こんな人生は嫌だなあw
ルビスとのやりとりが面白ぇ
第 二 の ア ン タ バ カ ー の 予 感
まずはDQB体験版をDLしようか
それが済んだらオーディンスフィアを買おう
今なら討鬼伝がフリプにあるから、PS+に加入してこれもDLなさい
それが済んでからもう一度話をしよう
任天ファンボーイはつらいだろうなw
任天ゲーマー=任天ゲーマーでしかなく
スマホゲーマー=スマホゲーマーということで
街を発展させたら拠点レベルなら上がるぞ
攻撃防御は装備、HPは命の木の実で上げるんじゃないかな
言われて悔しかったの?w
@Rucachan (๑°ㅁ°๑)‼✧藤本さん初質問なんですが、ドラクエビルダース3DSバージョンは、出る予定ないんですか?(・_・;)めちゃめちゃ欲しいけど息子が3DSしかもってなくて。。・°°・(>_<)・°°・。
藤本則義 @Rucachan
@kiza414 大変申し訳ないのですが技術的に難しく予定はしておりません。それぞれのハードの特性にあったゲームを今後も作っていきますのでどうぞよろしくお願いしますm(_ _)m2016年1月13日 15:50
New3DSェ・・・
グラでゲームは選ばないから大丈夫
3DSのソフトだって買う時あるぞ
マイナーチェンジ堂信者は言う事が違いますねw
∧..∧
. (´・ω・`) <技術的に むりっす(^_^;)うぃっしゅ!
cく_>ycく__)
(___,,_,,___,,_) ∬
彡※※※※ミ 旦
 ̄ ̄ ̄ ̄ ̄ ̄ ̄ ̄ ̄ ̄ ̄ ̄ ̄ ̄ ̄ ̄ ̄ ̄ ̄
\ どっ!! / \ ワハハ! /
\ / \ ∞
l|||||||||||||| ∩,,∩ ∩,,∩ ∩,,∩ ミ∩ハ∩彡
(, )(,, ) ,,)( )( )
大不評続出なのも理解できる
まーたカプコンに土下座ですねぇw
ビルダーズと同じ日にVitaで東方PlayDojinのでるから別に、としか。
もともとVitaは一個国民的セラーゲームよりも大量の小タイトルで今までやってきたから、今まで通り切れずに発表されるタイトル数で自分にあったタイトル探せばいいので。
人によっては発売日に数本買う人もいるんだし、○○って1タイトルがダメなら即全滅って市場じゃないでしょうに。
フリーカメラになったせいだな
苦情があるなら固定カメラに文句つけてた連中に言え
捏造直子~!
ガセライター直子~!
スティックが爆発するとか?
移植ばっかのWiiUのことか
2ちゃんっつーかゲハで言ってきて~
んでもってIP強制表示で晒されてきなさいな~(´・ω・`)
ゴキブリ=任天堂信者
任天堂の酷さがいっそう際立って豚が憤死するんじゃないかな
そしたら水汲みゲームが遊べるようになるな!(´・ω・`)ウェーイ
リマスター????何も出てないけど
WiiUのトワプリのアミーボ詐欺の事か
任天堂って没落したんだなー、としみじみ感じるw
ツジボン「まだまだ毟りとれるなwVITAちらつかせりゃホイホイ金出しよるからなwほんまチョロいでwww」
もうできるぞ需要がないだけで
ゴキはゲームなんて全然好きじゃない
PS2アーカイブスは諦めなされ
いつものチョニーらしい発想
爆死が確定しているから喜んで食い付く豚が楽に想像出来る
ブヒイイイイイイイイイ、今の技術の携帯機でps3を越えるのは無理
今のvitaの低性能を見てると全く期待出来ない
クソバカだな ゴキ
VIテタイ君の思い通りにならないのが世の中なんだしw
PS4版の終わりのところまで遊んだわ
VITA版も落としたからこれから触る
先に発売してるし高性能で軽いよ?w
すまんね、お金払ってね^^^
発売は28やぞ?
むしろ、爆死しないと思うんですがwww
VITAより連携が強力になるし
サードはPS4とこれのおかげで
完全にPS寄りになるのでw
先出しな上にすべて上位互換で本当にすまん(´・ω・`)
たしかに たしかに たしかに たしかに たしかに
たしかに たしかに たしかに たしかに たしかに
たしかに たしかに たしかに たしかに たしかに
たしかに たしかに たしかに たしかに たしかに
たしかに たしかに たしかに たしかに たしかに
たしかに たしかに たしかに たしかに たしかに
オーディンを召喚しますをもう忘れたのか日本の恥が
Vitaより売れないWiiU
PS4連携用の新型コントローラーってとこかこれ?
任天堂がパクってるのにニシくんはまた起源を主張するのか
神ゲーでしたが?
引継ぎできないんだからさわりだけやりゃ十分ですわw
もう予約もしてるんでw
もう体験版の最後までプレイしたし
セーブデータが製品版に引き継げないって話だから素材集めも意味ないし
とは言ってもメルキドを城壁でぐるっと囲って
近くの池から水を引いて畑(のようなもの)を作るくらいまでは遊んだけどw
ハード普及数もソフト発売数もソフト販売量もVITA>WiiUだぞ
国内でも海外でもな
i:::::::::::::::\:::::::/:::::::::::::::::iイライライライライライライライライライライライラ
|:::ノ::::r⌒ヽ:::::r⌒ヽ:::::\::| イライライライライライライライライライライライラ
|ノ:::::::ヽ_ノ::::ヽ_ノ:::::::: | イライライライライライライライライライライライラ
.i⌒|::::::::::::::::(.o o,)::::: |⌒i イライライライライライライライライライライラ
.、_ノ:::::::::::::::i::∠ニゝ i. ・ |、_ノイライライライライライライライライライライライラ
!::::::::::ノ::::`ー ' \・ ・ | イライライライライライライライライライライライラ
ヽ:::::::::: ── _ ノ イライライライライライライライライライライライラ
公式でL2R2追加するあれ発売してくれんかな
L2R2も付けてくれ
NX終わったな
どう見てもこの案件、押し込みじゃなくてフォースフィードバックの類なんだけど・・・
今年出るかも怪しいし出たら持ってるの売って買い直せばいいよ(´・ω・`)
ゲハから追い出された子かな?
PS4との連携が強化されるんだから当然出るでしょ。
子供がPS4買えるわけないしな
本当にこんな馬鹿が次から次へとわいてくる
いつになったら学ぶのだろうw
それはもうPSNOWに取って代わられちまったよ…
ニシカスはまだ発売してないものをどうやってやるの?
PS2からやぞ
体験版出てるがどうした?
VITAの後継機かなスゲー!
ビルダーズ体験版の面白さも鉄板だったし今年はまじテンション上がりまくりだわ!!
出さない理由も無いわな
次はPSP2かvita2か
あと11acもな
そしてメモカは128GBとか出せないんですかね?
PS2にもあったぞ
新箱1コンをパクって背面パドルスイッチを付けて欲しいと思ってるわ
デュアルショックでいうL3R3は欲しい
もっと言えばL2R2も欲しいけど付けたら不格好になるから今のままでいいや
PS2で既に有りましたよ~
バンピートロットで使いまくったし
パワー不足なんじゃ
いえPS1からですよ
初期で粘ってんだけど
クソワロタwwww
逆神すぎるだろwww
引き継ぎできないみたいだし
これは特許の話だからな、新ゲーム機をそのまま特許庁には申請せんだろ
サルゲッチュ出たときには2あったっけ?
VitaにアナログスティックがついたのもPSPユーザーからスティックつけてくれって要望が多かったかららしいしな
全体的な性能強化+L2R2ボタンくらいでええわ
PS1はアナログスティック自体無かっただろ?
マイクラと操作系違うから予習しといても損はないと思うよ
マイクラやってないなら関係ない話だが
アジア需要やマイクラキッズ層もあるからソニーが携帯機やめることはないんだよね
PS4を子供がみな買えるわけないんだから。
ここに来ても顔面フルボッコにされるだけなのにねw
途中から出てきたのよ~
New3DSのような絶望的に押しにくい場所に置かれても困るし
左右の中指で押せるような場所っつーたら背面の凹んだ場所か
最初はね
1000のアイスシルバーがそろそろバッテリーがヘタり気味になってきたから後継機欲しい、あと128GBメモカも頼む
公式じゃないとこからLR2追加するアクセサリーあるし公式からそういうの出すだけでもいいんだよな
PSVRが有機ELだから、新型あるなら流用するのはあると思うわ
画面デカくして有機ELにして、グリップ追加して厚さをつけてL2R2L3R3つける
内蔵メモリ32GBくらい入れて外部メモリと共用できるようにして
外部出力も欲しいな、LTEとかも地味に欲しい
今のVitaと併売してバリエーション機として高めのが良い
三万くらいの豪華なのが
このげーむはでゅあるしょっくせんよーです!
まぁ、新しいのでたらまた買えば良いや
凄いよな あそこからゲームのコントローラてほとんど変わってないぞ
でも人差し指で使うボタンが少ないと右スティックの利点がまったくないからな
カメラ動かしながらアクションができん
ネットハイ爆死が証拠
PS1の途中からだよ、最初のアナログスティックは
引継ぎできないものをやりこんでもねぇwww
触りだけやってもオーディンスフィアと同じ中毒性を感じたからな。
マイクラよりとっつきやすくてドラクエ好きなら確実に楽しめる出来だったのは間違いない。
マイクラと比べて親切だからやりやすかった。
マイクラの入門ゲームにはかなりいいかもしれん
おや…会話形式豚?
ゲハでラブライバーな活動してれば?
でもそれよりゴムの強度やグリグリしたあとのカスをなんとかしてくれ
甥っ子にやらせたら喜んでたわ
デュアルショックはPS1中期、初代グランツーリスモ合わせでの発売
アナログスティック自体はデュアルになる前にシングル振動の奴だった時期があって
そのとき既に押し込みも実装されていた
ちなみにこのシングルのほうのスティックは今のDS4のように凹んだデザイン
つまり凹みアナログスティックの元祖もソニー
SCEが潰れるならその3分の1のシェアしかない任天堂が先に潰れるでしょw
任天堂ほんと邪魔だよね
520,522すまんね
こんな大きな変更、ハード変えずにやったのすげーな・・・
んー計画として出す前からあったのだろうか?
ニシ君の方だったねw
ネットハイより売れてない任天堂ハードのゲームがざらにあるしw
それにオーディンスフィアも♯キモやゼノワロスより売れるというw
いや、PS2番の累計超えしたんだったなww
と三段変化だったな
たぶん10万すら行くソフトなくなるわよ?w
それ3DSじゃんwwwww
DS4だとかなり改善されてるだろ
vitaのスティックなら構造上カスは出ないし
特許の物が出てくるのは当分先よ。
振動付きの前に1クッションあったのは始めて知ったな・・・
ソニーが次世代機出す時は前のガワをダミーとして使って特許部分だけ載せるの。
なので次世代携帯ゲーム機です。
マイクラ国内ミリオンなんだけど
俺ミリオン教徒じゃないから
だからどうしたって感じだが
L2R2ボタンつけて、グリップをしっかり持てるようにしろ
でないと押し込みは難しい
キミはミリオン出してるのに約600万のユーザーが消えてる3rdデストロイシステムを何とかしないと!w
マイクラすでにミリオンだけどなぁ
別にソフト出続けてくれりゃ関係無いがなw
竜王軍バトルとかのイベントにもびっくりしたw
ぜったい製品版買うわ!
PS1のコントローラポートが最初からシリアル通信仕様だったから出来たことだね
対応しないソフトでの誤動作を防ぐためにアナログ・デジタルの切り替えボタンを積む必要はあったけども。
ほんと逆神だなぁwwwww
今のサードメーカーのPS注力みりゃ
VITA後継機にも注力するの当たり前だっての。
普及台数(笑)に意味なんかないからな
マイクラパクってんだから
日本人としてそういうゲームを買うのは恥ずかしい
任天堂倒産するわwww
次アンバサしたらw
発表すれば
またアンバサ自爆でNX潰せるなw
あらためて
「任天堂ハードで売れるのは任天堂ソフトだけ」(岩田社長公式発言)
「2015年、WiiUは市場の90%を任天堂ソフトが占めていた」(アスキー・メディアワークス事業局調べ)
まぁ日本だとPS4より利益多いみたいだけど
最低でもPS4の足だけは引っ張らない性能にしてほしいけど普及台数とか割りとどうでもいいので
俗称シングルショックねw
振動はアナログ付いた時点からあったんだけど、モーターが1個だけだった。
マイクラのパクリというのはキューブクリエイター(笑)なw
ビルダーズはマイクラのフォロワー的ポジションでドラクエなだけ
豚のネガキャンは一切意味ないなw
なるほどなぁw
アナログボタンがあるのはそういう・・・
なんか勉強になったわ(´・ω・`)サンクス
まあそう言わんと体験版やってみ
ウルティマとドラクエ1ぐらいの違いはちゃんとあるからw
なんでこの記事で任天堂叩くの?
あとビルダーズが面白いとかどーでもいいわ
お前らが楽しそうにしてるのを見るとイライラすんねん
3DS 3Dキューブクリエイター「えっと……」
WiiU Uクラフト「あの……」
WiiU キューブライフ「……」
お前らがラード撒き散らしながら半狂乱で突撃してくるからだろ豚(´・ω・`)
本スレもIPアドレス表示義務化されて露骨な荒らし以外は消えた
そして荒らしはBANや通報・特定までできるしw
ニシくんの居場所がたちまちなくなってる。
PS系ゲームの本スレはほとんどIPアドレス表示導入されてアンチが単発のみで消えてるw
64のアナログは一つ、押し込みなし、十字キーと離れすぎてて併用出来ない
振動パック別売り、乾電池必要、振動部分一個、くそ重い
それに対してコンパクトにまとめられてたデュアルショックはかなり革新的だった
使いやすくて驚いたもん
まぁネジコンはPS初期の頃からあったしな
アナログ入力をする事自体はハード設計の段階で想定済みだったんだろう
直子はさっさと業界から消えろ
そのアドバンテージを活かさん手はないわな
以降そいつはその事について何も語らなかったから、除外扱いにした理由は不明
任天堂が死ぬんだから良いでしょw
ほれ、もう一度3DSと同じように玉砕テロやってみい
ぶーちゃんがいきなり発狂してVITAとビルダーズたたき出したのが原因やで
特に負荷を与えるってあたり
バイトはなんでこれが押し込みだと思ったの?
もうPC版で脱Pしちゃったみたいだがw
新型でも欲しい
そもそもサードが集まってるのに諦める理由がない。
それこそサードに失礼。
あの意味不明なボタンってその為だったんだw
PS1・2持ってなくて、友達の家でやる度に何の為にあるんだろ・・・って疑問に思ってた
こんぼうで狩りまくってキメラのつばさ大量に量産したった
うわっw信者こえぇわw
PC版で脱Pとか頭大丈夫か?w
ちなみに最新作だと逆裁は負けてるぞ
まー・・・後継機来たらモンハン()ナルホド君、ペルソナ以外のアトラスゲー
上に挙げたの以外全部持っていかれるもんねーそりゃ必死だよねww
でもニシ君気付いてる?あんたら凄い逆神なんだよ?
常に主張してる事と逆の結果になるから君らがテタイテタイ言ってる限り
ソニーも安心安泰してるんじゃね?
VITAのゲームが動かない無線と画像処理だけの最低限の性能に液晶がついたPSnowとリモプ専用端末とか9800円くらいでだしてくれたら
買っちゃいそう
アナログに限らず、どんなデバイスでもつなげる汎用ポートになっていたんだよね
メモリーカードスロットも同じ思想で、だからポケットステーションなんてものも出せた
ほんと最初からよく考えてあったよPS1は
パクリを否定してはならんよ
お前の部屋やお前の服をよーくみてみぃ
パクってないものなど一つもない
かく言うお前もマイクラの流行に乗っただけのパクリ屋だろうが
イライラしてるニシくん見てると凄く楽しい
もっと見せてよ
え?なんで出したらソフトが売れなくなるのか意味不明なんだがw
もうちょっとぶーちゃんは日本語、勉強したほうがいいぞwww
やっぱ後継機はその時期だろうねぇ
フリプ・・・?もしかしてリモプと言いたかった?
だとしたらまた有機ELディスプレイにしてくれ
サンドバッグ役お疲れwwwww
PS4だけか、残念(´・ω・`)
頼むよ~
発売前に15000円以下に値下げするだけで十分
うーんL2R2が付くかは(L3R3も半信半疑だが)分からんが
出たら嬉しくて2台は買っちゃうかなw
買う前にやっぱり触っておこうw
NXが出たら次世代VITAをぶつけてきそうだね
はい押し込みじゃなくてフォースフィードバック確定
PS4+PSの携帯機マルチが主流になるわな。
今度はVITAとの完全互換もつくだろうしな。
もっと繊細な操作できるようにしてほしい。あとL2R2つけて。
⬇
セーブ消えないって有り難いな…サターン消えまくって泣けたわ
なんか今引っ張り出しても普通に読み取るし
メモリーカードて凄いわw
壊すとちゃんとあの音もするしなw
馬鹿は気付いてないけどスティック押し込みだけじゃないからなこれ
シアトリズム、イルルカ、ドラクエ10、ドラクエ8リメイク「」
ごめんよ(´・ω・`)
PS4が現行機最低性能になりそうだから
ゴキが焦ってるな
😛
皆それ把握してはちまは馬鹿と結論出したうえでもう次の話してるんですけど
3000じゃなくて後継機だと思う、3000は3000でまぁ否定はしないけど
2018年ごろにAMD使った携帯機が出るらしいというリークがあるし、SCEが後継機を出すのが大体7年目か8年目
2018年ならvitaロンチから7年目でほぼ一致する
まさかドラクエ8リメイクがミリオン行かないとはなぁw
ヒーローズに負けるとは思わなかったぞwwww
ジョーカー3大丈夫?
予約がサモンナイト6並みだけどwww
バババ ∧_,∧ ババ ∧_∧ バババ
∧_∧バ( ´・ω・∧豚∧ (・ω・` ) ∧_∧
(´・ω・)=つ≡つ);;)ω(;;(⊂≡⊂=(・ω・`)
(っ ≡つ=つ (っ ⊂) ⊂=⊂≡ ⊂)
ノ ) バ∧_∧| x |∧_∧ バ ( \
( ノ ̄∪バ ( ´・) ∪ ̄∪(・` )ババ ∪ ̄\ )
ババババノ ) バババ ( \ ババババ
バババ `u-u'. バババ ババ `u-u'
3DSのドラクエは毎回その大惨事になってるだろw
利益出てる以上普通に延命するわw
定期的に話題に出さないと誤解する奴が出るからね
それジョーカー3とついでに8の3DS版にブーメランだけど、ニシくんってドMなの?(´・ω・`)
未だにVita3000とか新型とかアホなコメントが散見してるぞw
NX←据え置きでは最高900Pと分かり、PS4未満の性能確定
Xbox two←そもそも日本で出すの?箱1は今年国内撤退するけど?w
特許通ったら任天堂パクんなよ?任天堂携帯機でL3R3使うの禁止なw
デザインどうなるんだろうな
パリン!
きれいなまま手元に帰ってくるツボ
New3DSみたいなマイナーチェンジ止まりにするかNX発売日に次世代VITAの仕様の発表をぶつけてくるか
なんにせよ楽しみだ
そもそも、ハード発売したらすぐ次のネタ考えないと設計屋さんがメシ食えません
まともな会社なら常に誰かが次の一手を考えているよ
3万いっても払う覚悟はあります
うん、音だけw
クレイジーダイヤモンドみたいな能力なんだろうw
ハード屋ではなくてハード事業屋ですな
どうしたらサードとユーザーがにぎわう市場を作れるか常に考えてる
PSのゲームが憎くて奪うしか脳のない任天堂とは違う(´・ω・`)
それかいっそのことPS4でDL版だけVitaのソフト遊べたらいいな
醜い意地だけで携帯を続ける醜悪な企業ソニー
目ざわりなんだよ
そもそも任天堂ってアナログに押し込みを実装したことあったっけ?
任天堂は玩具屋なので、高性能機のノウハウが全くありません。
それに社長の発言からもスマホ界隈にCSから撤退して向かうそうですよ?
アミーボが収益の柱となってアミーボ課金が増えるみたいなのでw
その前にL2R2増やせよ
背面タッチより重要だぞ
それまんま任天堂に当てはまるねw
唯一PSPはUMDがシャーシャーうるさかったのがアレだったけど
クソハードばかり作ってる任天堂のほうが早くハード事業から撤退して欲しいんですけど・・・
ソフト屋になるなら誰しも歓迎すると思うけどな
任天堂ハードは全てVITA以下の性能なんだからさ
そら携帯機だして放置しとけば任天堂が勝手に踊って死ぬんだからやるでしょw
ニシ君かわいそw
探すのめんどくさいったらないぞ(´・ω・`)
WiiUと3DSのせいもあるけどなw
サードがNXにはやる気ないの
過去の裏切りを謝罪して任天堂に頼んだらどうだろうか?
据え置きのゲームをほとんど見劣りしない状態で携帯機でできるのやっぱいいわ。
もちろん、据え置きだけじゃないと無理なものもあるけどね
は?任天堂の携帯機は最高だろ
そもそもソフトラインナップからして勝負にもなってねーんだよ
ソニーの偉い奴も言ってたけど、これ以上ソニーが携帯機を続ける意味なんてねーだろ
ソニーの携帯機なんて誰も得しないんだからとっとと撤退しろよ
醜い意地だけで携帯を続ける醜悪な企業ソニー
目ざわりなんだよ
2016年01月22日 20:21
誰も得しない?
得しないのはアンチソニーや任天堂信者、それから任天堂その物位か?
ソニーの偉いやつがその発言否定してましたが?
おい
サモンナイト
馬鹿にするんじゃない!!!
ゴキブリはvitaの発売当時も自信だけは凄かったな、結果は爆死したけど…
爆死した結果も受け入れず数万の売上で自慢する情けないあの頃を忘れるの早すぎだと思います
また中途半端な性能を3万近く売って売れる訳無い、vitaの後継機は爆死確定だよ
ゴキブリの自信は何処から来るのかわからないvitaが良い教訓になったと思ったけど
vitaの結果を受け入れてもう少し現実を見て下さい、またヨンケタンと煽られたいのですか?
wiiuが無かったらゴキブリの逃げ場は無くなってましたね
ま、他社のハードはいないし、携帯機もソニーが牛耳ることになるけどねw
その意味で最後になるってことよ
どう言い訳すんだw
国内で500万台いきましたがどうした?
発狂豚再降臨?
でも3月には買う
前年の推移よりもVITAの売り上げ台数あがってるぞ?
任天堂携帯機で良かったのはGBAやSPまでだったな
もうそっからは携帯機はPSP→Vitaだわ
すまんねニシくん
あれって次世代機だったの?www
SCEWWSのボスは「スマホに押されて携帯機市場自体がヤバイ」って言っただけだぞ
当然ながら任天堂の携帯機も含めた上での話だわ
ニシ君も認めるぐらいvitaは戦略的に大成功したて事なのかな
vitaの発売で任天堂の携帯機の戦略が崩れたからそれはニシ君も恨むかw
またVITAに新作来るのか
「モンハン」出るの?
Wwwwwwwwwwwwwwwww!!!
有機ELじゃなきゃ買わんけど
new3DS専用ソフト何本出てたっけ?
LR2ボタンは追加アタッチメントでOKだし。
モンハンしかないハードと
モンハン以外がほとんどあるハード
ゲームが多く出るのはどっちでしょうか?www
もともとSCEの携帯機は「持ち運べる据え置き機」ってコンセプトで作ってるからな
Vitaでもそれは変わらないと盛田氏が言ってた
なにしろNXが目指してるのもそれなんだから
そしてそれはvitaのおかげだよな
まあ、CPU強化とか訳の分からんことしてたからな
そして早く神後継機を出せ
非バイトの生豚がウジャウジャ居るぞ
一体今までどこに隠れ住んでたんだ、こいつら
海外リークだとMH5がPS4で出るとかいうのがあったな
ま、任天堂が必死に金積みまくってPS3のMH3みたくなかったことになるかもしれないけどw
任天堂は基本的にパクリしかしないからな
L3R3だけではなくL2R2も追加されてたら全力で買うわ
買うよ
得しないのは、何も知らないで間違って買わされる一般人だよ
ハード買ってからゴミだと気づくパターンだろ、VITAって
消費者的には3DSだけでいいんだよ
ソニーだって大して売り上げのないハード部門切りたいだろうにな
任天堂が金を積めば積むほど任天堂を追い詰めるだけだから
別に構わんけどなw
操作性良くなったところでやるゲームないから買い換えたりせんが
2chから逃げ出してきたんだろ
ところがどっこいほとんど出来なくてPS4とvitaの方が簡単に出来るっていう
3DSとVITAの文字入れ替えると実に世間の評判と合致するなぁw
ニシ君は現実見ようぜw
そこらへんは大丈夫でしょ、恐らくリモプやNOWを重点的に絡めてくるだろうし
そうなると必然的にボタン数はDS4と変わらなくなると思う
VITAは大して売り上げがないかもしれんが
3DSみたいに赤字垂れ流してるわけじゃないからw
それ3DSの話じゃね?
Vita持ってるけどほとんど使ってねぇわ、やりたいソフトなさ過ぎるんだよ
外ではスマホ、家ではPS4って感じだわ
NXモンハン連合に踏みつぶされるだけ^^;
3DSがネットの評判と違ってごみだと気付いたから
ネットでたたかれてるVITAを買ってネットの評判ってあてにならんなってなってるわけでw
3DSで踏みつぶされてないのにどうやって潰すんですかねぇwww
【悲報】XboxOne版の「The Division」のCβが技術的な問題で日本語が除外される
3DSモンハン連合じゃ何も出来なかったけどなw
未だに1000が現役で活躍中だし…
ショボ連合
3DSで何回モンハンでたっけ?
先に消えるのは3DSでしたねw
今ニシくんの潜伏先だった2chから追い出されつつあるからね
今まで散々荒らされて来て業を煮やした運営や住人が、IPとか半コテ強制表示にしてニシくんを追い出そうとしてる
実際反映してから相当数の荒らしが消えたわ
VITAが潰れず去年の販売ペースよりすでに上回ってるというねwww
そもそも客層被ってないだろ
今更何言ってんのよ?
VITAはサードの協力もしっかりあるからソフトの内容も潤いがあるし
VITA勝ちハードやね!
自分もミクさんの絵が背面にかいてある限定版まだ使ってるわ
ソニータイマーとはなんだったのか
後から買った3DSの方が先に壊れたぞw
それがあてにならないのはPSPの頃から知ってた
PS3だって6~7年稼働してるし
値段差もほとんどないのに
3DSのクソグラに失望するよな
ほとんどIP表示義務化されたな
荒れてたスレが平和になっててワロタ
いやVITAの話だが
そもそもモンハンが出来ない携帯機なんて存在する価値がないんだわ
3DSには面白いゲームが山ほどあるけど、VITAにはまったくないよな
それがもう答えだと思うけどね
まあ、リモプのキーアサインは簡単になるわな
モンハンとか3DSでやってるが飽きた
4Gでやめたな
討鬼伝2とホライゾン楽しみ
全くな、まさか俺がモンハン卒業するとは思わなかったw
できますけど
FPSには押し込みが必要なんだよな
ないと不便で仕方がないわ
3DSなんてガキゲーかゲーム性の低いミニゲームもどきばっかだろwwwww
だからといって任天堂叩くのはおかしいだろ
何かを叩かないと褒められないの?
俺はそんなゲーマーにはなりたくないな
おまいう
昔は色々魅力があったんだけどな
各種狩ゲーなりdazeなり
俺の初期型PSPなんて未だに現役だぜw
まぁ、DLのものはvitaで代用になっちゃうから最近は殆ど触ってないけど
vitaに慣れると、あんなにガッシリした初期型PSPでもおもちゃみたいに見えるんだよな
豚がビータガー言ってるんだけど
本日のお前が言うな
そのフロンティア以下の糞劣化のモンハン以外がカスしかない粗大ゴミじゃそりゃ話にならんわなwww
わざわざゴミの宣伝お疲れさん(笑)
押し込み操作を追加する特許らしいよ
ソニー叩きに忙しそうですね~(´・ω・`)
ソニー叩きはお前じゃないってんなら、そいつら(豚共含め)止めるように言ってくれねーかねぇ
ほおお、3DSにはそれだけ面白いゲームがあるのか
で、なんてゲーム?
モンハン、マリオ、ゼルダ以外でお願い
完全にブーメランwww
ということは、PSVRと絡める可能性も高そうだな
割と現実的になってきたな、vita後継機
えっと鏡はどこだったかな
機器選択の自由っていうのは魅力にはならないんでしょうかね?
独占だけが魅力ではないと思うんだけど
そもそもここにお前がいるのがおかしい
???
なんだ?
豚のPSハードは○○ばっかりシリーズを知らないの?
それは面白そうな要素ではあるな
まあ、オタゲーならカグラみたいのが活用するんだろうけどw
ねーほんと。低脳の雑魚過ぎて笑い話にしかなりゃしないってのに。
サードも幅が増えるし
出さん理由がない
携帯機はソニー任天堂どちらも今まで壊れたことない
ソニーの据え置きはPS1だけ壊れたかな
任天堂の据え置きはスーファミ以来買ってないから知らん
VITAは買わなくていい
後継機なんてもっといらない
これが一般人の感想だな
これ3DSちゃんがしんじゃう
勝てる見込みはないのにリングの上に立つ年老いたボクサーみたいな感じ
L3R3はそう使わないから表か裏のタッチでええし
「モンハンの出る3DSが至高。VITAは存在価値無し」とかほざいてる豚野郎が湧いているんだが?
そいつにも説法聞かせてやれよ
お前のお仲間なんだろ?
だから安心してNXの妄想を続けとけw もう馬鹿な自爆豚教祖も居ないことだし
任天堂に生きて欲しかったら一生懸命バイトしてその金でMHを毎日2本買いなされw
……様式美ですね~
どっかの半島連中を思い出すよ。追い込まれると急に被害者面し出す所とかね
俺も発売日に買ったPSPの2000番台まだ現役で動くし、初期型Vitaも発売日に買ったやつ1度も不具合も故障も無いね。
よほど革新的なアイディアがない限り携帯機をこれ以上スペックアップしても需要がないような・・・
任天堂みたいに奇形に走るのがユーザーにとって一番の害悪
別に手軽にやりたいって気持ちがあんまりないからPS4とマルチで出たりすると意味ないんだよね、個人的にはだけど
言うなればマルチのゲームを省いたゲームソフトの数がvitaの魅力
年老いたってw
3DSとVITAは同年の発売だぞw
それとも3DSがポンコツすぎて老兵にしか見えないからVITAも老兵に違いないっていう自虐ギャグか?w
いつまで幼児用の知育玩具で遊んでるんだよ・・・・
そろそろCERO Bくらいには進化しろよ
信者も任天堂も雑魚すぎ
もう一般人にはゲーム機を買うって考えが少ないかもね
つうか最近Vitaでしかゲームプレイして無いし
で、3DSのゲームで面白いの山ほどあるんだろ?教えてくれよ
俺の3DSがさっぱり動いてないんだ
全体的に安っぽくなったのは残念。3000に期待か
お前はすべてのコメントに「個人的には」を付けろ
それでようやく人様とお話し出来るようになると知れ
Vitaちゃん確かに3DSには負けたけど任天堂を追い詰めたんで仕事はしたでしょ
3DSのようなテロ行為をNXでまたやらかして、もし失敗したら任天堂きえちゃいますぜ
まぁあんま使ってなかったんだけどなw
ほれ、PSハードを叩かないと任天堂を誉められない奴が出てきたぞー
こいつらどうにかしてみろよ
こっちはこいつらがウザいから、追い返すために任天堂の事実を突き付けてるだけだぞ~
次々NX(笑)のゴミ性能露呈してきちゃってるし、Vitaネガキャンしてないと生きていけない可哀想な子達やな。
なんで意見言う時に客観的視点から入っていると考えてるのかわからない、個人的には
とりあえず寒い小芝居8割ゲーム画面2秒のCMじゃ興味すら持たれないよ
素直になればいいのに、無理に3DSを擁護しなくてもいいだよ
ガチの幼児向けゲームしか無いですやん
任天堂ゲーム専門誌
廃刊!!!
え?集まってる?何が?悲報?
ぐわっぐわっ^^
そもそもPS系は殆どCMしてないだろ
何があるのかな?何があるのかなー?
その面白いゲーム教えてみてくれよ?www
2011年(全88タイトル)2012年(全109タイトル)
2013年(全119タイトル)2014年(全100タイトル)
2015年(全85タイトル)2016年(15タイトル予定) ※4月30日発売タイトルまで
PlayStation Vitaのゲームタイトル(DL専用タイトル・限定版含まず)
2011年(全20タイトル)2012年(全65タイトル)
2013年(全92タイトル)2014年(全126タイトル)
2015年(全164タイトル)2016年(45タイトル予定) ※4月30日発売タイトルまで
PS1の時もそんなCM多かったけど、今のソニーのセンスは本当に寒い。ビルダーズのあれ何よ
努力の結果が、今回の記事だぞ?
お前は何を見てるんだ?
あの任天堂を再起不能寸前まで追い込んだんだぞ
再起不能にしたのはWiiUな
NXで倒産かな?
任天堂の事だろうがw
マジで何言ってんのか分からんわ
何の話をしているんだ、お前はw
そして出てくるとは捏造ソース
ファンボーイは一ミリのプライドすらないのか
ゴミーボの悪口はやめろ
専門誌まで廃刊にしておいて何言ってんだ
任天堂がゲームそのものを排除した結果なんだが
これらさえ付けば多少大きくなっても全然かまいませんよええ
マイクラを買った子供たちは可哀想になぁ。親と一緒に買いに行ったら美少女ラインナップでドン引き必至なんだから
これをVitaは発売予定予定ソフトが一番多いとほざくんだからソニー信者はカスたわ
Vitaのサードなんぞゴミを量産してるだけだろ
だからミリオンもいかないクソゲーしかないんだよね
DQBってスクエニのタイトルになんだが・・・
つーかお前脳味噌退化しすぎじゃね?
ゲームメーカーって任天堂とSCEしかないと思ってない?
脳味噌原人並だぞ、その認識
任天堂「数字いりじの課金やアミーボ・・・スマホでガチャもやりまっせw」
いい加減にしろよ
え?
ゴミすら出せない任天堂が
雑誌廃刊させたんだけど
どう責任取るの?
VITAは今年が飛躍の年になると思うぞ
スクエニが本腰入れてきたのが相当にデカイ
健全な市場あるゲーム機はVitaのように販売数によってゲームが増えていく
3DSは1-2年目超豪華ソフトを買い集めた、にもかかわらずまっとうな市場が作れず次第にしぼんでいく
こんな勝ちハードありえないんだよ、CSを殺したのは間違いなく任天堂
モンハン、FE覚醒、ルーンファクトリー、ゼルダ神、ポケモン、スマブラ、ドラクエモンスターズ、ゼノブレイド、世界樹、ブレイブリー、妖怪ウォッチ、牧場物語、ぶつ森
書き切れないぐらいあってごめんなwww
俺がやった中でもこんぐらいはあるんだわw
んで、VITAの面白いソフトって?www
>>800って、元々任天堂(岩田元社長)へのネタ?
二枚舌でゴチャゴチャ御大層な御託並べてたのはアイツぐらいだったし
できれば性能アップしつつVITA完全互換が最高
ビルダーズ売れればいいなぐらいの事しか言えないようじゃまたサムいCM流すのが関の山、マイクラブームが去れば元の木阿弥って流れのような気がする。
都合ってなんじゃいなw
もうぶーちゃんは2chにも居場所がなくなっちゃったからね
「VITAなんかすぐ撤退する」とか散々言い回ってた連中が顔真っ赤にしてるのが超ウケるw
クソゲーまでカウントするとか本当に追い込まれてるんだな
妖怪ウォッチってどんなゲーム
アニメ先行でゲームの話題をさっぱり見たことがないがどこがおもろいん?
あれを発売してから任天堂をはボロボロになった
あんなに売れてるはずなのに不思議だねw
何1つやってないのが丸わかりw
いつもより長文多くて本気でキレてんじゃん(´・ω・`)
ルンファしか良ゲー無いやん。結局いつものラインナップかよwww
糞雑魚はさっさと泣いて失せな(笑)
さすがに分厚くなるのはノーサンキュー
まぁ3DSの購買層はお子ちゃま向けだけに、パケものは金ドブ、DLCはゴミ、VCも死んだし、どうにもならんわ
っていうかL2R2の方がよっぽど大事だよ
マイクラはもはや文化的なインフラになりつつあるぞ
流行るとか流行らないとか、もはやそういうレベルじゃない
3DSみたいなクソ悪害ハード以外ではどこでも動くようになってるしな
おや?
廃刊堂の信者が
何か聞いた事あるタイトル並べて
書ききれないらしいぞ
2行弱しか書いて無いのに
もう書ききれないらしいぞ
ヒットしたFCやSFCを子供だけが楽しんでたと思ってるん?大人も取り込まないと海外のような盛り上りにはならないと思うよ。
携帯機だからだよ
“持ち運べる”利点が、ハードサイズが大きくなれば荷物としてかさばって利点が消えちゃうのよ
物理ボタンなら重量も増すし
メーカー的には利益、ユーザー的にはソフトが出てれば勝利だが···任天堂一人負けだな。
ごちゃごちゃ言うけど結局現実を動かす力はないという点でネトウヨの言説と瓜二つ
ゴキ=ネトウヨって説はかなり当たっていると思うよ
完全に見切りつけて次の奴に託そうって感じ
結局始まらないまま終わったなVITA
ぶっちゃけ今回スマホと同じアーキテクチャ使ってるから
今までよりかは世代交代時でもずっと互換は容易
同じ事はPS4→5への時にも言える、なのでVITA2は期待できるよ
俺はつけないで欲しいな
分厚くなくらいなら背面タッチのほうがマシ派
この特許の絵のままのハードが出るわけじゃないし
↑これを信じてた間抜けおる?
チョニーって煽ったり、ゴキがネトウヨだったり
設定ブレブレじゃんw
それならPS5の開発に力入れるべき
>ネトウヨ
……あー、お前はそっちの奴か(´・ω・`)
俺の勝ちか
ニートゴキブリ雑魚すぎる
まずはママと喋って社会性と語彙を取り戻してきなw
こいつ何言ってんの?
バグ?なに?インなんとかの人造人間?
脳みそバグってるぞ
外でやらない人も多いってデータもあったと思うが、SCEがどっちを取るかだなぁ
それとも全く新しい発想でLR2を入れてくるのか
どんだけぶーちゃんはVitaに嫉妬してんだよw
後継機の予定が出たら撤退準備なのか
じゃあ3DSもWiiUも去年の時点で撤退宣言した事になるなw
そうかそうか、そら良かったなw
笑ってやろうぜwww
そもそもなんで闘神だったんだろうか、アレ。
まあアリスソフトにはPSPに移植されていたシリーズもあったが、闘神ってアリスが抱えるタイトルの中でも一番工口抜いちゃダメな奴だからな。
しかし、あの闘神都市の後に東京からは撤退して、次のイブニクルが好調という事で任天ゾーンの闇の深さが修羅の国すらも凌駕すると判明した模様。
プロレスもヒール無しでは興行が成り立たんからね
ここで書き込みしてる人は、すでにvita持ってる人多いと思うよ
今までのVitaと併売する形でさ
スマホとタブレットのように自分のスタイルにあった方を選べるように出来たらいいな
早くママに妖怪メダル買ってもらいなさいよ―
CERO Aのお坊ちゃん
何粘着してるんすかね
任天はソフトラインナップ見ても
信者と子供専用機でしょう
PSと関係ない世界
ユーザーが望んでいるものを付けて欲しいね
LR2も
いや、Vitaちゃん黒字
MHが3DSに出た年から任天堂、会社始まって以来初の赤字、しかも3年
どっちが金の無駄をしたと思う?(´・ω・`)
御影が闘神都市が好きだった
それだけ
平気で10万超えそうだがw
PS最高だな
ソフトないし業界に何の意味も無いクソなんですがねえ
一方電撃PSは・・・
おやおや随分差がつきましたねえ
ファミ通ももうすぐPS通になるからな
ぷぷ
こういう特許とか出すときに秘蔵の新型のデザインなんて簡単に晒すわけもなく
概要を説明する例なんだからデザイン詳しく描く必要もないし
任天堂はCSとは別の市場で頑張るらしいからねw
本当に好きならマジでやらんと思うがな。少なくとも俺はアリスにCSの話を持ちかけるならどんなに好きでも闘神はない。
もう他に相手にされるプロジェクトが他に無かったんだと思うが。
討鬼伝、朧村正、テラリア、グランキングダム、グラビティデイズ、NFSMW、デモゲ、ドラクラ、
ソルサク、GE、ガンブレ、チャイルドオブライト、ワイプアウト、影牢、忍道2、オーディンスフィア
覚えてるだけでこれくらいあったわ
誰も話題にしなくなったら本当の終わり
ニシ君に感謝しよう
屑豚は宗教の関係でPS買えないんだしMH抱えて散らせてあげてれぼ皆平和になるからな。
業界の最底辺は今もNX(笑)出す出す詐欺で逃げ続けてるだけだしなww
>ママと喋って社会性と語彙を取り戻してきな
ってガキゲーを楽しんでるやつがママとかw
流石精神的ガキw
PSGKでどうや(´・ω・`)
アジア市場をもっと大きくしようって時にソニーが携帯機やめる訳ないんだよな。
だって任天堂アジアから撤退してるんだし、狙い目
「任天堂に肩入れする=自分は白痴であると自白する」
になってることに気付こうよ、良い加減
豚だってそれなりに年齢重ねているんだろ?
今は人形でせこせこ稼いでるけど今の社長は銀行上がりで前みたいな逆鞘での自爆はしない
NXは思ってる以上にしょぼいものになる
結構興味深い
言っておくがソニーが次世代機出す時は前世代機をダミーにして特許部分だけ表示すんの。
な の で 次 世 代 携 帯 機 で す 。
馬鹿はいい加減学習しろl。
次にヤツはこう言う
「マルチはノーカン!」とな。
仕様が変わるから後継機だろ
俺ならパスチャ3を猛プッシュするね
あれ別に工口無くても問題ないくらい面白いしストーリーも健全だし
まあな、その点PSPはシンプルにわかりやすかったな、あのPSがポータブルにてわかりやすさが
なのでVITA後継機はその辺はうまくやって欲しいね
あまり本当の事言っちゃ可哀想だよ。豚の中ではメダロットが大人向けらしいから。
前のメダロットの記事みたらマジで笑ったよ。コメが、「メダロットは子供向けじゃない!」って顔真っ赤な奴大量だったからね。
「本当に好きならやらんはず」ってのは発表された段階で誰もが思う事だが
御影がそういう人種じゃなかったってだけの話
そもそも御影がマトモな思考する人間に見えるか?
仕様いうてもタッチ操作が物理ボタンに置き換わるだけだろ
「ファミ通 売上」で出てくる通年の売上統計のが面白いと思うな
うわっくっせークソゲーだらけww
だからVITAは売れないんだよ、バカ
PS4発売したのが任天堂だったら
任天堂に喝采を送っていたのに
いや残念だわ―
残念だわ―
はは
VITAはスマホベースだからね
互換取るのも楽なはず
オレは2の方が好きなんだ。久々の新作もあってか、思い出補正影響もあり3はSRPGって時点で「えぇ…」ってなっちゃったよ。
2は多分工口ゲーの中で一番やり込んだゲームだわ。
観たけどモンハンクロスが王者の任天堂大勝利だったな
PSWのゲームはゴミ売上...(´;ω;`)
CERO A坊ちゃんまだいたの?
お年玉をクソみたいな幼児玩具に使うなよ?
ちゃんと貯金しましょうね―
VITAを十年選手になるとか言ってた奴居たが十年なんてまるでもたずに次世代機の話になっちまったな
ほんと録なソフトも出ずに終わるとか糞にも程があるわ…
該当タイトルを全部挙げたら、文字数制限でボツ食らった(´;ω;`)
家にあるVITAソフトのパケだけで数えて70本越え、DL専売だったり予定外で欲しくなったソフトが売り切れで~とかの理由でDL購入したのが…5本前後?
それにPSPソフトをVITAでやるのに落とした奴…は要らないか
書ききれません…
ポータブル2にはもう出来ないし
VITA2にするとわかりづらいネーミングを引き継ぐ事になるし
かといってまったく新しい造語にするとまたわかりづらいて言われるし
わりと難題だと思うわ
据え置きはナンバリングで一貫したのは大正解だったな
4は死を連想するからナンバリングやめるだろうなんて説もあったが、やめなくてよかった
新機能が付いてるみたいだよ
NEW VITAとして出すんでもなければ後継機の可能性
「ぼくのしってるソフトがいっぽんもありません>< どれがどうおもしろいのかおしえてください><」って書いた方が可愛げあるぞ
是非そうしろ
おいおい、真っ先に書かれている朧村正は元Wiiのソフトだぞ。
まあWiiの累計をVita版があっさり抜いたけど、しかし任天堂信者って見る目ねぇな。こんなにも面白いソフトが売れないとか、おぉ酷い酷い。
おいおい
なんで雑誌廃刊させたんだよ―
それは任天堂がクソだからです
?
あと4年は間違いなく戦い続けると思うよ?
つまりWiiUイマイチってことを認めるわけだな
次世代の話なんて誰もしてないんだけど?
ニンテンがNXとやらで世代交代するらしいが
クソ豚信者が勝手にVITAを巻き込んでるだけ
碌なソフトって何?
君の脳で理解できるCERO Aのゲームの事?
じゃあ3DSやっとけな?
テタイテタイ鳴けよwww
脳トレ系統その後どうなったよw そしてゆうちゃんの立場は・・・
「WiiUがイマイチだから消費者はPS4を買うしかなかった」って話をしておいて
次の行で奇形ギミック待望論とかマジで意味わからんw
いや、任天堂現行ハード二機種とも
って意味なんじゃないか?
え?
任天堂はゲーム出さないから廃刊なんだよ?
え?それが任天堂の戦略
やべえ
そりゃすげえ
はよ
豚を理解しようとしても無駄だからやめとけ
「性能をあげるだけ」この言葉にどれだけの苦労があるのかしらんのだろうなぁ
人が何を求めているのかが根本的に分かってないよな
形だけのスペックに騙される程日本人はアホじゃないんだよね
堂々と客と向き合い本当に求められている物を提供する
がっかりな事にソニーはこの客商売の基本が出来てない
何すればいいのか分からないのに金でソフト囲うだけだから
言わば、客のいない見た目だけ大きな市場が完成
うしろを見れば崖の窮地なのにミリオン無い時点で論外だわ
2019年くらいに後継機が出て
2021年くらいまではVITAのソフトも出続けるってパターンだろうな
くそっ!釣られかけた!
縦上手すぎでしょ~
信者は文句言う奴皮肉言う奴全員テタイテタイだぁああ!って目血走らせて激怒してるようだけど
引き続きヲタクマニア萌えヲタには神ハードであり続けると思うからそんなピリピリする必要もないんじゃね?
あぁ、本音では不満なんだろうな。外の世界に出ても皆がやってるのはスマホ(タブ)か3DSだもんな・・・
そんなよくわからんクソゲーを数だけ挙げられてもなぁ
VITA買った一般人も俺と同じ感想だと思うよ、だから売れないんだよ、わかった?
路上で泣きながら嘔吐してる奴を見るくらいのイメージでそっとみてやろうぜ?ww
キラーコンテンツ抱えて墜落するどこぞのハードみたいになるくらいなら
低空飛行のままゆっくり上っていく方がいいに決まってるだろw
VITAゲーをちまちま買い支えてたら何故かスクエニが参戦してきちゃって済まんな
割とマジで済まん
はちまうっはうはやで
2ch養豚所から逃げ出してきたんだって?
ってくらい活発に活動してんなwww
売上ミリオンは会社に何をもたらしましたか?
利になってない売上ほど意味のないものはないぞ
任天堂のゲーム誌が一つ、事実上の廃刊になりましたね~
人気があるならそんな自体にはそうそうならんでしょーよ
(そもそもvitaの記事なんだけど何言ってんのこの人)
VITA買った一般人とお前の目線が同じになってる理由がよくわからんわ
>>外の世界に出ても皆がやってるのはスマホ(タブ)か3DSだもんな・・・
最近外というか電車で3DSで遊んでいる子供は見ないが、何かずっとブツブツ言っている気持ち悪い奴だけはやたらと3DSで遊んでいる率高いから怖いわ。
せめてタカハシだろ
2月1日にはDQH2の新情報も来るしなw
VITAは大きく躓いて複雑骨折で再起不能レベル
この改善VITAは「ソニー携帯ゲーム機撤退論」を一時的に払拭するためだけの誤魔化しだろうね
New 3DSのようなリノベーションではなく在庫のスティックを取り替えるだけだから
本当にVITAで戦うつもりがあるならもっと抜本的な改革が必要だろう
全く逆の事態“しか”起きてないじゃないか~
携帯は任天堂の聖域とか思ってんのか知らんが
その馬鹿な消費者に目も向けられずヲタハードとして盤石の地位を確立した黒字ハードがありましてね
豚という言葉を使い、ソニーを誉めたてる人種
そういう輩がここに巣くってる
れん日のPS4の良い話ですら任天堂叩きに勤しみ
はなしはそれ以外を咲かさない人達
聞きしに勝る外道そのもの
くだらないゲームしかできず
耳も塞ぎ正しい情報ソースもねつ造だらけ
もう、こいつらを強制できる奴らはいないのだろう…
ただしいことを教えれる人はどこにいるのか
ずっと探し続ける毎日さ
そんなにNXがこわいか?
りのべーしょんは結構だが専用ソフトって何があったのかしら?
イライラぽんかぁ?w
(>>929はPS4の話をしてるんだが・・・)
急にNXww
むしろ早く出て欲しいわ
3DS&WiiUとかいうド産廃ハードが無くなれば業界も少しはマシになるだろうからな
それ、鏡に映った3DSやスマホをやってる人をにらみつけてるお前自身やで(´・ω・`)
キモーイ
ちょっと躓いて、持ってた資材をすべて川に落として取り返しがつかなくなったWiiU?
これと比べるとNXってまだイメージ段階でほとんど考えてません
って感じだったな
おお、そういえば今日でしたか体験版。
ありがたや。早速DLしなくては。
同意
DQ8やゼノブレイドみたいに名作を汚すはハード1日でも早く消えて欲しい
まあまあいけるぜw
VitaでもPS4でもそん色なさすぎて、逆に不満がないのが不満て何ぞw
いや、あれは特許は特許でもデザイン特許なんだと
アレでほぼ完成形
据え置きのコントローラーなのか、携帯機なのかは知らないけど
ブツブツ呟きながら揺れて3DSイジるのやめてくんない?満員電車でさ。
俺だけじゃなくて周りのみんなもお前の事睨んでるから。
遊びやすけりゃ形やサイズなんかどうでもいいよ
あの穴あき液晶で完成形なのか?
マジでヤバイだろ
ガワはあれで確定らしいNXは、今回のソニーの特許は次世代機への技術特許で
本体自体は非公開、なのでダミーのVita初期型になってる。
つかNXのコンセプトって
下手したらVITA・VITATV路線の可能性すらあるぞw
薄型での特許だよ。
物は小さく作るほど或いは大きく作るほど技術と閃きが必要になる。
独自規格は本当に恥ずかしいよ…ガチで
誰も真似しないんだから特許なんて取らないで良いのにね(´・ω・`)
任天堂の純正メモカと大差ない価格なんだがね
割られるほうが恥ずかしいわ
ぶーちゃん消えた(´・ω・`)
独自規格は割れ対策なんだから別に恥ずかしくない
ていうかサードがVITAに集まってる理由のひとつ
ぶっちゃけNXがSDカードだったらそれだけでサードがNXを見捨てる可能性すらある
それやらなかったから3DSが3日で割られてコピーされたりエミュ作られたりしてんだろ馬鹿
特許って使われないようにするものじゃなくて
お金払ったら使ってもいいよってものだから
使って欲しいんじゃないかな
独自規格って結局は自分の利益しか考えてないエゴ
自分達さえ儲かればいいという最低の姿勢だわ
のっけからユーザーにムダ金払わせる主戦どっぷり
似ても似つかぬハードメーカーが存在しているのが軽い恐怖だね
非の無い任天堂のユーザー第一姿勢を見習えばいいのに
BDとか失敗作を世に広めようとしたりして本当に迷惑
DSの頃からやはりゲーム業界を任天堂が引っ張るのが正しい業界の形だよ
マニアックな縦入れて来ましたね・・・
もう少し安くして欲しいよね
32Gで頑張ってるわ俺
作るのはやw
PSと戦ってると思ってるのは任天堂だけ
SCEはMH奪われてもなんとも思ってないよ、任天堂が勝手に踊ってるだけでVitaは黒字で3DSは赤字なんよ
偽ブルーレイをなかったことにするわけか
一部のソフトは動作重いねん…
改善されたら1000型から買い替えするぞ!
2行目もなんか文章になりかかってるぞw
3DS 1500万本で
Vitaは370万本で戦いになってないんだが?
しかも主力艦隊はほぼ任天堂一社でまかなってんだぜ❓
勝ち負けだとボロ負けだぜVita
読み込み早くする工夫とかもあるから高くなるのはまあしょうがないのかな
1500万売ってもVITAに勝てない、が正解だな
独自規格でもないのに・・・
ところがどっこい
任天堂のその多数の本数は5タイトルで儲けたものという空虚な物というw
お前妖怪ウォッチが好きなんだなw
いい加減成長しろおっさんw
だからSCEはそんな小さな市場で任天堂と戦ってないんだってば
MHに金を払えば3DSなんぞ簡単に消し飛ぶ、DSすら消し飛んだんだからね
でもそのMHに金を払うという行為は赤字を生むからやらない
SCEは世界の2億本市場を見てるわけで、たかが1500万本の市場のために任天堂みたく一生カプコンに頭上がらないジリ貧なりたくないんだよ
雑誌まで廃刊するほどのソフト不足情報不足
ミリオンがどうとか国内トップ10がどうとか
そんなものは土台が腐ってたら何の意味も無い
もう任天堂は終わったんだよ
見ろよゲーム屋の任天堂棚をよ
どこのトイザラスだよ
昨年の据え置きはマリオメーカーとスプラトゥーンが話題独占しちゃったしな
利益出てない任天堂の轟沈で大敗
戦いになってないって言われても、そもそも戦ってないから。
もう、お互い客層から何から全く違う土俵で商売してるんで。
で、任天堂は商売になってないから深刻なんだよ?
ちゃんと読めよ
そう、豚はそこには一切触れないのよ
「俺がトップだ!潔くその事実を認めろ!」と言いながら担架で運ばれてる状態
あちらさんにはすごく脅威デスネwww
もうこの二つの単語は意味を持たないといい加減認めるべきなんじゃないかな
ソニーがはカイガイカイガイでVita見捨ててんだし
現役ハードのパッケージのタイトル何一つ作らないハードメーカーはソニーが初だな
言われて悔しかったシリーズもそこまで落ちぶれると悲惨だな。
豚はね、モンハンやら妖怪ウォッチやら
携帯機(のソフト売上)しか誇ってないのよ(´・ω・`)
価値無しとか言ってやるなよ
フォースフィードバックと押し込みと両方らしい。
なかなか作るの上手いな
普通に読んじゃったよw
>任天堂のゲームの方が売れている
売れて無いから、任天堂はスマホに逃げてるんだが・・・
君って全く現実を見ないんだな…
数字は嘘つかないんだよなあ・・・
バンナム以下の任天堂
性能はPS4.2でフルHD
発売は2018年末と見た
売れてないからサードが寄り付かない廃墟になってるんだよ
ちゃんと機構まで設計したのを申請してる
それに対して任天堂
ボタンはどこにあるとか画面はどういう風なのとか、ただの配置図面でしかないんだよなぁ
VITAの方が市場として価値が有るとサードが認めてるから、ソフトが沢山出るんであってね…
日本人には任天堂
日本の任天堂専門誌が廃刊
え?え?え?ええええええええええええええええ
捨ててないかも、って記事ですやん
だからニシ君元気ないんでしょう?w
それらを求めて叶わず、それでも文字通り血を吐く思いで這いずり回って、
道半ばで力尽きた、某老舗玩具屋の前社長が切ないわぁ…
ほぼ任天堂だけの市場だけどそれでいいならどうぞどうぞ。
この記事のは技術特許だからね~
向こうの(NXかな?)はデザイン特許。見た目に関する特許だから
そのほとんどがPS4のついでにだけどな
今にPS4が単独で売上伸ばせるようになったらあっさり切り捨てられるのは間違いないよ
邪魔だったんだろ。これからスマホに行くのにさ。
3DSとWiiUはどうしてあっさり切り捨てられたの?
ゲームのビジネスモデルて基本、サードからのロイヤルティーだよね
ロイヤルティー収入が入らないとゲーム機出す意味ないじゃない?
へ~
PS4とのマルチってそんなにあったっけ?
ってか、マルチするなら本当は他のハードとの方が良いはずなんだろ?
嫌いだ嫌いだって言いながら、一周して好きになっちゃうパターンだよこれ
PS4とマルチなんてほんの一部だろ
何言ってんの?
別に構わないよ~(´・ω・`)
個人的にはVITAは2軍扱いで
携帯機を踏み台にして、もっと良いものがPS4(据え置き機)に出るようになる流れで落ち着いても
マイナーソフト目白押し。今PS4で活躍するソフトは自分が見つけた!
とか出来るし
実際にはサードに切り捨てられたのは任天堂でしたっと
日本の国内市場がPS4だけでまわるような状況になるのに、はたしてどれほどの時間がかかることやら。
VITAは、WiiDSの跳梁で喪った時間と国内サードの技術力を回復するためのリハビリ場。
なんせ旧3DSディスるくらいだからなぁ…
そっちの方が持ってる人多いのにw
前例踏襲なら1088pになるけど、携帯機でそこまでやるのはナンセンスな気もするし
PS4⬅︎本気モード
まあNXに逃げなくなるなら俺もそれでいいやw
PS4ってまだ国内200万台程度なんだが・・・
カイガイの話聞きすぎて感覚がおかしくなってないか、お前
任天堂としては「今旧3DS持っているユーザーが全員Newに買い換えればウッハウハじゃんw」的なノリなのかもしれんが、アレは逆効果だよなぁ…
ってか最近の任天堂の言動がマジでニシじみてきて怖いわ。
テンプレレス乞食米を貼るにしても、SCEの技術特許記事で貼るなやwww
LR2ボタンが欲しい。
メモカの制限でメーカーが作りずらい環境をどうにかしろ。
「おまけに今年はNXも出す。なあに、広告ドバドバ打ちまくればウチの客なんてイチコロよ!」みたいな感じもあるしなぁ・・・
というか、押し込んだ時の感触の伝え方が書いてあるようなものだな
画面で何かを掴んだ時にそれをスティック経由で触覚として伝わるとか、そういう奴
vitaも同じく価値無いんやで・・・
据置器だけで十分
8GBメモカはあるよ
コストの問題からメーカーが採用しないだけで
PS4に相応しいクオリティとかを実現するには、技術と開発費が必要
それを用意する為の場としての価値は、十分有るよ
任天堂軍 Wii U戦闘力13 3DS戦闘力91
MS軍 箱1戦闘力281
ゴミ
Ps4は240万wiiuは300万台で?60万台まで差が縮んでるんだけど?
煽りでも何でもなく、純粋に聞きたいだけだが何か不便あったっけ?
タッチパネル操作を押し込みに登録とか予備ボタンみたいになるんじゃね
VITAは500万台近くあるからPS4-VITAマルチは当面続くだろう、って話ね
vitaでソフトだしてるの殆ど日本メーカーだけじゃね?
のわりに洋ゲーには敵わない。市場の規模の違いのせいだろうけど。
海外ソフトメーカーはvitaに見向きもしてない。それでも凄い作品を作り上げてる。
vitaはなくても頑張れるんじゃない?
vita買い換えんのも馬鹿らしいけど
それなら買い替えてもいい
知らないのだろうけど、海外ではVitaにもいろいろ出してるメーカーはあるぞ
ローカライズされてないし日本には未配信のタイトルが多い・・・
から知らないのも当然な話
海外のインディーの有名どころは殆どVITAに参加してソフト出してるしそれなりに売れて市場作ってるよ。
俺も海外の垢用にVITA1個買ってソフト落としまくってる。海外+は豪華だしな。
マーセナリーキングスとダーケストダンジョンのVITA版はよでらんかな~
同じことしかできないアスペかよ
一番のアスぺが何を言うw
>この負荷は、アナログスティックの傾動方向に沿った方向に付与され、傾動方向と逆向きであってもよく、また同じ向きであってもよい。
これ、L3R3ボタンじゃなくて、フォース・フィードバックじゃん
ワンダースワン以来なんじゃ?wwwwwwwww
まあそれを言っちゃ例えばPSPも「アナログパッド二個有って、ちゃんとスティックを倒す形にして欲しかった」とかキリがないけど
どう考えてもスティックの重さを使ってユーザーにフィードバックする内容だよな
はちまはこれを見てどうして押し込み操作を追加だと思ったのかな?
外であの画質のMGS3ができるのは素晴らしい
MGS3さえ糞にしてしまうどっかのハードとは大違いやね
SCEはまだ見捨ててなかったのね
少しだけ希望が持てたよ
そして上部枠体150の側面150dには、バネによって付勢された押圧操作子181をバネの付勢力に抗して
押圧操作することによって切り換え操作される押圧操作型のスイッチ素子180が取り付けられている。このス
イッチ素子180の押圧操作子181は、第2連動部材162の腕164bの端部と対向する。スイッチ素子180は、
端子182を有し、この端子182は、上部枠体150の下縁に設けた取付け脚183、第1回転検出部153a
および第2回転検出部153bの端子184と同一方向に突出している。
181がL/R3のボタン
なんでソフト2本より高いんだよ
【課題】操作部に負荷を効果的に付与する技術を提供する。
この特許、そこ関係なくね?
いや、もうVITA死んでるしw
VITAが驚異だと思ったことは一度もないw
赤字垂れ流す3DSなんて脅威じゃねーよ
用途としてキャラの重量表現等での使用。重い物を押したりするとゲーム機側にも伝わる
据え置き機コントローラーにある振動みたいな機能が備わる
後継機での実装だな。
この特許には関係ないだけで
まだ公開されてないだけだろ
同じパーツでも仕組み別に特許とるのなんて普通のことだし
既に公知の技術に対して特許をとることはできませんが
【課題】操作部に負荷を効果的に付与する技術を提供する。
このための特許の中に>>1126の記述の
L/R3ボタンが発見されただけ
押し込みだけの仕組みじゃ態々特許取らないだろ普通
本当に貧弱な発想
その死んだハードに発売予定ソフト数が数倍差で負けてるってどういう気持ち?w
実施例に考えられうる構成を詰め込むとか普通だろ
それを実際組み込むかどうかは別の話
特許とったからって100%商品になるわけじゃないから
信じたくないなら別にお前は出ないと思ってればいいんじゃないかなw
ソニー 重くなるスティック
どっちが先進的か一目瞭然だなゴキ
有機ELの綺麗な発色とやらを体験してみたい
いや、特許申請してるのはスティックであって、押し込みボタンじゃないぞ
請求項読めよ
液晶内蔵のコントローラーとかコスト高そう
据え置きみたいに完成したハードで出してくれ、ソフトはアプデでいいからさ
WIIUにもDS4にもバツコンにも付いてるだろうがw
押し込みボタンはまだ公表されてないだけ?
アホ?
今まではコントローラにはついてたけど、携帯ゲーム機本体に押し込みスティックが付くのは新規性があり、特許の対象になるんだよ
vitaのは振り返れない
ならんよ
何をそんな頑なに否定してるんや(´・ω・`;)
特許書いたことないのか?
請求項以外は実施形態を示しているだけ
ありがちな構成を詰め込んだに過ぎない
vitaTVなんて誰も望んでねーよ
報道規制・参加国総貧困化・労働環境悪化・支出増加・ビザ大幅緩和etc.全分野に影響多数 アフィ日本人叩き煽り対立離間世論工作誘導多数 2月4日署名式の予定「TPPの21分野まとめ」「TPPまとめスレ 2ch」で検索
vitaTVすら買えない貧乏人乙www
まぁ普通にスペックアップでps4リモート強化に力入れて欲しい。
更にここはXMB回帰したら歓喜ものwwww
からの起源主張まで見えた
vitaのホーム画面正直嫌いだから
今後のPS4とVITAのマルチタイトル作品に恩恵あるかもな
アナログだけでなくスペックも当然あがってくるだろうし すごいソフト作れるようになるかも?
だからなくしてぇぇぇぇぇ!!
今更無くすメリットが無い
後継機には無くなっているかもしれないけど
特許自体はそっち
説明部分に携帯機でスティック押し込み機構が付いてるものが描かれてる
3月のGDCで発表だろうな ちょっと興味あるわ
てか今でもあってないようなもんだろ
Vitaは日本がメインになっちゃってるから、Vita市場が縮小するまでは発表はないだろうし、
当然発表もTGSだろう。
あと、28nmより狭いプロセスは生産面で微妙な感じだし、無理してコスト高のものは出せないだろう。
今じゃプロセスの微細化でコストダウンというのは厳しいし。
そもそもvitaのCPUはアーキテクチャ古すぎて今でも大量に量産できてるのかね?
別にCPUGPU自体は汎用性のあるものだから現行のアーキテクチャに一新しても互換に問題はなさそうだし
個人的には現行vitaはスマホ成長途中で作られたから新型より次世代のほうに期待したい
振動機能もお願い!!
FPSは振動ないとあかんのや
死ね
とっとと有機ELに戻してくれ
PSO2で左スティックを回避に使うとめっちゃ捗るでw
振動のせいで落としたらどないするんや
知らんかった
アーキテクチャの話をするなら、VITAはARM+PowerVRだから
いつでも互換性保ったまま最新の仕様にスイッチできますよ?
チミはナニを言っとるのかネw
XMBが一番良かったな
ライブエリアは確かにクソUI
>申請だしたのが結構前でやっと通ったってこと?
基本的に申請したらどんな内容でも特許庁からこんな風に世の中に公開されるんだよ
遅くても申請から1年半以内にね
これが特許として認められるかどうかは分からないし、認められるような内容だとしても時間はまだ掛かる
ボタン増えると操作系変わっちゃうから旧型と互換とれなくなる
基本スペックアップ系もそうだけど、旧型と動作互換とれなくなるようなアプグレはやらん
数少ない例外がNew3DSだが、あれがどれほど売れてどれほど専用ソフト出たか見ればお察し
L2R2が無いとリモートプレイがやりにくいし
中指と薬指にグリップが欲しい
一回落としてヒビ入ったわ…
不可能ではないだろうけど携帯機だとちょっとなぁ
壊れやすそうだからいらない。おとなしくPS4でやってくれ
いや豚の好きにはさせないwww
「させない」とか不要でしょ。
そもそも豚が考える事自体が実現不能なんだからw
据え置きのコントローラならスティックのユニット丸ごとスイッチの上に載せるだけで済むけど、携帯機だとそれをやるスペースがないんで色々省スペースで実現できる構造を考えないとならない。
それ以降はもうスペックアップする必要ないもんな。
1080pのストリーミングで据え置き機の子機として使えればもうそれ以上は望まない。
押し込みじゃなくてスティックの傾きによって、下に仕込まれたアナログスイッチの押し下げ量が変化して、方向と倒した量をそれぞれ別に検出できる機構。
縦軸横軸の回転だけで検出できそうに感じるけど、たとえば右上に限界まで傾けた状態だと上にも右にも0.7くらいの傾きを検出した状態にしかならない。
ソフト的にそれを補正することも出来るけど、この機構の場合は底面にスティックの方向問わず傾きで押し込まれる機構が存在することで、ハード的に純粋な傾き量の取得が出来るのでソフト的な補正をする必要がない。
スティックの動作する枠を四角くして、斜め方向だけ1.4倍倒せるようにすれば軸の検出だけでもいけるが操作感がわるくなる。
おいおいPS3時代にどれだけ古いGPUを生産してたと思ってんだw
デュアルショック要らなくなる
SEGAだと思ってGGってみたけどHITしなかった
ジリオンのこと?
外付けUMDドライブ作れば
vitaTVなら接続できそう
そういうのが、任天堂には作れなかったけど、本当ならまともなWiiUじゃん。
これだろう
ありがとう
もしかしたらそれかもしれない
でも振動機能があった製品のCMを見た記憶が・・・(昔だからかなり曖昧)・・・
UMDの時と違って、カードスロットに後方互換があればプラットフォームの刷新が障壁ではなくなるし
Vita 3000は出すメリットなさすぎて絶対でないと思う。需要が1000と2000で賄えてしまってるから。
据え置き機並のダイサイズなら話は別だが、Vitaの場合は3000の新規設計に掛かる費用がSoCのシュリンクでコストを削減できるメリットを上回ると思う
しかし、どうせ対応ソフトほとんど出ないんだろうなぁ…
ついでにR2L2も追加してくれてもええんやで
来年も再来年も無いだろう
SCEも「マイクラが売れてきたのに水を掛るようなマネはしたくない」って言ってたしな
まあ、メモリを増量した3000型なら喜んで買い増しするが
発売は年末な訳だから、来年だとしても実質2年、再来年だとしたら実質3年だよ。3年は長いよ
2万5000円の新型でVitaソフトも動きカードがスロットも刺されば、それが実質3000みたいなもんだと思う
ソフトが対応しなきゃ何のために付けるのか分からなくなるし、やるなら後継機だな
新機種でVita互換ありなら欲しい
この頃はフリヲとか俺屍2とかSCEがVitaにかなり力を入れてた時期
当時は後継機を考えてたかもしれないけど現状を見るとお蔵入りっぽいね
new3DSみたいに、RLの内側につけるだけでも大分アーカイブスやりやすくなるんだけどなぁ
殆ど同じ奴がレスしまくってるだけじゃんw
あ、任天堂信者とかじゃないんでw
リモートプレイでps3のソフト全般できるようになったら文句ない。